GM Service Manual Online
For 1990-2009 cars only
Makes
🢒
Chevrolet
🢒
2000
🢒
Venture Ext.
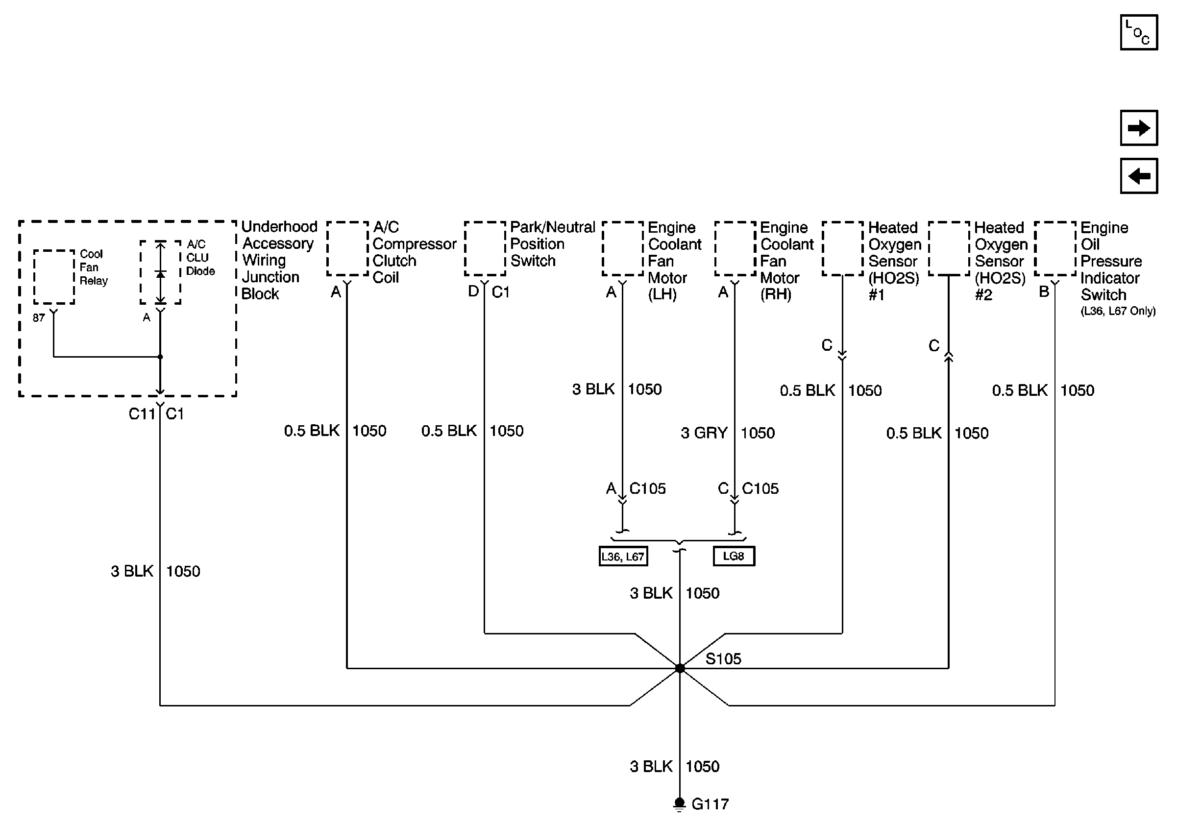
🢒 G117
G117
G117
Power and Grounding Components
G119
G100, G111 and G113