GM Service Manual Online
For 1990-2009 cars only
Makes
🢒
Chevrolet
🢒
2003
🢒
Venture Ext.
🢒
Suspension
🢒
Rear Suspension
🢒 Control Arm Bushing Replacement
Tools Required
•
J 28685
Rear Suspension Bushing Remover/Installer
•
J 9519-E
Ball Joint Remover/Installer Kit
Removal Procedure
Raise and support the vehicle. Refer to
Lifting and Jacking the Vehicle
in General Information.
Use a utility stand in order to support the control arm forward of the coil spring.
Remove the control arm bolts from the rear axle. Refer to
Rear Axle Replacement
.
Use the utility stand in order to lower the rear axle enough to gain access to the control arm bushing.
Mark the orientation of the control arm bushing in the lower control arm.
Use the
J 28685
and the
J 9519-E
in order to remove the control arm bushing.
Installation Procedure
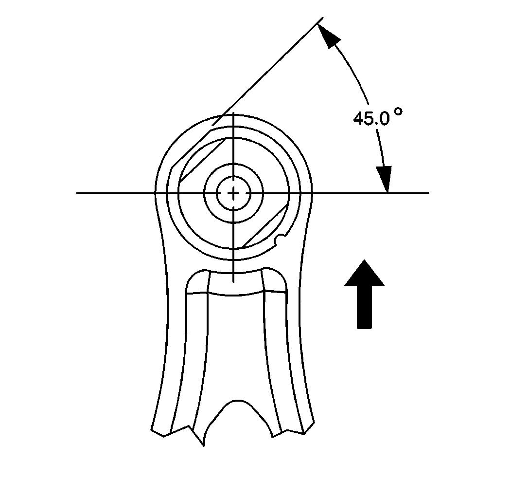
Align the flat edge of the bushing with the mark on the control arm in order to install the bushing at a 45 degree angle.
Use the
J 28685
and the
J 9519-E
in order to install the control arm bushing.
Important:
The bushing must extend 9.8 mm (0.39 in) from the control arm.
The bushing is installed to the proper depth when the end of the bushing is aligned with the indicator line on the
J 28685
.
Use the utility stand in order to raise the rear axle.
Install the control arm bolt to the rear axle. Refer to
Rear Axle Replacement
.
Remove the utility stand.
Lower the vehicle.