GM Service Manual Online
For 1990-2009 cars only

If a tire goes flat, avoid further tire and wheel damage by driving slowly to a level place. Turn on your hazard warning flashers.

Caution: Changing a tire can be dangerous. The vehicle can slip off the jack and roll over or fall on you or other people. You and they could be badly injured or even killed. Find a level place to change your tire. To help prevent the vehicle from moving:

  1. Set the parking brake firmly.
  2. Put the shift lever in P (Park).
  3. Turn off the engine and do not restart while the vehicle is raised.
  4. Do not allow passengers to remain in the vehicle.
To be even more certain the vehicle will not move, you should put blocks at the front and rear of the tire farthest away from the one being changed. That would be the tire, on the other side, at the opposite end of the vehicle.


Object Number: 808417  Size: B4

The following steps will tell you how to use the jack and change a tire.

Removing the Spare Tire and Tools


Object Number: 808638  Size: A3

The tools you will need are located in the storage compartment at the rear of the vehicle, on the passenger's side.

To remove the tools, do the following:

  1. Remove the side convenience net.
  2. Open the jack storage compartment by lifting up the tab and pulling the cover off.

    1. Object Number: 811533  Size: B3

      Jack

      Strap

      Bracket

      Wing Nut

      Jacking Instructions

      Bag and Tools

      Tire Bag and Cable (All-Wheel Drive (AWD) only)

  3. Remove the jack and jacking tools by loosening the wing nut and bracket.
  4. Separate the plastic pouch from the jack and remove the jacking tools, including the folding wrench and extension, from the pouch.

Object Number: 808634  Size: B3

The tools you will be using include the jack (A), extension (B) and folding wrench (C).

The compact spare tire is located under the rear of the vehicle. See "Compact Spare Tire" later in this section for more information about the compact spare.

To remove the compact spare tire, do the following:


Object Number: 808423  Size: B3
  1. Hoist Shaft

  2. Hoist Assembly

  3. Retainer

  4. Compact Spare Tire

  5. Extension (Chisel End)

  6. Folding Wrench

  1. Attach the folding wrench to the extension and insert the chisel end on an angle through the hole in the rear bumper and into the hoist shaft.
  2. Turn the folding wrench counterclockwise to lower the compact spare tire to the ground. Continue to turn the wrench so the compact spare tire can be pulled out from under the vehicle.

  3. Object Number: 808486  Size: B4
  4. To remove the compact spare tire from the cable, tilt the retainer at the end of the cable so it can be pulled up through the wheel opening.
  5. If your vehicle is an AWD vehicle, after removing the compact spare tire, turn the wrench clockwise to raise the cable back up.
  6. On an AWD vehicle, you can not store a full-size tire under the vehicle. It should be stowed inside the vehicle by the cable provided. See "Storing the Flat Tire on an All-Wheel-Drive Vehicle" later in this section.

    If you have a front-wheel-drive vehicle, the hoist is used to store a full-size or a flat road tire under the vehicle. See "Storing the Spare Tire and Tools" and "Storing the Flat Tire on a Front-Wheel Drive Vehicle" later in this section.

If the compact spare tire will not lower, check under the vehicle to see if the tire is hanging loose and the cable end and spring under the wheel plate are missing. If so, the secondary latch system is engaged. See "Secondary Latch System" later in this section.

To continue changing the flat tire see "Removing the Flat Tire and Installing the Spare Tire" later in this section.

Secondary Latch System

Your vehicle may have an underbody mounted tire hoist assembly equipped with a secondary latch system. It is designed to stop a tire from suddenly falling off your vehicle if the cable holding the spare tire is damaged. For the secondary latch to work, the tire must be stowed with the valve stem pointing down.

Front-wheel-drive vehicles use the underbody tire hoist assembly to store either the compact spare or a flat road tire. See "Storing a Flat or Spare Tire and Tools" later in this section for instructions on storing the spare or flat tire correctly.

If your vehicle is equipped with AWD, the underbody tire hoist assembly stores only the compact spare tire. See "Storing the Spare Tire and Tools" later in this section for instructions. To store a flat full-size tire correctly, see "Storing the Flat Tire on an All-Wheel-Drive Vehicle" later in this section.

Caution: Before beginning this procedure read all the instructions. Failure to read and follow the instructions could damage the hoist assembly and you and others could get hurt. Read and follow the instructions listed next.

To release the spare tire from the secondary latch, do the following:

    Caution: Someone standing too close during the procedure could be injured by the jack. If the spare tire does not slide off the jack completely, make sure no one is behind you or on either side of you as you pull the jack out from under the spare.


    Object Number: 812746  Size: B3
  1. Place the jack under the vehicle, ahead of the rear bumper. Position the center lift point of the jack under the center of the compact spare tire.
  2. Turn the folding wrench clockwise to raise the jack until it lifts the secondary latch device under the wheel plate.
  3. Keep raising the jack until the compact spare tire stops moving upward and is held firmly in place, this lets you know that the secondary latch has released.
  4. Lower the jack by turning the folding wrench counterclockwise. Keep lowering the jack until the compact spare tire is resting on the folding wrench.

  5. Object Number: 806548  Size: B3
  6. Grasp the compact spare tire with both hands and pull it out from under the vehicle.
  7. Reach under the vehicle and remove the folding wrench and jack.

Have the hoist assembly inspected as soon as you can. You will not be able to store a spare or flat tire using the hoist assembly until it has been repaired or replaced.

Removing the Wheel Covers

If the wheel has a center cap, use the handle of the folding wrench to pry it off. Then, with the other end of the folding wrench, loosen the nuts.


Object Number: 812757  Size: B3

If your vehicle has the plastic bolt-on wheel covers, loosen the bolts completely using the folding wrench, and remove the wheel cover.

Removing the Flat Tire and Installing the Spare Tire


    Object Number: 811580  Size: A2

    Loosen the wheel nuts - but do not remove them - using the folding wrench. Turn the handle about 180 degrees, then flip the handle back to the starting position. This avoids taking the wrench off the lug nut for each turn.

  1. For wheels with a wheel lock key, use the wheel lock key between the lock nut and folding wrench. The key is supplied in the front passenger door pocket.
  2. Notice: If this vehicle has wheel locks and an impact wrench is used to remove the wheel nuts, the lock nut or wheel lock key could be damaged. Do not use an impact wrench to remove the wheel nuts if this vehicle has wheel locks.


    Object Number: 811585  Size: A3

    Near each wheel, there is a notch in the vehicle's body. Position the jack and raise the jack head until it fits firmly into the notch in the vehicle's frame nearest the flat tire.

    Notice: If a jack is used to raise the vehicle without positioning it correctly, the vehicle could be damaged. When raising the vehicle on a jack, avoid contact with the rear axle control arms.

  3. Do not raise the vehicle yet. Put the compact spare tire near you.
  4. Caution: Getting under a vehicle when it is jacked up is dangerous. If the vehicle slips off the jack you could be badly injured or killed. Never get under a vehicle when it is supported only by a jack.

    Caution: Raising your vehicle with the jack improperly positioned can damage the vehicle and even make the vehicle fall. To help avoid personal injury and vehicle damage, be sure to fit the jack lift head into the proper location before raising the vehicle.


    Object Number: 808425  Size: A2
  5. Attach the folding wrench to the jack, and turn the wrench clockwise to raise the jack head a few inches.
  6. Raise the vehicle by turning the folding wrench clockwise in the jack. Raise the vehicle far enough off the ground so there is enough room for the compact spare tire to fit under the wheel well.
  7. Remove all the wheel nuts and take off the flat tire.

  8. Object Number: 811105  Size: A2

    Remove any rust or dirt from the wheel bolts, mounting surfaces and spare wheel.

    Caution: Rust or dirt on a wheel or other parts to which it is fastened, can make the wheel nuts become loose and eventually the wheel could come off and cause a crash. Always remove all rust and dirt from wheels and other parts.

    Caution: Never use oil or grease on bolts or nuts because the nuts might come loose. The vehicle's wheel could fall off, causing a crash.

  9. Install the compact spare tire and put the wheel nuts back on with the rounded end of the nuts toward the wheel. Tighten each nut by hand until the wheel is held against the hub.

  10. Object Number: 811586  Size: B3
  11. Lower the vehicle by attaching the folding wheel wrench to the jack and turning the wrench counterclockwise. Lower the jack completely.

  12. Object Number: 808642  Size: A2

    Tighten the wheel nuts firmly in a crisscross sequence, as shown.

    Caution: Wheel nuts that are improperly or incorrectly tightened can cause the wheels to become loose or come off. The wheel nuts should be tightened with a torque wrench to the proper torque specification after replacing. Follow the torque specification supplied by the aftermarket manufacturer when using accessory locking wheel nuts. See Capacities and Specifications for original equipment wheel nut torque specifications.

    Notice: Improperly tightened wheel nuts can lead to brake pulsation and rotor damage. To avoid expensive brake repairs, evenly tighten the wheel nuts in the proper sequence and to the proper torque specification. See Capacities and Specifications for the wheel nut torque specification.

  13. Do not try to put a wheel cover on the compact spare tire. It will not fit. Store the wheel cover securely in the rear of the vehicle until you have the flat tire repaired or replaced.
  14. Notice: Wheel covers will not fit on your vehicle's compact spare. If you try to put a wheel cover on the compact spare, the cover or the spare could be damaged.

Storing a Flat or Spare Tire and Tools

Caution: Storing a jack, a tire, or other equipment in the passenger compartment of the vehicle could cause injury. In a sudden stop or collision, loose equipment could strike someone. Store all these in the proper place.

Caution: The underbody-mounted spare tire needs to be stored with the valve stem pointing down. If the spare tire is stored with the valve stem pointing upwards, the secondary latch will not work properly and the spare tire could loosen and suddenly fall from the vehicle. If this happened when the vehicle was being driven, the tire might contact a person or another vehicle, causing injury and damage to itself. Be sure the underbody-mounted spare tire is stored with the valve stem pointing down.

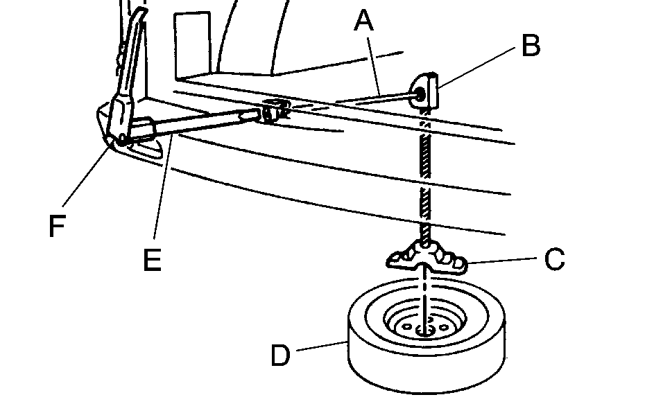
Storing the Spare Tire and Tools

  1. Lay the tire near the rear of the vehicle with the valve stem down.
  2. If the vehicle has aluminum wheels, remove the small center cap by tapping the back of the cap with the extension of the shaft.
  3. Slide the cable retainer through the center of the wheel and start to raise the tire.
  4. Make sure the retainer is fully seated across the underside of the wheel.

  5. When the tire is almost in the stored position, turn the tire so the valve is towards the rear of the vehicle.
  6. This will help when you check and maintain tire pressure in the spare.

  7. Raise the tire fully against the underside of the vehicle. Continue turning the folding wrench until you feel more than two clicks. This indicates that the compact spare tire is secure and the cable is tight. The spare tire hoist cannot be overtightened.

  8. Object Number: 811589  Size: B4

      Push and Pull

      Turn Tire

  9. Make sure the tire is stored securely. Push, pull, and then try to turn the tire. If the tire moves, use the folding wrench to tighten the cable.

Put back all tools as they were stored in the jack storage compartment and put the compartment cover back on.

To put the cover back on, line up the tabs on the right of the cover with the slots in the cover opening. Push the cover in place and push down the tab so that it rests in the groove. This secures the cover in place.


Object Number: 811595  Size: B4
  1. Strap

  2. Bag and Tools

  3. Jack

Store the center cap or the plastic bolt-on wheel covers until a full size tire is put back on the vehicle. When you replace the compact spare with a full-size tire, reinstall the bolt-on wheel covers or the center cap. Hand-tighten them over the wheel nuts, using the folding wrench.

Storing the Flat Tire on a Front-Wheel Drive Vehicle

Follow the previously listed procedure for storing a spare tire.

Storing the Flat Tire on an All-Wheel-Drive Vehicle

  1. Remove the tire storage bag and cable package from the jack storage area.
  2. If the vehicle has aluminum wheels, remove the small center cap by tapping the back of the cap with the extension of the shaft.
  3. Put the flat tire in the tire storage bag and place it in the rear storage area with the valve stem pointing toward the front of the vehicle.

    1. Object Number: 812748  Size: B3

      Cable

      Liftgate Hinges

      Door Striker

  4. Pull the cable through the door striker and the center of the wheel.

  5. Object Number: 812750  Size: A2

    Hook the cable onto the outside portion of the liftgate hinges.

  6. Pull on the cable to make sure it is secure.

  7. Object Number: 812751  Size: A2

    Make sure the metal tube is centered at the striker. Push the tube towards the front of the vehicle.

  8. Close the liftgate and make sure that it is latched.