| Figure 1: |
Turn Signal/Hazard Lamp Control
|
| Figure 2: |
Stop Lamps
|
| Figure 3: |
Marker, Front Park, and Rear Turn Signal Lamps, and Turn Indicators
|
| Figure 4: |
Side Mirror Turn Indicator Lamps
|
| Figure 5: |
Park Lamp Control, Rear Park and License Lamps
|
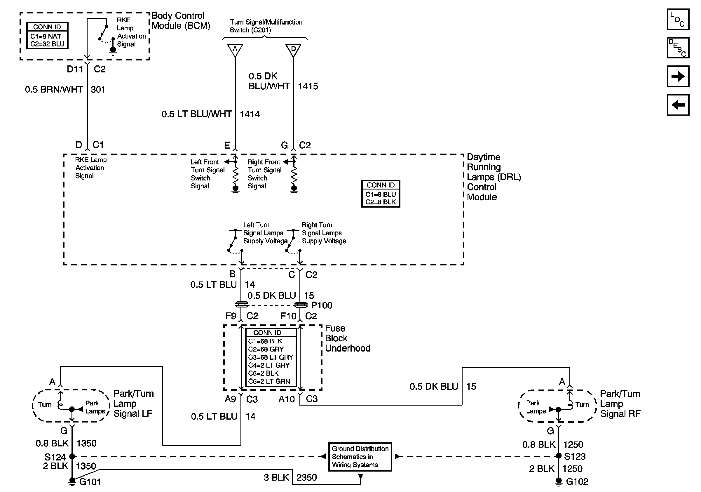
| Figure 6: |
Front Turn Signal Lamps
|
| Figure 7: |
Trailer Wiring
|
| Figure 8: |
Backup Lamps
|
| Figure 1: |
Hazard Lamp/Turn Signal Flasher and Turn Signal Switch
|
| Figure 2: |
Turn and Side Marker Lamps
|
| Figure 3: |
Headlamp Position Lamps/License Lamps
|
| Figure 4: |
Tail Lamps
|
| Figure 5: |
Stop Lamps and CHMSL
|
| Figure 6: |
Trailer Wiring, Power and Ground
|
| Figure 7: |
Backup Lights
|