GM Service Manual Online
For 1990-2009 cars only
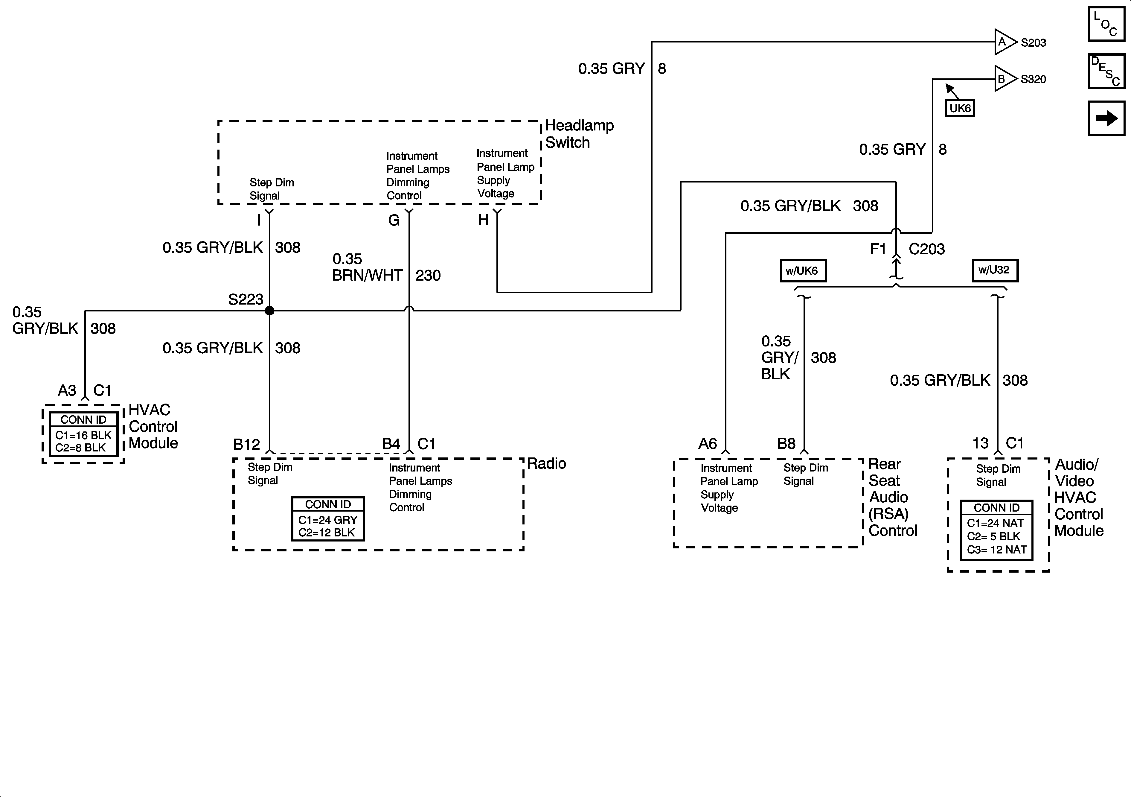
Figure 1:

Headlamp and I/P Lamp Dimmer Switch


Object Number: 696429  Size: FS
Master Electrical Component List
Interior Lighting Systems Description and Operation
Heater-AC Control Switches and Instrument Panel Cluster (IPC)
Heater-AC Control Switches and Instrument Panel Cluster (IPC)
Rear Window Wiper/Washer and Multifunction Switch, Window and Door Lock Switches
Figure 2:

Heater-A/C Control Switches and Instrument Panel Cluster (IPC)


Object Number: 696434  Size: FS
Master Electrical Component List
Interior Lighting Systems Description and Operation
Rear Window Wiper/Washer and Multifunction Switch, Window and Door Lock Switches
Headlamp and I/P Lamp Dimmer Switch
Headlamp and I/P Lamp Dimmer Switch
Rear Window Wiper/Washer and Multifunction Switch, Window and Door Lock Switches
Rear Window Wiper/Washer and Multifunction Switch, Window and Door Lock Switches
Rear Window Wiper/Washer and Multifunction Switch, Window and Door Lock Switches
Rear Window Wiper/Washer and Multifunction Switch, Window and Door Lock Switches
Rear Window Wiper/Washer and Multifunction Switch, Window and Door Lock Switches
G200, Page 3 of 3
Ground, Memory Seat Switch, and Memory Seat Module (MSM)
G200, Page 2 of 3
G200, Page 1 of 3
SIR Caution for Zoning
Figure 3:

Rear Window Wiper/Washer and Multifunction Switch, Window and Door Lock Switches


Object Number: 696443  Size: FS
Master Electrical Component List
Interior Lighting Systems Description and Operation
Interior Lamp and Multifunction Switch, Driver Information Center (DIC) and Rel
Heater-AC Control Switches and Instrument Panel Cluster (IPC)
Heater-AC Control Switches and Instrument Panel Cluster (IPC)
Heater-AC Control Switches and Instrument Panel Cluster (IPC)
Heater-AC Control Switches and Instrument Panel Cluster (IPC)
Heater-AC Control Switches and Instrument Panel Cluster (IPC)
Heater-AC Control Switches and Instrument Panel Cluster (IPC)
Headlamp and I/P Lamp Dimmer Switch
Interior Lamp and Multifunction Switch, Driver Information Center (DIC) and Rel
G200, Page 1 of 3
G302, Page 2 of 3
G402
G302, Page 2 of 3
G302, Page 2 of 3
G201
Figure 4:

Interior Lamp and Multifunction Switch, Driver Information Center (DIC) and Release Actuator Switch


Object Number: 696451  Size: FS
Master Electrical Component List
Interior Lighting Systems Description and Operation
Rear Window Wiper/Washer and Multifunction Switch, Window and Door Lock Switches
Rear Window Wiper/Washer and Multifunction Switch, Window and Door Lock Switches
Left Door PSD Switches, Park/Neutral Switch and RCDLR
Left Door PSD Switches, Park/Neutral Switch and RCDLR
Rear Quarter Windows
G302, Page 1 of 3
G200, Page 3 of 3