GM Service Manual Online
For 1990-2009 cars only
Figure 1:

LH Side of I/P, Under I/P, Left of HVAC


Object Number: 850738  Size: LF
(1)Daytime Running Lamps (DRL) Control Module
Figure 2:

RH Side of I/P, Above Base of Steering Column


Object Number: 447381  Size: LF
(1)I/P Harness
(2)Turn Signal/Hazard Flasher Module
(3)Steering Column Extension Bracket
Figure 3:

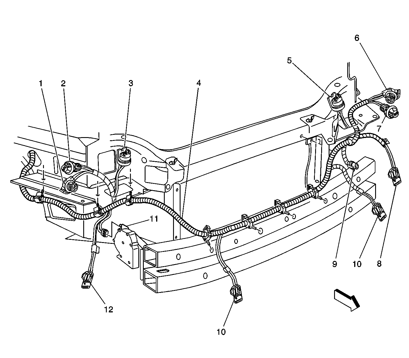
Front of Vehicle


Object Number: 627120  Size: LF
(1)Park/Turn Signal Lamp-RF
(2)Marker Lamp-RF
(3)Headlamp Assembly Connector-Right
(4)Forward Lamp Harness
(5)Headlamp Assembly Connector-Left
(6)Park/Turn Signal Lamp-LF
(7)Marker Lamp-LF
(8)Fog Lamp-LF (Pontiac)
(9)Horn-Left
(10)Fog Lamp-LF, RF (Oldsmobile)
(11)Horn-Right
(12)Fog Lamp-RF (Pontiac)
Figure 4:

LH Side of I/P


Object Number: 447374  Size: LF
(1)I/P Harness
(2)Headlamp Switch
Figure 5:

Front of Roof Headliner (Interior Lamp and Multi-function Switch Assembly)


Object Number: 816424  Size: LF
(1)Interior Lamps Override Switch
(2)Power Sliding Door On/Off Switch -- Left, Power Sliding Door Open/Close Switch --Left
(3)Power Sliding Door On/Off Switch -- Right, Power Sliding Door Open/Close Switch --Right
(4)Rear Quarter Window Switch
(5)Rear Parking Aid Overide Switch
(6)Onstar Button Assembly
(7)Interior Lamp and Multi-function Switch Assembly
Figure 6:

Rear Roof Headliner


Object Number: 447289  Size: LF
(1)Roof Rail Reading Lamp-RF
(2)Roof Rail Reading Lamp-RR
(3)Cargo Lamp
(4)Roof Rail Reading Lamp-LR
(5)Dome Lamp
Figure 7:

Top of Liftgate


Object Number: 447256  Size: LF
(1)Center High Mounted Stop Lamp (CHMSL)
(2)Connector to CHMSL
(3)Liftgate Harness
(4)Liftgate
(5)Rear Window Washer Nozzle
Figure 8:

License Lamps


Object Number: 625750  Size: LF
(1)License Lamps
Figure 9:

I/P Compartment Lamp Switch


Object Number: 625812  Size: LF
(1)I/P Compartment Lamp Switch
Figure 10:

Cigar Lighter Lamp


Object Number: 625816  Size: LF
(1)Cigar Lighter Lamp
Figure 11:

Turn Signal/Multi-function Switch


Object Number: 626559  Size: LF
(1)Turn Signal/Multi-function Switch
Figure 12:

Fog Lamp Module-Rear (Export)


Object Number: 626562  Size: LF
(1)Fog Lamp Module-Rear (Export)
Figure 13:

Forward Lamp Assembly


Object Number: 626563  Size: LF
(1)Park/Turn Signal Lamp
(2)Park/Turn Signal Lamp-RF Bulb
(3)Marker Lamp-RF
(4)Forward Lamp Harness
(5)Headlamp Assembly-Right
(6)Headlamp Position Lamp-Right (Export)