GM Service Manual Online
For 1990-2009 cars only
Makes
🢒
GMC_Truck
🢒
2003
🢒
Envoy - 4WD
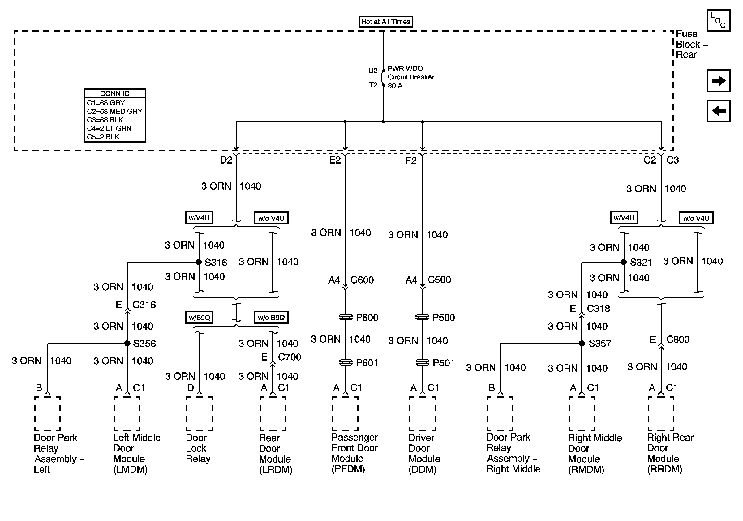
🢒 Rear Fuse Block- PWR WDO Circuit Breaker
Rear Fuse Block- PWR WDO Circuit Breaker
PWR Window Circuit Breaker
Master Electrical Component List
Rear Fuse Block- NAV Fuse and PWR SEAT Circuit Breaker
Rear Fuse Block- AUDIO AMP, EXPORT LTG/PWR LK Fuses