GM Service Manual Online
For 1990-2009 cars only
Makes
🢒
GMC_Truck
🢒
2003
🢒
Envoy - 4WD
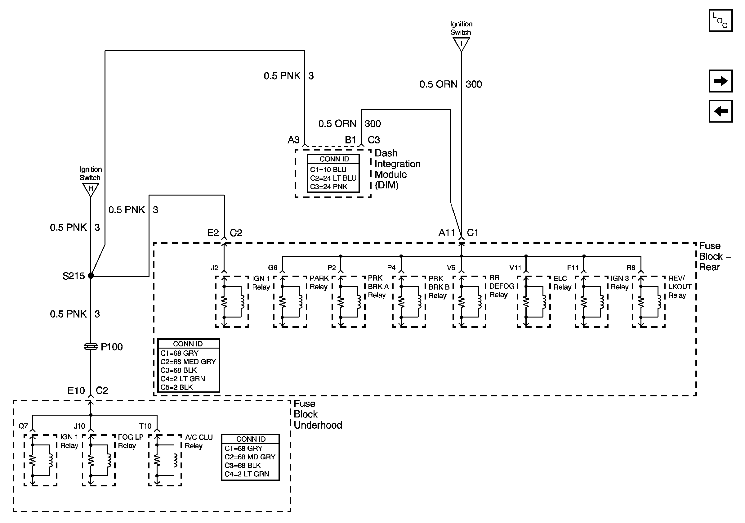
🢒 Ignition Feeds to Underhood and Rear Fuse Blocks
Ignition Feeds to Underhood and Rear Fuse Blocks
Ignition Feeds to Underhood and Rear Fuse Blocks
Master Electrical Component List
Rear Fuse Block- MEM TT, RRLUM/PWR ANT, HTDST LF Fuses
Ignition Switch
Ignition Switch
Ignition Switch