GM Service Manual Online
For 1990-2009 cars only

SERVICE MANUAL UPDATE - SEC. 7 TRANS. UNIT REPAIR INFORMATION

SUBJECT: TRANSMISSION UNIT REPAIR INFORMATION

MODELS: ALL 1993 LIGHT DUTY TRUCKS WITH HYDRA-MATIC 4L60-E TRANSMISSION

The following represents new product information for Section 7Al4B in the 1993 Light Duty Truck Unit Repair Manual. This information has been updated since publication of the 1993 Service Manual and should be noted accordingly. Be certain to familiarize yourself with these updates to properly repair the 1993 HYDRA-MATIC 4L60-E transmission.

Beginning with Start of Production 1993, HYDRA-MATIC 4L60-E transmissions were built with solid stator shaft seals (230) (figures 1 and 2).

NOTE: The 1993 HYDRA-MATIC 4L60 transmission is also built with the solid stator shaft seals. The solid stator shaft seals should be used on past model 4L60 transmissions.

Update your 1993 Service Manual with the following three (3) pages.

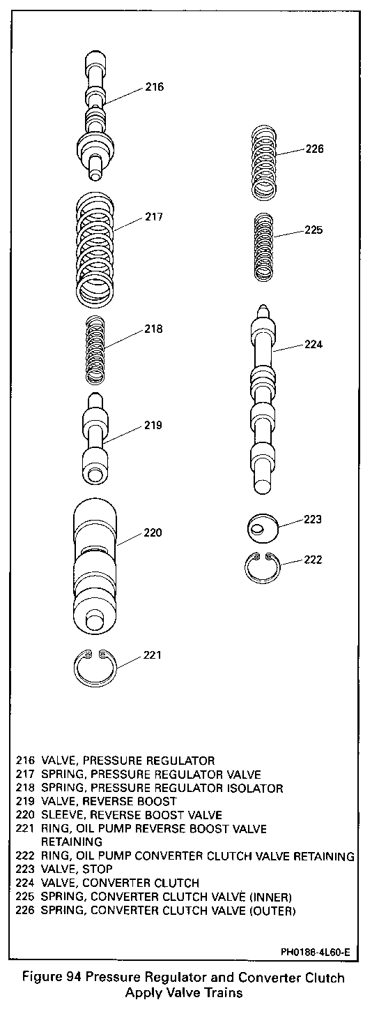
8. Reverse boost valve (219) into the reverse boost valve sleeve. * Small end of the valve first * Retain with Transjel J36850 or equivalent. 9. Reverse boost valve sleeve (220) into the pressure regulator bore. 10. Retainer ring (221).

OIL PUMP COVER AND BODY Figures 91 and 95 through 98

Tools Required:

J21368 Oil Pump Body and Cover Alignment Band J25025-1 Alignment Pins

ASSEMBLE Figures 91, 95, 96 and 97

1. Oil pump cover (215) onto oil pump body. * Stator shaft through a bench hole 2. Pump cover bolts (233). * Leave finger tight. 3. Align pump cover and pump body with J21368. * Place a screwdriver through a bolt hole and into a hole in the bench.

TIGHTEN

* Attaching bolts to 24 N m (18 lb. ft.). * Retain with Transjel J36850 or equivalent 4. Install two oil seal rings (233) using J38735-3 and J39855-1.

ADJUST * Adjust screw to obtain proper height. 5. Use J39855-2 to size seals after installation.

INSTALL OR CONNECT Figure 98

1. Thrust washer (601). 2. J25025-1 into the case as shown. 3. Oil pump assembly into the case. * Align all holes properly. 4. Bolts and 0-rings (2 and 3).

TIGHTEN * Bolts to 24 N m (18 lb. ft.).

IMPORTANT

*** Rotate the transmission to a horizontal position. If the transmission is assembled properly the turbine shaft should turn by hand. If not identify and correct the misassembly now.

TRANSMISSION END PLAY CHECK Figures 99 through 103 and 106, 107 and 108

Tools Required:

J24773-A End Play Checking Fixture J25022 End Play Checking Fixture Adaptor (245 mm) J34725 End Play Checking Fixture Adaptor (298 mm) J25025-7A Post or 278 mm (11 inch) Bolt and Nut Dial indicator

MEASURE Figures 99 through 102

1 . Remove an oil pump to case bolt and install a 278 mm (11 inch) bolt and lock nut or J25025-7A 2. Install J25022-A or J34725 as shown. 3. Install J24773-A as shown. 4. Install a dial indicator. * Set to zero. 5. Pull up on J24773-A. * End play should be 0.13 to 0.92 mm (0.005 to 0.036 inch).

The selective washer which controls end play is located between the input housing and the thrust bearing on the oil pump hub. If more or less end play is required, select the proper washer from the chart and install. If dial indicator shows no end play, the selective washer and thrust bearing have been misassembled.


Object Number: 92202  Size: MF


Object Number: 92201  Size: SF


Object Number: 76547  Size: FS


Object Number: 92200  Size: FS


Object Number: 91124  Size: SF


Object Number: 91581  Size: SF


Object Number: 91580  Size: SF


Object Number: 90640  Size: SF


Object Number: 95379  Size: SF


Object Number: 95378  Size: SF


Object Number: 95377  Size: SF


Object Number: 95376  Size: SF

General Motors bulletins are intended for use by professional technicians, not a "do-it-yourselfer". They are written to inform those technicians of conditions that may occur on some vehicles, or to provide information that could assist in the proper service of a vehicle. Properly trained technicians have the equipment, tools, safety instructions and know-how to do a job properly and safely. If a condition is described, do not assume that the bulletin applies to your vehicle, or that your vehicle will have that condition. See a General Motors dealer servicing your brand of General Motors vehicle for information on whether your vehicle may benefit from the information.