GM Service Manual Online
For 1990-2009 cars only

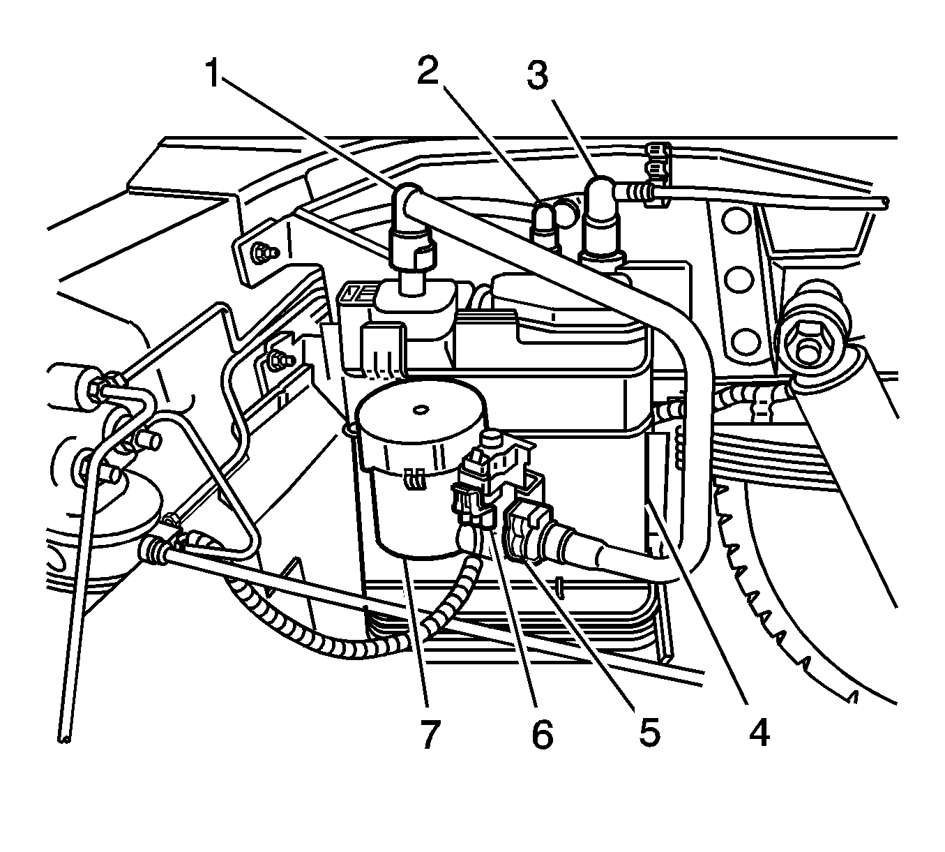
Removal Procedure


    Object Number: 1368205  Size: SH
  1. Disconnect the evaporative emission (EVAP) vent hose (1) from the EVAP canister (4).
  2. Disconnect the EVAP purge pipe (2) and the fuel tank vapor pipe (3) from the EVAP canister.
  3. Remove the EVAP vent valve (6) from the EVAP canister bracket.
  4. Remove the EVAP canister bracket nut.
  5. Remove the EVAP canister from the EVAP canister bracket.

Installation Procedure


    Object Number: 1368205  Size: SH
  1. Install the EVAP canister into the EVAP canister bracket.
  2. Notice: Use the correct fastener in the correct location. Replacement fasteners must be the correct part number for that application. Fasteners requiring replacement or fasteners requiring the use of thread locking compound or sealant are identified in the service procedure. Do not use paints, lubricants, or corrosion inhibitors on fasteners or fastener joint surfaces unless specified. These coatings affect fastener torque and joint clamping force and may damage the fastener. Use the correct tightening sequence and specifications when installing fasteners in order to avoid damage to parts and systems.

  3. Install the EVAP canister bracket nut.
  4. Tighten
    Tighten the nut to 5 N·m (44 lb in).

  5. Install the EVAP vent valve (6) to the canister bracket.
  6. Connect the EVAP purge pipe (2) and the fuel tank vapor pipe (3) to the EVAP canister.
  7. Connect the EVAP vent hose (2) to the EVAP canister .