GM Service Manual Online
For 1990-2009 cars only

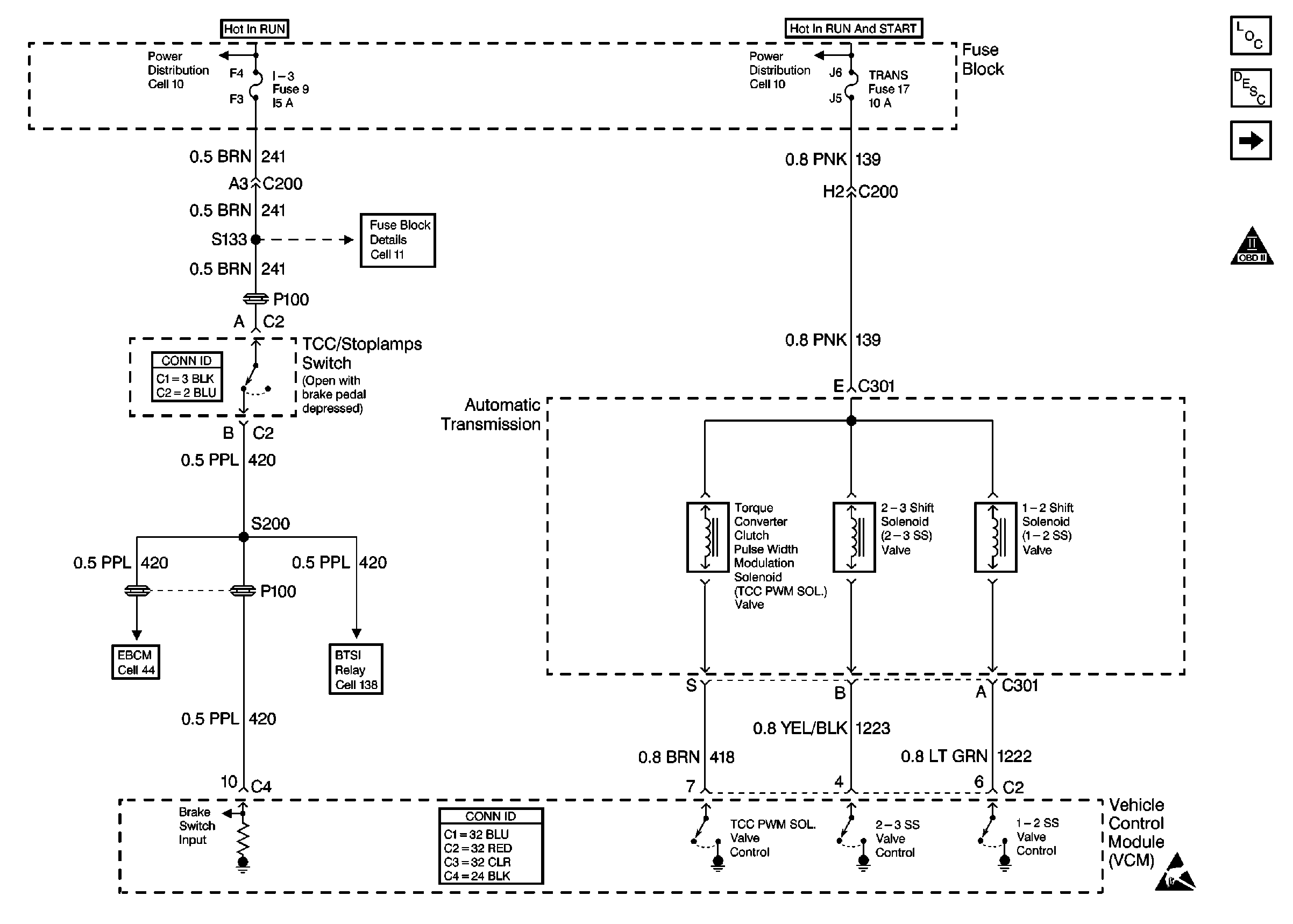
Automatic Transmission Controls Schematics VCM Control

Figure 1:

Cell 39: L31/L35, Internal Solenoids, TCC/Stoplamps Switch


Object Number: 399368  Size: FS
Automatic Transmission Components Diesel
Electronic Component Description
Cell 39: L31/L35, TR, TFT, TISS, and PC Solenoid Valve
OBD II Symbol Description Notice
Cell 10: Ignition Switch and Fuse Block
Cell 21: Power and Grounding
Cell 10: Ignition Switch and Fuse Block
Handling ESD Sensitive Parts Notice
Cell 138: P42 BTSI Circuit
Cell 44: Gas, ABS Power and Grounding, DLC Output
Figure 2:

Cell 39: L31/L35, TR, TFT, TISS, and PC Solenoid Valve


Object Number: 399369  Size: FS
Automatic Transmission Components Diesel
Electronic Component Description
Cell 39: L29, Internal Solenoids, TCC/Stoplamps Switch
Cell 39: L31/L35, Internal Solenoids, TCC/Stoplamps Switch
OBD II Symbol Description Notice
Handling ESD Sensitive Parts Notice
Handling ESD Sensitive Parts Notice
Cell 21: Engine Data Sensors - MAP, IAT, TP ECT
Figure 3:

Cell 39: L29, Internal Solenoids, TCC/Stoplamps Switch


Object Number: 399364  Size: FS
Automatic Transmission Components Gasoline
Electronic Component Description
Cell 39: L29, TR, TFT, TISS, and PC Solenoid Valve
Cell 39: L31/L35, TR, TFT, TISS, and PC Solenoid Valve
OBD II Symbol Description Notice
Cell 10: Ignition Switch and Fuse Block
Cell 11: I-3, TURN BU and HTR fuses, PWR CKT BRKR 2 and AUX CKT BRKR13
Cell 10: Ignition Switch and Fuse Block
Handling ESD Sensitive Parts Notice
Cell 44: Gas, ABS Power and Grounding, DLC Output
Figure 4:

Cell 39: L29, TR, TFT, TISS, and PC Solenoid Valve


Object Number: 421470  Size: FS
Automatic Transmission Components Gasoline
Electronic Component Description
Cell 39: L29, Internal Solenoids, TCC/Stoplamps Switch
OBD II Symbol Description Notice
Handling ESD Sensitive Parts Notice
Handling ESD Sensitive Parts Notice
Cell 21: Engine Data Sensors 1- MAP, IAT, TP Sensor, and ECT

Automatic Transmission Controls Schematics PCM Control

Figure 1:

Cell 39: L57 EFI, Internal Solenoids, TCC/Stoplamps Switch


Object Number: 421465  Size: FS
Automatic Transmission Components Diesel
Electronic Component Description
Cell 39: L57 EFI, TR, TFT, TISS, and PC Solenoid Valve
OBD II Symbol Description Notice
Cell 44: Diesel, ABS Power and Grounding, DLC Output
Cell 10: Ignition Switch and Fuse Block
Cell 10: Ignition Switch and Fuse Block
Handling ESD Sensitive Parts Notice
Cell 138: P42 BTSI Circuit
Figure 2:

Cell 39: L57 EFI, TR, TFT, TISS, and PC Solenoid Valve


Object Number: 421466  Size: FS
Automatic Transmission Components Diesel
Electronic Component Description
Cell 39: L65, PCM Controller, Internal Solenoids, TCC/Stoplamps Switch
Cell 39: L57 EFI, Internal Solenoids, TCC/Stoplamps Switch
OBD II Symbol Description Notice
Cell 23: Engine Data Sensors 1 - ECT, IAT, MAP
Handling ESD Sensitive Parts Notice
Handling ESD Sensitive Parts Notice
Figure 3:

Cell 39: L65, PCM Controller, Internal Solenoids, TCC/Stoplamps Switch


Object Number: 382717  Size: FS
Automatic Transmission Components Gasoline
Electronic Component Description
Cell 39: L65, TR, TFT, TISS, and PC Solenoid Valve
Cell 39: L57 EFI, TR, TFT, TISS, and PC Solenoid Valve
OBD II Symbol Description Notice
Cell 10: Fuse Block
Cell 10: Ignition Switch and Fuse Block
Cell 11: I-3, TURN BU and HTR fuses, PWR CKT BRKR 2 and AUX CKT BRKR13
Handling ESD Sensitive Parts Notice
Cell 44: Diesel, ABS Power and Grounding, DLC Output
Cell 138: P32 BTSI Circuit
Cell 110: Turn Signal Switch
Figure 4:

Cell 39: L65, TR, TFT, TISS, and PC Solenoid Valve


Object Number: 399366  Size: FS
Automatic Transmission Components Gasoline
Electronic Component Description
Cell 39: L65, PCM Controller, Internal Solenoids, TCC/Stoplamps Switch
OBD II Symbol Description Notice
Handling ESD Sensitive Parts Notice
Handling ESD Sensitive Parts Notice
Cell 22: Engine Data Sensors and Wastegate Solenoid

Automatic Transmission Controls Schematics TCM Control

Figure 1:

Cell 39: L57, TCM Power and Grounding, DLC, TRANS Indicator


Object Number: 421467  Size: FS
Automatic Transmission Components Diesel
Cell 39: L57, Engine/Transmission Data Sensors
Cell 11: ECM-I fuse [L57]
Cell 10: Ignition Switch and Fuse Block
Cell 10: Fuse Block and Headlamp Switch
Cell 11: Gauges fuse
Cell 22: Fuel Controls 1 - Fuel Pump Control
Cell 10: Ignition Switch and Fuse Block
Cell 81: Indicators
Handling ESD Sensitive Parts Notice
Handling ESD Sensitive Parts Notice
Cell 14: G108 [L57]
Figure 2:

Cell 39: L57, Engine/Transmission Data Sensors


Object Number: 421468  Size: FS
Automatic Transmission Components Diesel
Cell 39: L57, Internal Solenoids, TCC/Stoplamps Switch
Cell 39: L57, TCM Power and Grounding, DLC, TRANS Indicator
Cell 10: Ignition Switch and Fuse Block
Cell 11: ECM-I fuse [L57]
Handling ESD Sensitive Parts Notice
Handling ESD Sensitive Parts Notice
Cell 22:A/T Controls 4 - TR, TFT, TISS, and PC Solenoid Valve
Figure 3:

Cell 39: L57, Internal Solenoids, TCC/Stoplamps Switch


Object Number: 387336  Size: FS
Automatic Transmission Components Diesel
Cell 39: L57, TR, TFT, TISS, and PC Solenoid Valve
Cell 39: L57, Engine/Transmission Data Sensors
Cell 10: Ignition Switch and Fuse Block
Cell 11: I-3, TURN-B/U, and HTR fuses, AUX CKT BRKR 13
Cell 10: Ignition Switch and Fuse Block
Handling ESD Sensitive Parts Notice
Cell 138: P42 BTSI Circuit
Cell 44: Gas, ABS Power and Grounding, DLC Output
Figure 4:

Cell 39: L57, TR, TFT, TISS, and PC Solenoid Valve


Object Number: 379545  Size: FS
Automatic Transmission Components Diesel
Cell 39: L57, Internal Solenoids, TCC/Stoplamps Switch
Handling ESD Sensitive Parts Notice
Handling ESD Sensitive Parts Notice
Cell 39: L57, Engine/Transmission Data Sensors