Removal Procedure
- Raise the vehicle. Refer to
Lifting and Jacking the Vehicle
in General Information.
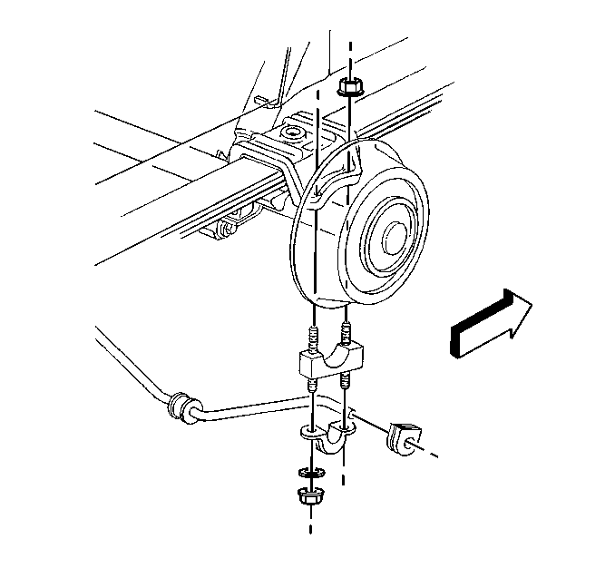
- Remove the top bolts from
the stabilizer links.
- Remove the stabilizer links from the frame brackets.
- Remove the nuts from the
stabilizer clamps.
- Remove the stabilizer clamps.
The stabilizer shaft assembly will be clear from the vehicle.
- Remove the insulator from the stabilizer shaft.
- Remove the following components
from the link assembly:
- Remove the link from the insulator and the stabilizer assembly.
Pry open the lower link in order to obtain clearance from the link insulator.
- Remove the link insulator from the stabilizer shaft.
Installation Procedure
- Install the link insulators
to the stabilizer shaft.
- Install the link assembly to the link insulator.
- Install the link bolts, the washers, and the nuts. Do not tighten
the bolts.
- Install the clamp insulators.
- Install the stabilizer shaft to the anchor plate.
- Install the clamp over the insulator onto the anchor plate studs.
- Install the clamp washers and the nuts.
- Install the stabilizer
links to the frame brackets.
Notice: Use the correct fastener in the correct location. Replacement fasteners
must be the correct part number for that application. Fasteners requiring
replacement or fasteners requiring the use of thread locking compound or sealant
are identified in the service procedure. Do not use paints, lubricants, or
corrosion inhibitors on fasteners or fastener joint surfaces unless specified.
These coatings affect fastener torque and joint clamping force and may damage
the fastener. Use the correct tightening sequence and specifications when
installing fasteners in order to avoid damage to parts and systems.
- Install the upper
link bolts and the nuts.
Tighten
| • | Tighten the bolts to 45 N·m (33 lb ft). |
| • | Tighten the clamp nuts to 60 N·m (44 lb ft). |
| • | Tighten the lower link nuts to 18 N·m (14 lb ft). |
- Lower the vehicle.