GM Service Manual Online
For 1990-2009 cars only
Makes
🢒
GMC_Truck
🢒
2003
🢒
Savana - AWD
🢒
Body and Accessories
🢒
Body Rear End
🢒 Body Rear End Schematics
Figure
1:
Fuse Block - Rear and Access Panel Relays
Master Electrical Component List
Access Panel Description and Operation
Access Panel Actuators and G403
B+ Bus - Body Fuse Block
RR BLOWER, AUXILIARY 1, OSRVM, and SPARE Fuses, PWR WND Circuit Breaker
Fuse Block - Rear, Work Lamps and Access Panel Relays
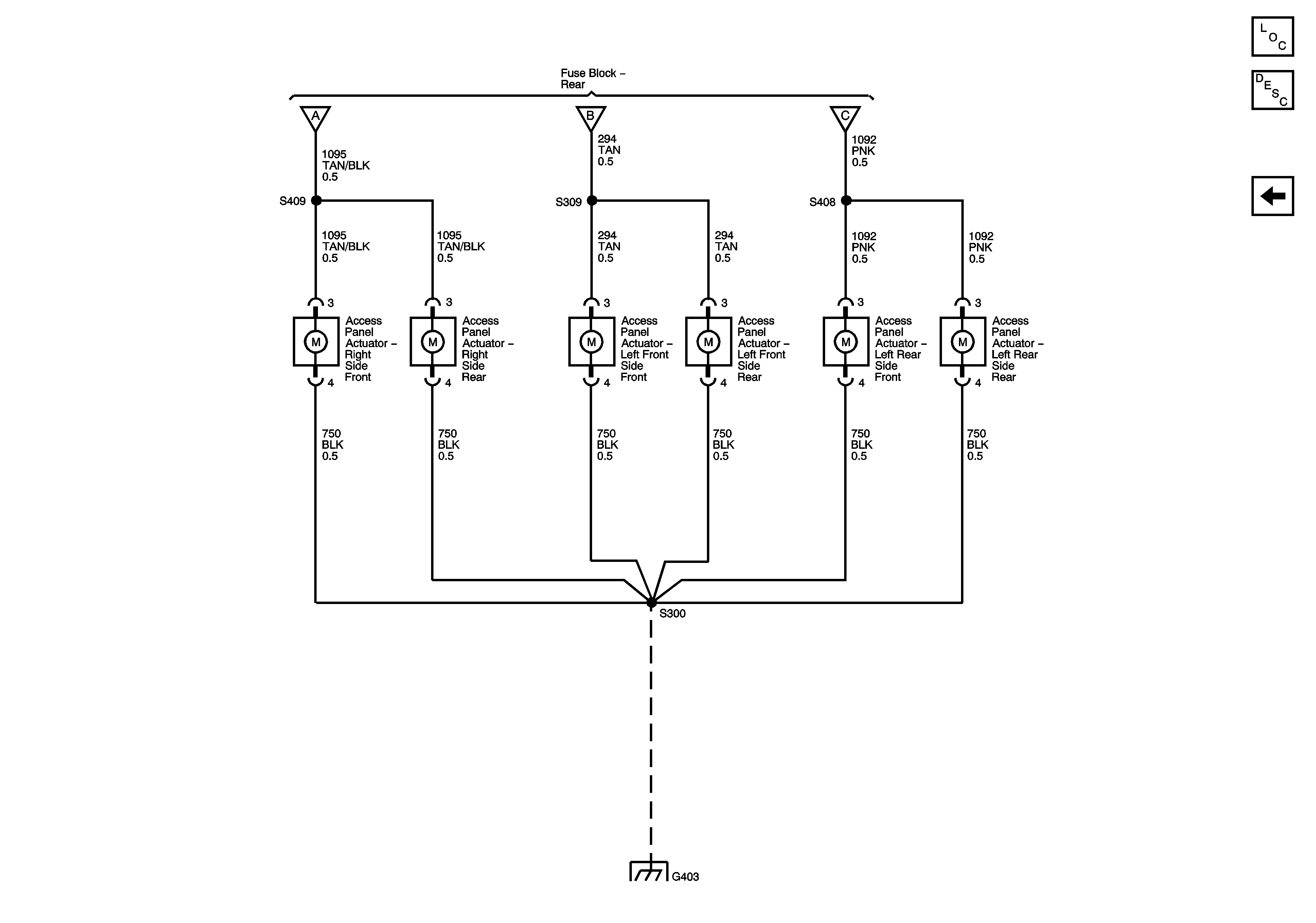
Access Panel Actuators and G403
Access Panel Actuators and G403
Access Panel Actuators and G403
Figure
2:
Access Panel Actuators and G403
Master Electrical Component List
Access Panel Description and Operation
Fuse Block - Rear and Access Panel Relays
Fuse Block - Rear and Access Panel Relays
G402 (Passenger/Cargo) and G403 (PRP)