GM Service Manual Online
For 1990-2009 cars only
Makes
🢒
GMC_Truck
🢒
2007
🢒
Sierra Classic - 2WD
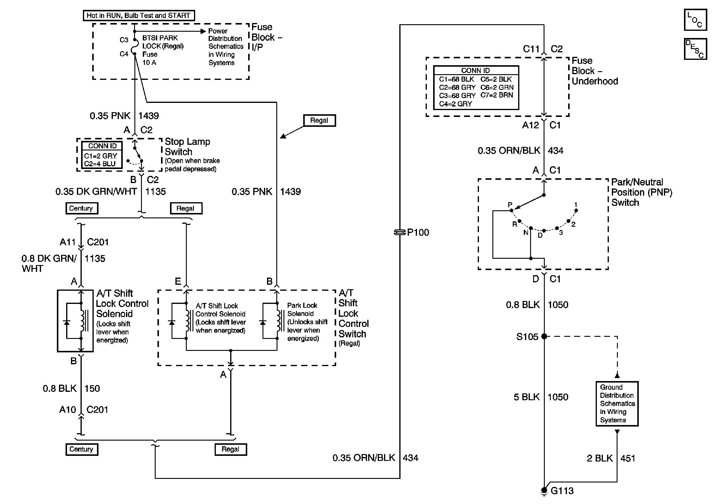
🢒 Shift Lock Control
Shift Lock Control
Master Electrical Component List
Automatic Transmission Shift Lock Control Description and Operation
ABS, BTSI
G113