Caution: Storing a jack, a tire, or other equipment in the passenger compartment of the vehicle could cause injury. In a sudden stop or collision, loose equipment could strike someone. Store all these in the proper place.
Notice: Storing an aluminum wheel with a flat tire under your vehicle for an extended period of time or with the valve stem pointing up can damage the wheel. Always stow the wheel with the valve stem pointing down and have the wheel/tire repaired as soon as possible.
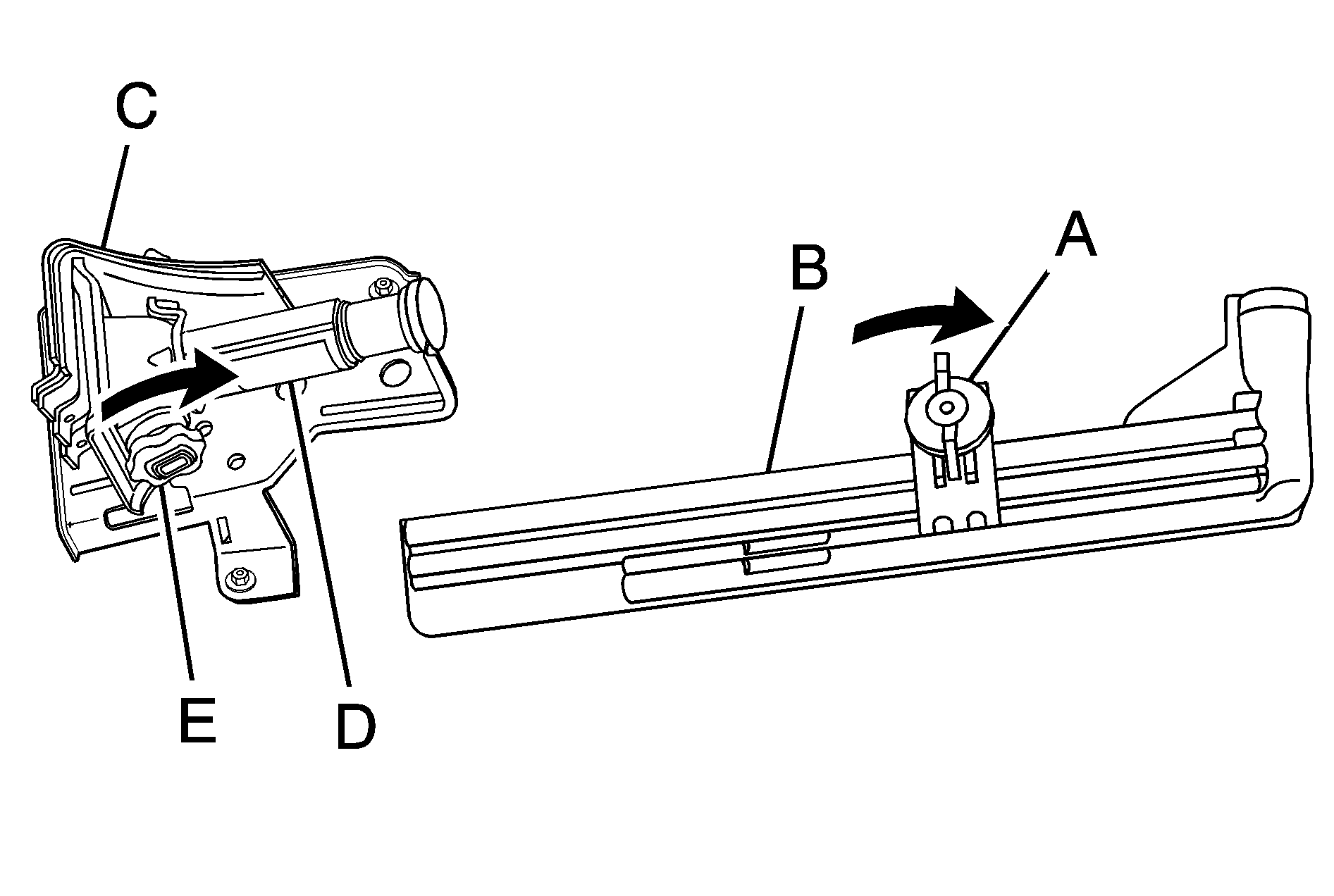
Store the tire under the rear of the vehicle in the spare tire carrier. Use the following art and text to assist you:
Spare Tire (Valve Stem Pointed Down)
Hoist Assembly
Hoist Cable
Tire/Wheel Retainer
Hoist Shaft
Hoist End of Extension Tool
Hoist Shaft Access Hole
Wheel Wrench
Jack Handle Extensions
Spare Tire Lock (If Equipped)
Tilt the retainer downward and through the wheel opening. Make sure the retainer is fully seated across the underside of the wheel.
Insert the hoist end (F) through the hole (G) in the rear bumper and onto the hoist shaft (E).
To store the jack and jack tools, do the following:
Wing Nut Retaining Tool Kit
Tool Kit
Wheel Blocks
Jack
Wing Nut Retaining Wheel Blocks
Tool Cover
Wing Nut Retaining Wheel Blocks
Wheel Blocks
Tool Kit
Jack
Wing Nut Retaining Jack
Wing Nut Retaining Tool Kit
Tool Kit
Wheel Blocks
Jack
Wing Nut Retaining Jack
If your vehicle has a cover replace the cover.
If you have the Regular Cab, the wheel blocks must be placed straight up and down on the top of the jack.