GM Service Manual Online
For 1990-2009 cars only
Makes
🢒
GMC_Truck
🢒
2002
🢒
Sonoma Pickup - 2WD
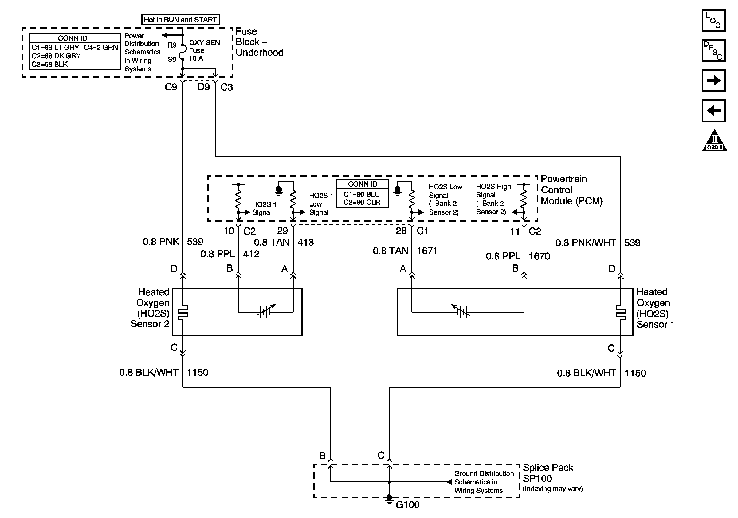
🢒 Engine Data Sensors - (HO2S)
Engine Data Sensors - (HO2S)
Engine Data Sensors -- (HO2S)
Master Electrical Component List
Ignition Controls - Ignition System
Engine Data Sensors - MAF, VSS and Extended Brake Travel Switch
Engine Controls Schematic Icons
G100, and G102
IGN 1 Relay, Transmission, DIS, OXY SEN, and IGN 1 Fuses (Fuse Block Underhood)