GM Service Manual Online
For 1990-2009 cars only

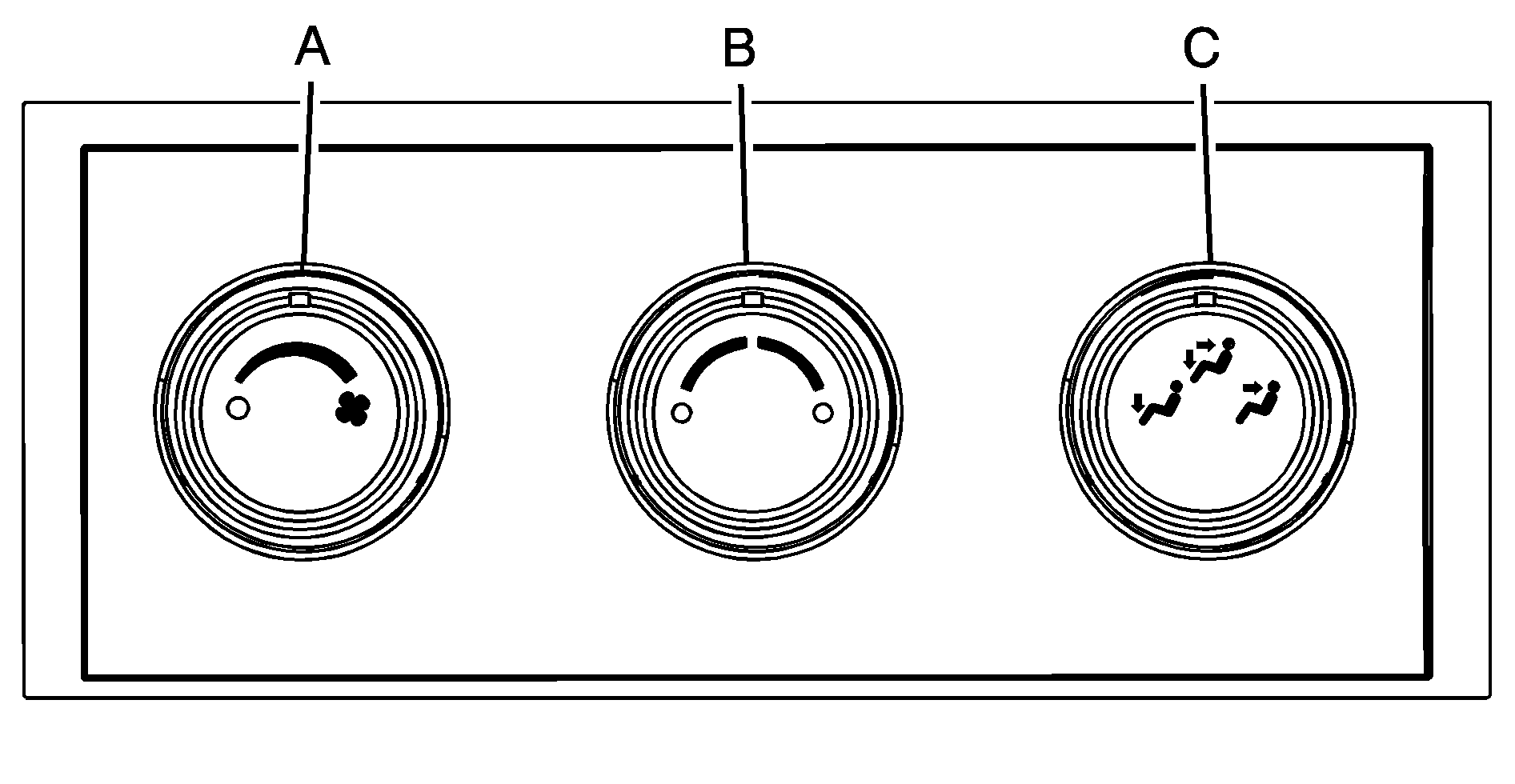
For vehicles with this system, the rear controls are three knobs located in the headliner. The system can also be controlled with the front controls.


Object Number: 2032122  Size: B2
  1. Fan Control

  2. Temperature Control

  3. Air Delivery Mode Control

REAR: Press the REAR button on the front climate control system to turn the rear climate control system on or off. An indicator comes on when the rear system is on. See Climate Control System or Dual Automatic Climate Control System. The rear system can also be turned off by turning the rear fan knob to the position.

Mimic Mode: This mode matches the rear climate control to the front climate control airflow settings. It comes on when REAR is pressed the first time.

Independent Mode: This mode directs rear seating airflow according to the settings of the rear controls. It comes on when any rear control is adjusted.

Temperature Control: Turn clockwise or counterclockwise to increase or decrease the airflow temperature into the passenger area.

Fan Control: Turn clockwise or counterclockwise to increase or decrease the fan speed.

Air Delivery Mode Control: Turn clockwise or counterclockwise to change the direction of the airflow.

(Vent): Air is directed through the headliner outlets.

(Bi-Level): Air is directed through the floor and headliner outlets. The rear system floor outlets are located directly behind the second row seats. The flow can be divided between vent and floor outlets depending upon where the knob is placed between the settings.

(Floor): Air is directed to the floor outlets. The rear system floor outlets are located directly behind the second row seats.