GM Service Manual Online
For 1990-2009 cars only

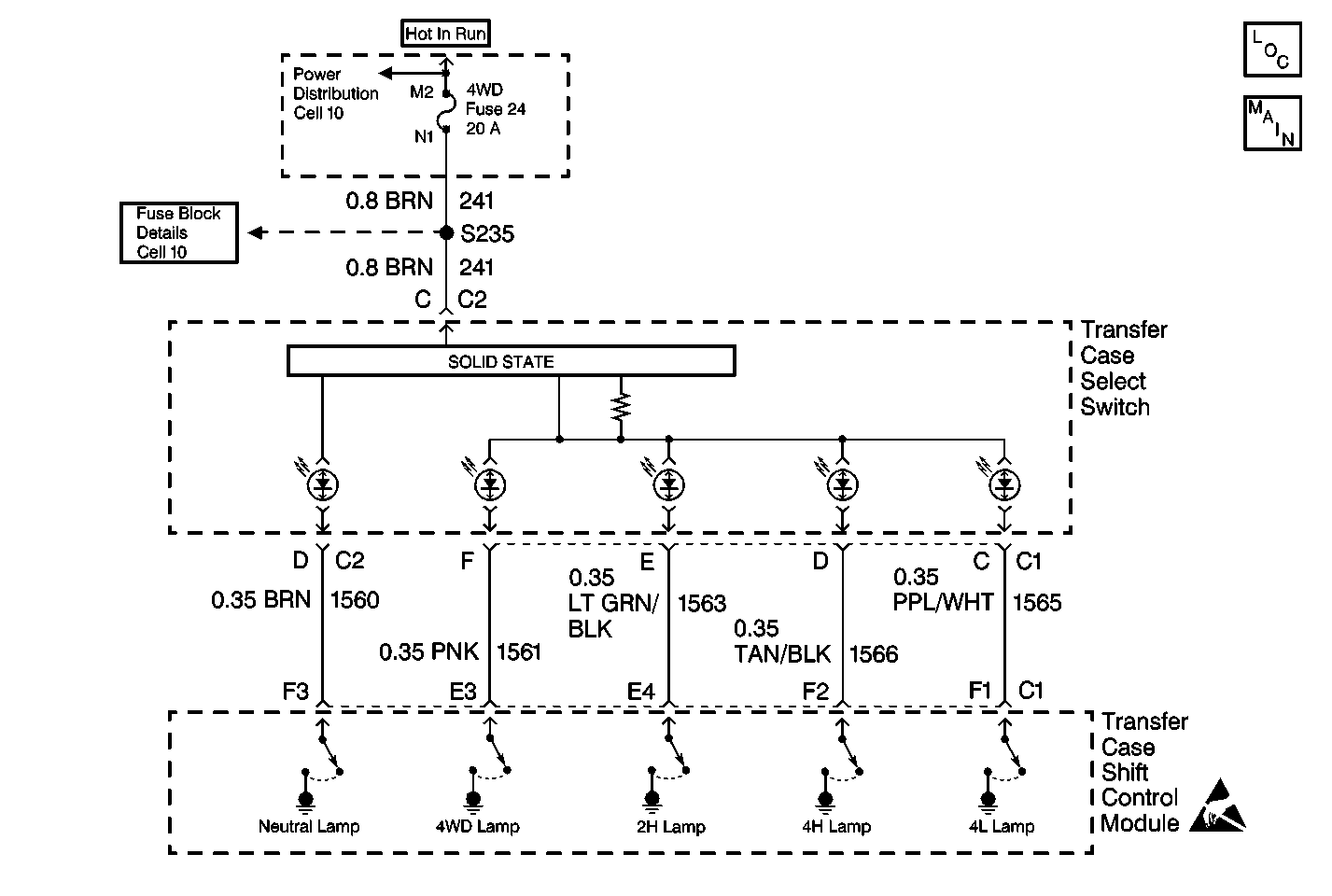
Object Number: 376412  Size: MF
Transfer Case Control Components
Transfer Case Control Schematics

Test Description

The number(s) below refer to the step number(s) on the diagnostic table.

  1. This step determines if the transfer case shift control module can electronically control the all indicator lamp circuits.

  2. This step determines which indicator lamp the transfer case shift control module is correctly commanding on.

  3. This step determines whether there is a short to ground in one of the indicator lamp control circuits.

Two or More Indicator Lamps Remains On

Step

Action

Value(s)

Yes

No

1

Was the Transfer Case Diagnostic System Check performed?

--

Go to Step 2

Go to Transfer Case Diagnostic System Check

2

  1. Connect a Scan Tool .
  2. Turn the ignition ON, engine OFF.
  3. Use the Scan Tool in order to command all the indicator lamps off.

Do all the lamps go off?

--

Go to Step 3

Go to Step 4

3

Replace the transfer case shift control module. Refer to Transfer Case Shift Control Module replacement.

Is the repair complete?

--

Go to Step 9

--

4

  1. Use the Scan Tool in order to determine which mode the transfer case is in.
  2. Use this information to determine which lamp circuit(s) is at fault.
  3. Disconnect both connectors at the Range/Mode switch.
  4. Connect a J 39200 Digital Multimeter DMM and check for resistance from the Range/Mode switch harness connector terminal(s) of the suspected circuit(s) to ground.

Is the resistance reading within the specified value?

OL

Go to Step 7

Go to Step 5

5

  1. Disconnect both connectors at the transfer case shift control module.
  2. Connect a J 39200 Digital Multimeter DMM and check for resistance from the Range/Mode switch harness connector terminal(s) of the suspected circuit(s) to ground.

Is the resistance reading within the specified value?

OL

Go to Step 8

Go to Step 6

6

Repair a short to ground condition. Refer to Wiring Repairs in wiring systems.

Are the repairs complete?

--

Go to Step 9

--

7

Replace the range/mode switch. Refer to Transfer Case Shift Control Switch Replacement .

Is the action complete?

--

Go to Step 9

--

8

Replace the transfer case shift control module. Refer to Transfer Case Shift Control Module Replacement .

Is the action complete?

--

Go to Step 9

--

9

  1. Ensure the ignition is OFF.
  2. Properly mount and reconnect all previously disconnected ATC components.

Have all the ATC components been reconnected and properly mounted?

--

Go to Step 10

--

10

Clear all ATC DTCs.

Have all ATC DTCs been cleared?

--

Go to Transfer Case Diagnostic System Check

--