GM Service Manual Online
For 1990-2009 cars only
Makes
🢒
Generic
🢒
2006
🢒
Unit Repair
🢒
Suspension
🢒
Tire Pressure Monitoring
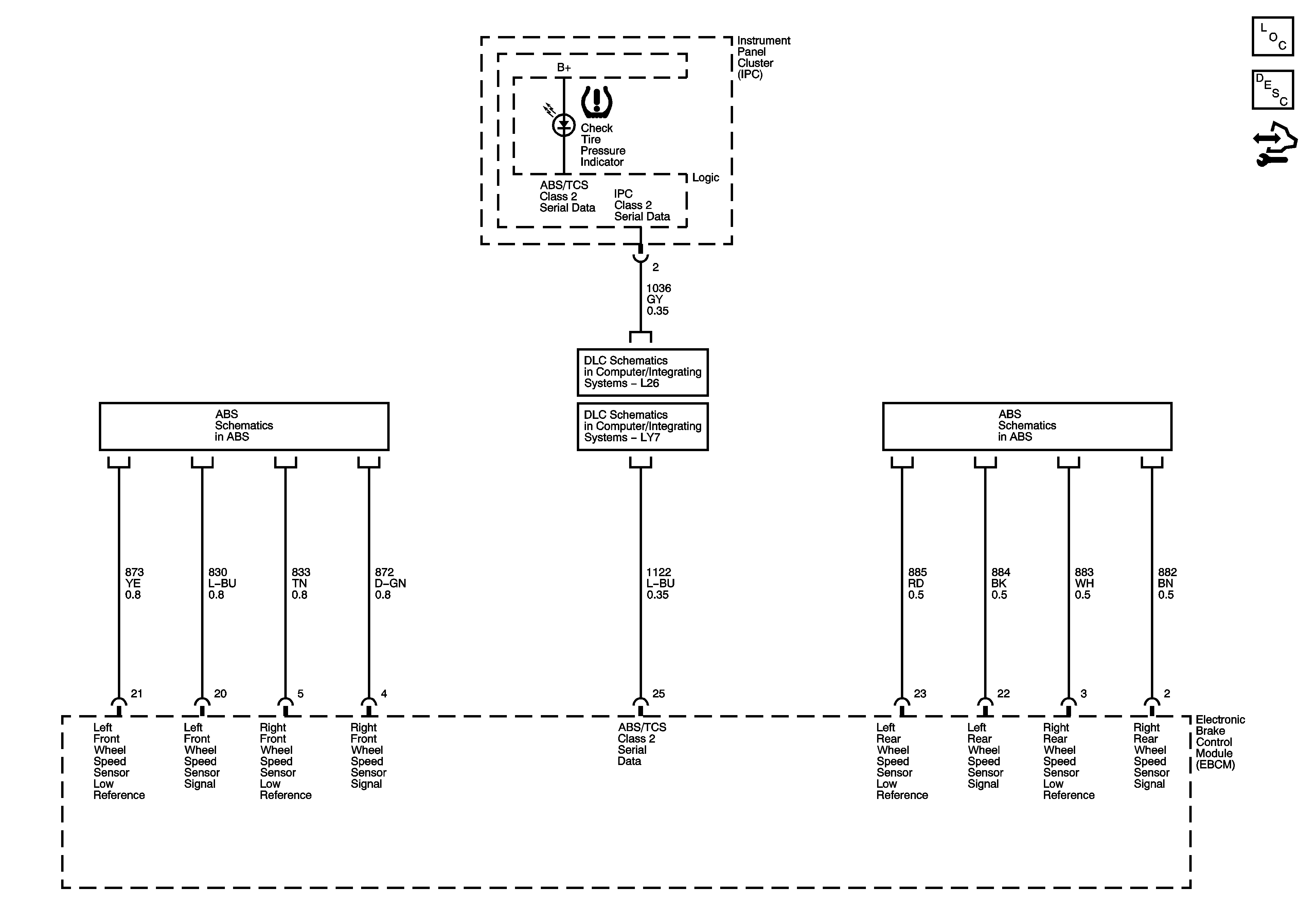
🢒 Tire Pressure Monitoring System Schematics
Tire Pressure Monitoring System Schematics
Master Electrical Component List
Control Module References
Wheel Speed Sensors
Wheel Speed Sensors