GM Service Manual Online
For 1990-2009 cars only
Figure 1:

Fuse Block-Underhood-Stud #1 and Stud #2


Object Number: 819806  Size: LF
(1)Stud #2-Trailer Connector Power Feed
(2)Stud #1
(3)Fuse Block-Underhood
(4)IP Harness
(5)C102
Figure 2:

Fuse Block - I/P


Object Number: 827523  Size: MF
(1)Fuse Block - I/P
(2)Driver Door Harness
(3)Fuse Block - I/P - C3 (BLK)
Figure 3:

Relay Block - I/P


Object Number: 825740  Size: MF
(1)Relay Block - I/P
(2)Body Harness
(3)Relay Block - I/P - C10 (NAT)
Figure 4:

Junction Block-I/P


Object Number: 820125  Size: MF
(1)Junction Block-I/P
(2)I/P Harness
(3)Footwell Courtesy Lamp Socket-Right
(4)Footwell Courtesy Lamp Bulb-Right
Figure 5:

Accessory Power Outlets-IP


Object Number: 819933  Size: MF
(1)Cigar Lighter
(2)Accessory Power Outlet
(3)Accessory Power Outlet
Figure 6:

Accessory Power Outlets-Rear Console


Object Number: 828480  Size: MF
(1)RSA Controller
(2)Heated Seat Switch-RR
(3)Accessory Power Outlet-RR
(4)Accessory Power Outlet-LR
(5)Heated Seat Switch-LR
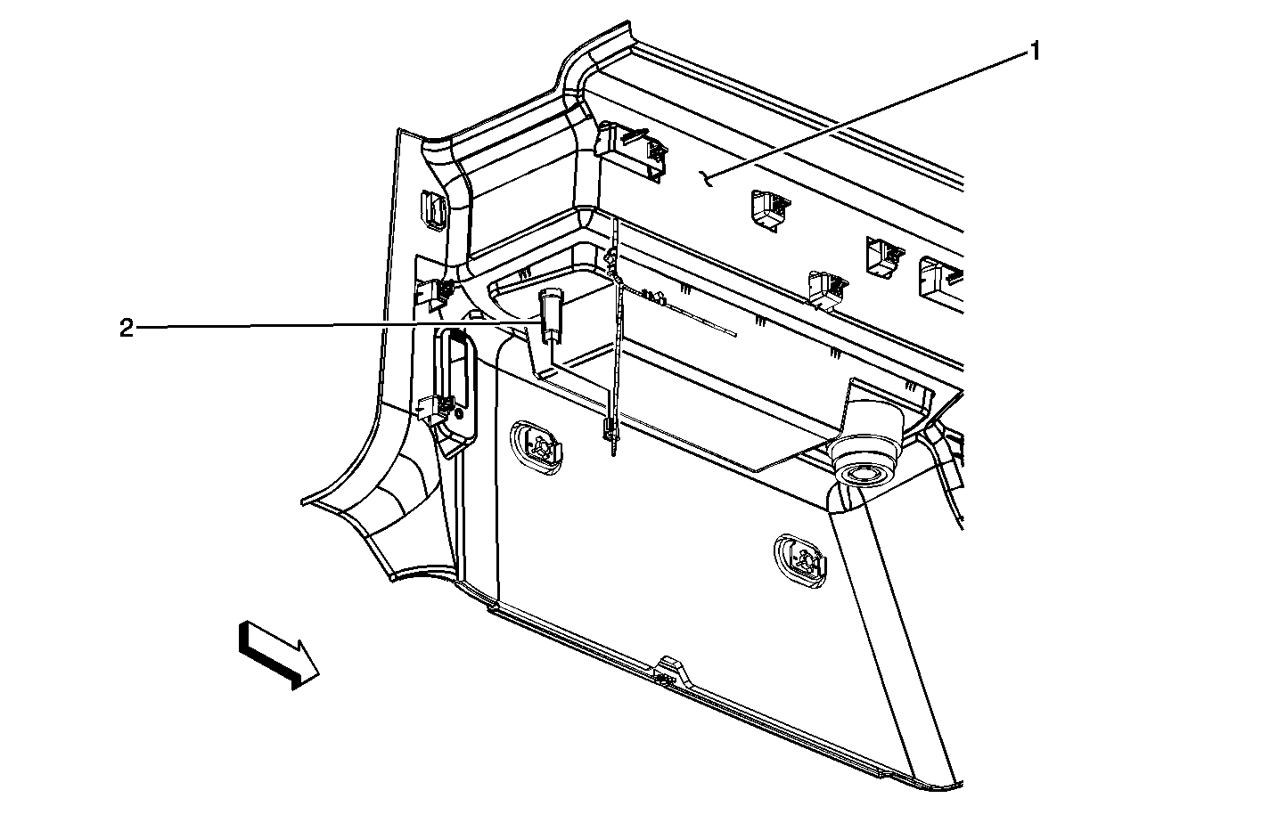
Figure 7:

Accessory Power Outlet-Rear


Object Number: 825890  Size: MF
(1)Rear Cargo Storage Bin
(2)Accessory Power Outlet-RR
Figure 8:

Electronically Controlled Air Suspension Relay and G300


Object Number: 828177  Size: MF
(1)S304
(2)G300
(3)Chassis Harness
(4)Electronically Controlled Air Suspension Relay
Figure 9:

Steering Wheel Controls Backlight Fuse


Object Number: 857908  Size: LF
(1)Steering Column
(2)Transfer Case Shift Control Module
(3)Splice Pack SP206
(4)Steering Wheel Controls Backlight Fuse
Figure 10:

G100


Object Number: 825388  Size: MF
(1)Negative Battery Cable
(2)Left Front Frame Rail
(3)G100-Negative Battery cable
(4)G100-Forward Lamp Harness
(5)Forward Lamp Harness
Figure 11:

G103 and G104


Object Number: 825336  Size: MF
(1)Engine Harness
(2)G103-Engine Harness Ground
(3)G104
(4)Camshaft Position (CMP) Sensor Connector
(5)Engine Oil Pressure (EOP) Sensor Connector
Figure 12:

G102


Object Number: 825321  Size: MF
(1)G102-Negative Battery Cable
(2)G102-Engine Harness Ground
(3)Engine Harness
Figure 13:

G106


Object Number: 825386  Size: MF
(1)G106
(2)Dash Panel
(3)Engine Ground Strap
Figure 14:

G200


Object Number: 820070  Size: LF
(1)C200-I/P Harness Side
(2)C201-I/P Harness Side
(3)G200
(4)I/P Harness
Figure 15:

G203


Object Number: 825302  Size: MF
(1)Cowl Panel Insulator
(2)G203
(3)HVAC Harness
Figure 16:

Data Link Connector and Splice Pack SP205


Object Number: 819776  Size: LF
(1)BCM-C1
(2)BCM-C2
(3)BCM-C4
(4)BCM-C3
(5)BCM-C5
(6)Body Control Module (BCM)
(7)Footwell Courtesy Lamp-Left (If Equipped)
(8)Data Link Connector (DLC)
(9)Fuse Block-IP-C1
(10)Fuse Block-IP Center Block
(11)Splice Pack SP205
Figure 17:

Splice Pack SP206


Object Number: 857908  Size: LF
(1)Steering Column
(2)Transfer Case Shift Control Module
(3)Splice Pack SP206
(4)Steering Wheel Controls Backlight Fuse
Figure 18:

Splice Pack SP207


Object Number: 825721  Size: LF
(1)C200
(2)Splice Pack SP207
(3)C201
(4)Left Side Cowl Panel
Figure 19:

G300


Object Number: 825346  Size: MF
(1)Chassis Harness
(2)G300
(3)Left Frame Body Mount
Figure 20:

G302


Object Number: 825282  Size: MF
(1)B Pillar
(2)Body Harness
(3)G302
Figure 21:

G304


Object Number: 828959  Size: MF
(1)G304
(2)Body Harness
(3)Inflatible Restraint and Diagnostic Module (SDM) Connector
Figure 22:

G306


Object Number: 825292  Size: MF
(1)B Pillar
(2)Body Harness
(3)G306
Figure 23:

G308


Object Number: 825382  Size: MF
(1)G308
(2)Body Mount-RH
(3)Chassis Harness
Figure 24:

G310


Object Number: 825379  Size: MF
(1)Body Mount-LH
(2)G310
(3)Chassis Harness
Figure 25:

G401


Object Number: 825380  Size: MF
(1)G401
(2)Body Mount-LH
(3)Fuel Tank Filler Ground
(4)Chassis Harness
Figure 26:

G405


Object Number: 825384  Size: MF
(1)Chassis Harness
(2)G405
(3)Body Mount-RH
(4)Air Suspension Inflator Switch Connector
Figure 27:

G410 and SP410


Object Number: 825429  Size: LF
(1)Inner Side Panel-RH
(2)G410
(3)SP410
Figure 28:

Trailer Receptacle


Object Number: 828318  Size: MF
(1)Trailer Receptacle
(2)Rear Bumper Fascia