GM Service Manual Online
For 1990-2009 cars only

Removal Procedure

  1. Open the spare tire carrier.
  2. Open the endgate to a 45-degree angle.

  3. Object Number: 1486510  Size: SH
  4. Release both right and left hand cables from the side panel cable bolts.

  5. Object Number: 1428255  Size: SH
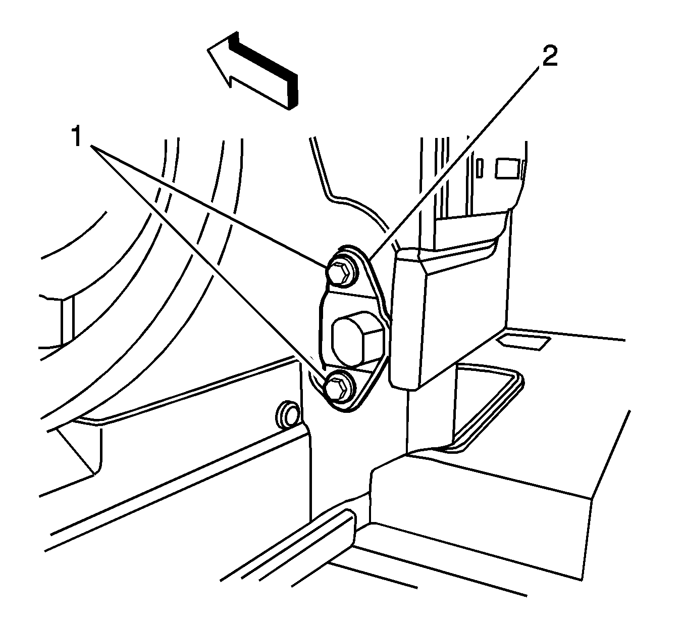
  6. Lift the right side endgate off the endgate trunnion (2).
  7. Remove the left side of the endgate off the left side trunnion.
  8. Place the endgate on a clean, dry surface.

  9. Object Number: 1428254  Size: SH
  10. Remove the following parts:
  11. • Lower trunnion
    • Endgate latch assembly (2)
    • Endgate handle bezel
    • Endgate handle/lock rods
    • Endgate cap
    • Endgate liner

Installation Procedure


    Object Number: 1428254  Size: SH
  1. Install the following parts:
  2. • Endgate liner
    • Endgate cap
    • Endgate handle/lock rods
    • Endgate handle bezel
    • Endgate latch assembly (2)
    • Both lower trunnions
  3. Position the left side of the endgate to the lower left trunnion.

  4. Object Number: 1428255  Size: SH
  5. At a 45-degree angle, set the right side onto the right lower trunnion (2).

  6. Object Number: 1486510  Size: SH
  7. Secure both cables to the side panel cable bolts.
  8. Close the endgate.
  9. Latch and secure the spare tire carrier.