GM Service Manual Online
For 1990-2009 cars only
Makes
🢒
HUMMER
🢒
2006
🢒
H3
🢒 Switches
Switches
Switches
Master Electrical Component List
Electronic Component Description
Control Module References
TCC Brake/Cruise Release Switch and Vehicle Speed Sensor
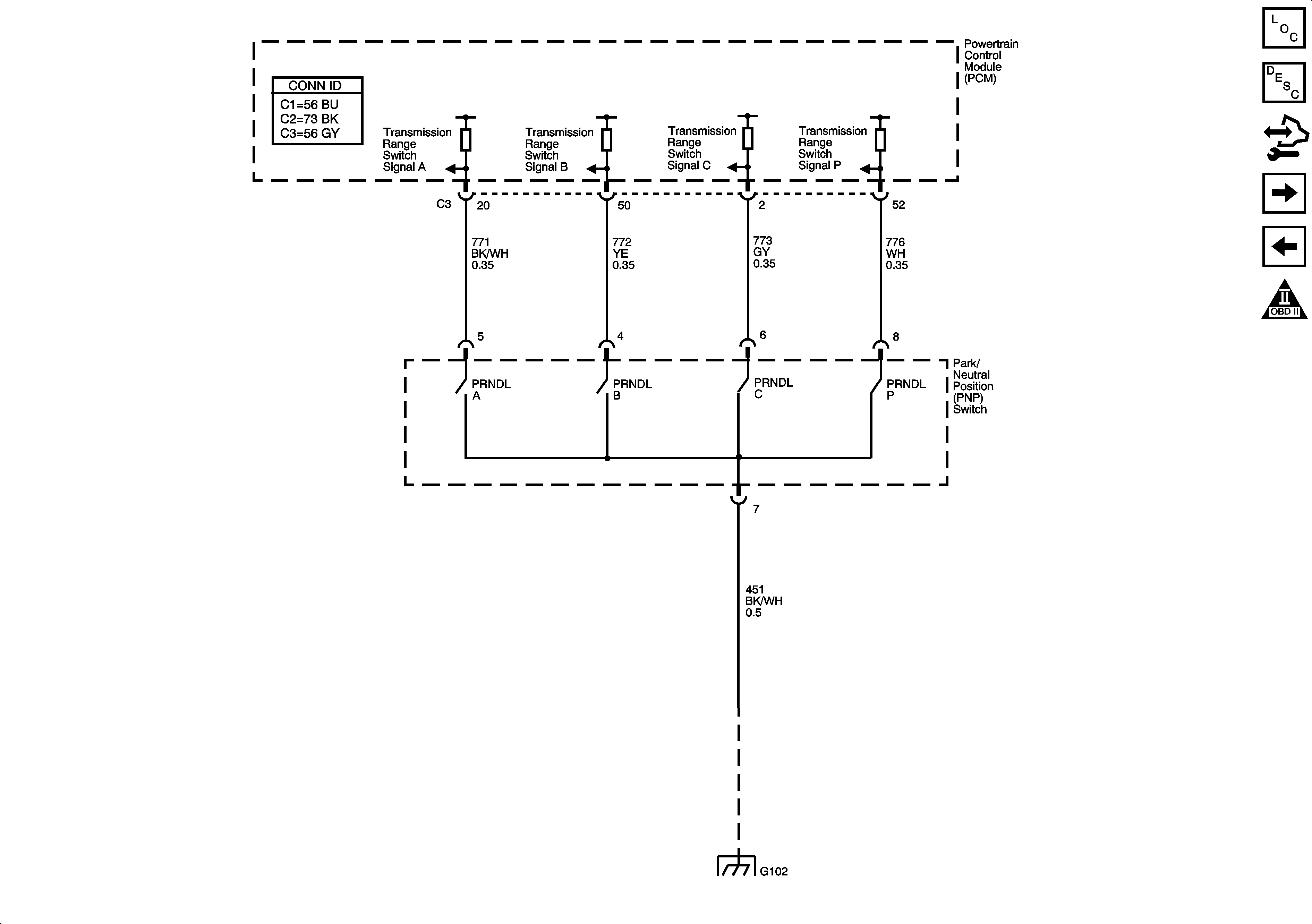
Transmission Controls
Automatic Transmission Schematic Icons
G100, G102, G103, G104, G110, and G120