GM Service Manual Online
For 1990-2009 cars only

Turbocharger Replacement w/o CTF

Removal Procedure

    Notice: If a turbocharger has failed, clean any turbocharger debris or excessive oil from the charge air cooler system before installing the new turbocharger. Failure to clean debris from the charge air cooler system will cause severe turbocharger and engine damage upon startup. Failure to clean excessive oil from the charge air cooler system may cause an engine runaway condition on startup, resulting in severe engine damage.

  1. Tilt the cab. Refer to Cab Tilting in General Information.
  2. Disconnect the negative battery cables. Refer to Battery Negative Cable Disconnection and Connection in Engine Electrical.
  3. Remove the air inlet hose from the air intake duct.
  4. Remove the air inlet hose from the turbocharger.
  5. Remove the air inlet from the charge air cooler.
  6. Remove the exhaust from the turbocharger. Refer to Exhaust Manifold Replacement .
  7. Remove the heat shield at the starter.
  8. Remove the coolant feed line.
  9. Remove the coolant return line.
  10. Remove the oil feed line.
  11. Remove the oil return line.
  12. Remove the exhaust manifold with the turbocharger. Refer to Exhaust Manifold Replacement in Engine Exhaust.
  13. Remove the turbocharger from the exhaust manifold.

Inspection Procedure

Inspect for the following conditions:

   • 
Object Number: 736626  Size: SH
  • The turbocharger for any cracks at the gasket mating surfaces
  •    • 
  • The compressor blades (9) for damage or carbon build-up.
  • Adjustment Procedure

    Bearing Radial Clearance


      Object Number: 736622  Size: SH
    1. Use a dial indicator with an offset plunger and a magnetic base. Adjust the plunger so that the indicator touches the turbocharger main shaft and readjust the gage to zero.
    2. Holding the turbocharger, move the compressor wheel up and down, and read the radial clearance.
    3. Specification

          • The compressor side clearance should be 0.52-0.71 mm (0.020-0.027 in).
          • The turbine side clearance should be 0.43-0.58 mm (0.016-0.022 in).

    Compressor End Play


      Object Number: 737438  Size: SH
    1. Use a dial indicator with a magnetic base. Adjust the plunger so that the indicator touches the turbocharger main shaft and readjust the gauge to zero.
    2. Move the turbocharger mainshaft back and forth and read the end play.
    3. Specification
      0.025-0.076 mm (0.001-0.003 in)

    4. If the bearing radial clearance or the compressor end play is out of specifications, replace the turbocharger center section assembly.

    Disassemble Procedure


      Object Number: 736626  Size: SH

      Important: Scribe an alignment mark across the compressor housing (1), center assembly (9), and the turbine housing (5). These parts must be reassembled in the original location.

    1. Remove the bolts, lock plates, and clamps from the turbocharger.
    2. Remove the compressor housing (5).
    3. Remove the turbine housing (1).

    Assemble Procedure

    Important: 

       • Handle the center assembly with care. The assembly is precisely balanced. Even minor scratches or distortion can cause a malfunction.
       • Do not attempt to disassemble the center assembly. Replace as a unit if faulty.


      Object Number: 736626  Size: SH
    1. Install the turbine housing (5) to the center assembly (9). Align the scribe marks made at disassembly.
    2. Install the compressor housing (1) to the center assembly (9).
    3. Notice: Refer to Fastener Notice in the Preface section.

    4. Install the clamps, plates, and bolts.
    5. Tighten

          • Tighten the bolts to the compressor housing to 23 N·m (17 lb ft).
          • Tighten the bolts to the turbine housing to 23 N·m (17 lb ft).

    Inspection Procedure

    Assembly for proper operation--Turn the compressor wheel by hand. The wheels must rotate freely without binding or noise.

    Installation Procedure

    1. Install the gasket with the plain side towards the exhaust manifold.
    2. Install the turbocharger to the exhaust manifold.
    3. Install the washer and nuts to the exhaust manifold studs.
    4. Tighten
      Tighten the nuts to 52 N·m (38 lb ft).

    5. Install the oil drain tube and the gaskets to the turbocharger and the oil pan.
    6. Tighten
      Tighten the bolts to 27 N·m (20 lb ft).

      Notice: Turn the compressor wheel by hand to distribute the oil in the turbocharger. Failure to do so could cause damage to the turbocharger.

      Important: Pre-lubricate the turbocharger bearings with 118.3 ml (4 oz) of clean engine oil. Pour the clean engine oil into the oil feed port.

    7. Install the exhaust manifold and turbocharger assembly. Refer to Exhaust Manifold Replacement in Engine Exhaust.
    8. Install the oil feed line to the turbocharger.
    9. Install the joint bolt to the oil feed line.
    10. Tighten
      Tighten the joint bolts to 18 N·m (13 lb ft).

    11. Connect the gasket to the exhaust pipe adapter.
    12. Connect the exhaust pipe adapter to the turbocharger.
    13. Install the bolts and washers.
    14. Tighten
      Tighten the bolts to 26 N·m (19 lb ft).

    15. Connect the heat shield to the starter.
    16. Install the coolant feed lines.
    17. Install the coolant return lines.
    18. Connect the air inlet hose to the charge air cooler.
    19. Connect the air inlet hose to the turbocharger.
    20. Connect the air inlet hose to the air intake duct.
    21. Connect the negative battery cables.
    22. Lower the cab.
    23. Perform the turbocharger learn procedure. Refer to Turbocharger Learn .

    Turbocharger Replacement w/ CTF

    Removal Procedure

      Notice: If a turbocharger has failed, clean any turbocharger debris or excessive oil from the charge air cooler system before installing the new turbocharger. Failure to clean debris from the charge air cooler system will cause severe turbocharger and engine damage upon startup. Failure to clean excessive oil from the charge air cooler system may cause an engine runaway condition on startup, resulting in severe engine damage.

    1. Tilt the cab. Refer to Cab Tilting in General Information.
    2. Disconnect the negative battery cable at the battery. Refer to Battery Negative Cable Disconnection and Connection in Engine Electrical.
    3. Remove the air inlet pipe from the turbocharger and the charge air cooler . Refer to Charge Air Cooler Inlet Pipe and Outlet Pipe Replacement .

    4. Object Number: 1400959  Size: SH
    5. Remove the exhaust pipe clamp and the exhaust pipe from the exhaust pipe adapter.

    6. Object Number: 1253437  Size: SH
    7. Loosen the 2 clamps and remove the air inlet duct from the turbocharger and the air inlet tube.

    8. Object Number: 1401155  Size: SH
    9. Remove the heat shield bolts (5) and the heat shield (4) from the turbocharger.
    10. Remove the heat shield adapter bolts (1, 3) and the heat shield adapter (2) from the turbocharger and the manifold.

    11. Object Number: 1401136  Size: SH
    12. Disconnect the turbocharger vane position sensor electrical connector (1).
    13. Disconnect the turbocharger vane position control solenoid electrical connector (2).

    14. Object Number: 1369870  Size: SH
    15. Remove the coolant feed line eye bolts (6), washers (4) and the coolant feed line (5) from the turbocharger and the engine block.
    16. Remove the coolant return line eye bolt (1), washer (2) and the coolant return line (3) from the turbocharger.
    17. Remove the coolant return line clamp bolt and clamp.

    18. Object Number: 1369897  Size: SH
    19. Remove the oil feed pipe eye bolts (5, 9), gaskets (6, 10) and the oil feed pipe (1) from the engine block and the turbocharger.
    20. Remove the oil return tube bolts (3, 7) oil return tube (2) and gaskets (4, 8) from the turbocharger and the engine block.
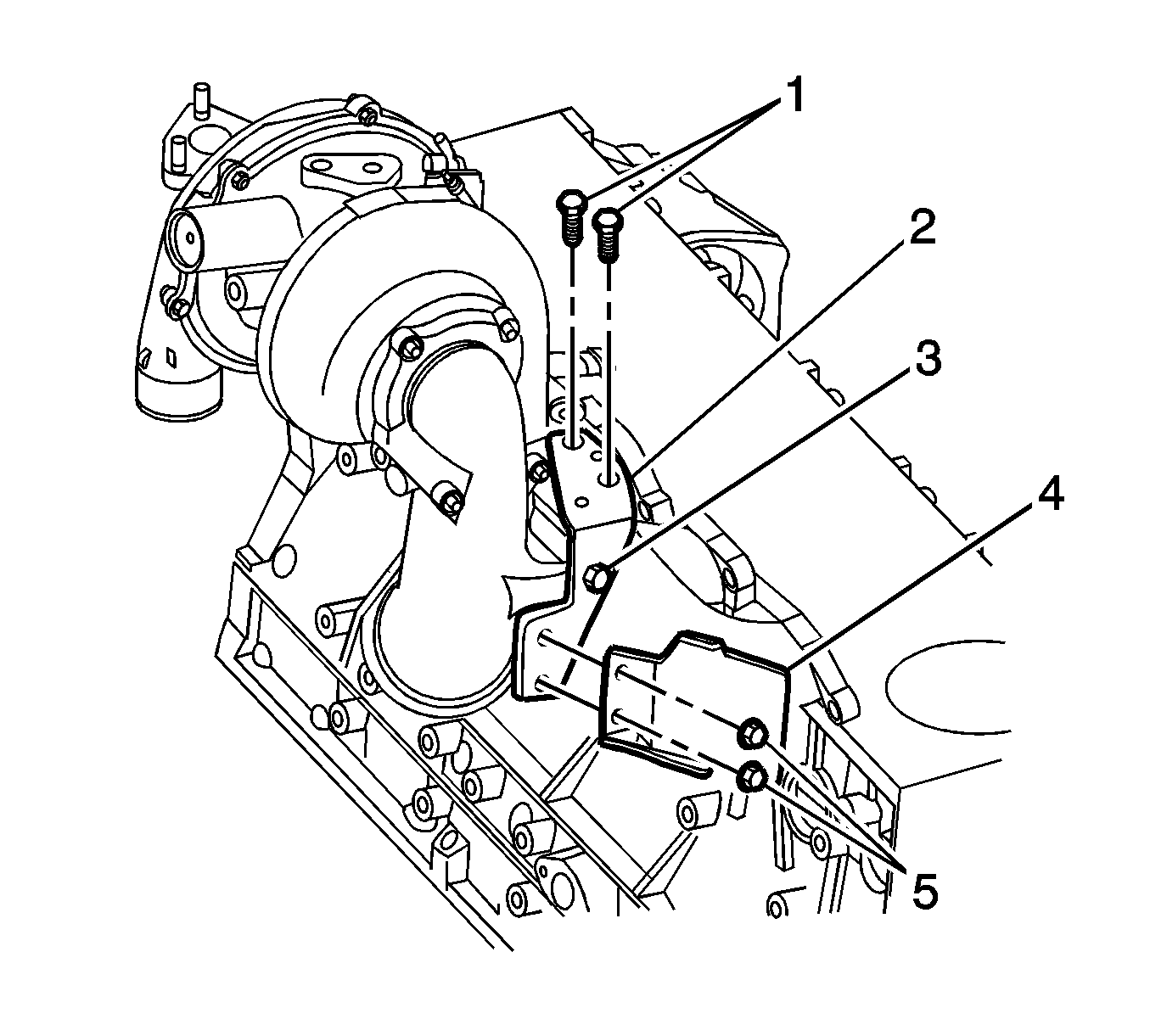
    21. Remove the exhaust pipe adapter bracket bolts (5, 7) and the exhaust pipe adapter bracket (6) from the exhaust pipe adapter bracket base (9) and the exhaust pipe adapter (4).
    22. Remove the exhaust pipe adapter bracket base bolts (8, 10) and the exhaust pipe adapter bracket base (9) from the engine block and the exhaust pipe adapter (4).

    23. Object Number: 1369876  Size: SH
    24. Remove the exhaust pipe adapter nuts and washers (2, 3), the exhaust pipe adapter (4) and the exhaust pipe adapter gasket (1) from the turbocharger.

    25. Object Number: 1369898  Size: SH
    26. Remove the turbocharger nuts and washers (3), bolts (4), turbocharger (1) and gasket (2) from the exhaust manifold.

    Bearing Radial Clearance Measurement Procedure


      Object Number: 736622  Size: SH
    1. Use a dial indicator with an offset plunger and magnetic base. Set the plunger so that the indicator touches the turbocharger main shaft.
    2. Set the dial indicator to 0.
    3. Hold the turbocharger shaft to prevent it from moving. Move the compressor and turbine wheel up and down. Read the shaft diametrical play, compressor and turbine side clearance, on the dial indicator.
    4. Specification
      Compressor and Turbine Shaft Play: 0.108-0.140 mm (0.0043-0.0055 in)

    Compressor End Play Measurement Procedure


      Object Number: 737438  Size: SH
    1. Use a dial indicator with an offset plunger and magnetic base. Set the plunger so that the indicator touches the turbocharger main shaft.
    2. Set the dial indicator to 0.
    3. Move the turbocharger shaft back and forth. Read the thrust end play, compressor clearance, on the dial indicator.
    4. Specification
      Thrust End Play: 0.045-0.090 mm (0.0018-0.0035 in)

    Inspection Procedure

    1. Inspect the gasket mating surfaces of the turbocharger for cracks.
    2. Inspect the turbine blades for carbon residue and other damage.
    3. Use your hand to rotate the compressor wheel. The compressor wheel must turn smoothly and freely. There must be no binding or abnormal noise.

    Installation Procedure


      Object Number: 1369898  Size: SH
    1. Install the gasket (2). The unmarked side of the gasket must be facing the exhaust manifold.
    2. Install the turbocharger (1) to the exhaust manifold.
    3. Notice: Refer to Fastener Notice in the Preface section.


      Object Number: 1369897  Size: SH
    4. Install the oil drain tube (2) and gaskets (4, 8) to the turbocharger and cylinder block with bolts (3, 7).
    5. Tighten
      Tighten the oil drain tube bolts (3, 7) to 25 N·m (18 lb ft).


      Object Number: 1369898  Size: SH
    6. Install the washers and nuts (3) to the exhaust manifold bolts (4).
    7. Tighten
      Tighten the turbocharger nuts (3) to 52 N·m (38 lb ft).


      Object Number: 1369897  Size: SH

      Important: Pour 118.3 ml (4 ounces) of clean engine oil into the oil feed port to pre-lubricate the turbocharger. Turn the compressor wheel with your hand to distribute the oil.

    8. Install the oil feed pipe (1) and gaskets (6) to the turbocharger and cylinder block with eye bolts (5, 9).
    9. Tighten

          • Tighten the eye bolt (9) to 34 N·m (25 lb ft).
          • Tighten the eye bolt (5) to 41 N·m (30 lb ft).
    10. Install the oil feed pipe clamp and bolt.

    11. Object Number: 1369876  Size: SH
    12. Install the gasket (1) to the exhaust pipe adapter (4).
    13. Connect the exhaust pipe adapter (4) to the turbocharger.
    14. Install the exhaust pipe adapter nuts and washers (2, 3) to the turbocharger.
    15. Tighten
      Tighten the exhaust pipe adapter nuts to 26 N·m (19 lb ft).

    16. Install the exhaust pipe adapter bracket base (9) to the cylinder block with bolts (8, 10).
    17. Tighten

          • Tighten the exhaust pipe adapter bracket base bolt (10) to 148 N·m (109 lb ft).
          • Tighten the exhaust pipe adapter bracket base bolt (8) to 24 N·m (18 lb ft).
    18. Install the exhaust pipe adapter bracket (6) to the exhaust pipe adapter bracket base (9) and the turbocharger with bolts (5, 7).
    19. Tighten

          • Tighten the exhaust pipe adapter bracket bolt (7) to 97 N·m (72 lb ft).
          • Tighten the exhaust pipe adapter bracket bolt (5) to 50 N·m (37 lb ft).

      Object Number: 1401155  Size: SH
    20. Install the heat shield adapter bracket (2) to the exhaust manifold and the exhaust pipe adapter assembly.
    21. Tighten
      Tighten the heat shield adapter bracket bolts (1, 3) to 71 N·m (52 lb ft).

    22. Install the heat shield (4) to the heat shield adapter bracket (2) with 2 bolts (5).
    23. Tighten
      Tighten the heat shield bolts (5) to 24 N·m (18 lb ft).


      Object Number: 1369859  Size: SH
    24. Install the water pipes (1, 4) to the turbocharger with 2 gaskets (2, 5) and eye bolts (3, 6).
    25. Tighten
      Tighten the joint bolts (3, 6) to 41 N·m (30 lb ft).


      Object Number: 1401136  Size: SH
    26. Connect the turbocharger vane position sensor electrical connector (1).

    27. Object Number: 1335540  Size: SH
    28. Connect the turbocharger vane position control solenoid electrical connector.

    29. Object Number: 1400959  Size: SH
    30. Install the exhaust pipe to the exhaust pipe adapter with clamp.

    31. Object Number: 1253437  Size: SH
    32. Install the inlet duct to the turbocharger and the air inlet tube with 2 clamps.
    33. Connect the air inlet hose to the turbocharger and the charge air cooler. Refer to Charge Air Cooler Inlet Pipe and Outlet Pipe Replacement .
    34. Connect the negative battery cable at the battery. Refer to Battery Negative Cable Disconnection and Connection in Engine Electrical.
    35. Lower the cab.
    36. Perform the turbocharger learn procedure. Refer to Turbocharger Learn .