Item | Description - Components | Air Line | Description - Tubes POA Harness | Description - Tubes Not in Harness | Tube | |
|---|---|---|---|---|---|---|
Color | Inside Diameter | |||||
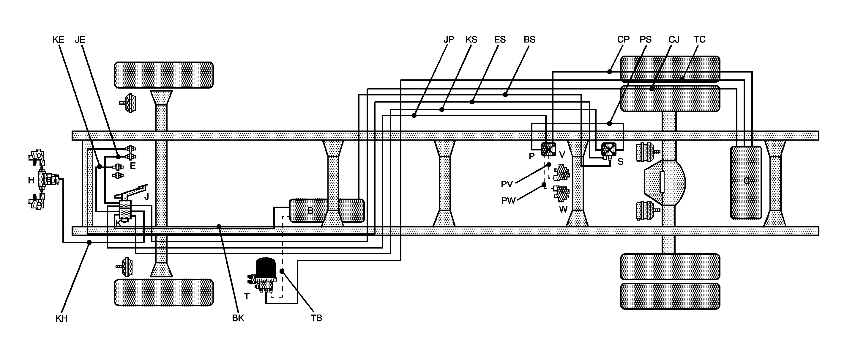
B | Reservoir - Secondary Circuit, Front Brakes | -- | -- | -- | -- | -- |
C | Primary Circuit Reservoir, Rear Brakes | -- | -- | -- | -- | -- |
E | Cab Floor Bulkhead Connectors | -- | -- | -- | -- | -- |
H | Tee-Front Modulator Valves | -- | -- | -- | -- | -- |
J | Application Valve - Primary Circuit | -- | -- | -- | -- | -- |
K | Application Valve - Secondary Circuit | -- | -- | -- | -- | -- |
P | Rear Service Relay Valve | -- | -- | -- | -- | -- |
S | Spring Brake Modulator Relay Valve | -- | -- | -- | -- | -- |
T | Air Dryer | -- | -- | -- | -- | -- |
V | RH Rear Modulator | -- | -- | -- | -- | -- |
W | LH Rear Modulator | -- | -- | -- | -- | -- |
-- | -- | BK | Front Reservoir to Application Valve Secondary | -- | Orange | 15.9 mm |
-- | -- | BS | Reservoir Secondary to Spring Brake Modulator Relay Valve | -- | Orange | 12.7 mm |
-- | -- | CJ | Reservoir Primary to Application Valve Primary | -- | Green | 15.9 mm |
-- | -- | CP | RR Reservoir to Service Relay Valve | -- | Green | 15.9 mm |
-- | -- | ES | Cab Floor Bulkhead Connector to Spring Brake Modulator Relay Valve | -- | Yellow | 9.5 mm |
-- | -- | JE | Application Valve Primary to Cab Floor Connector | -- | Red | 9.5 mm |
-- | -- | JP | Application Valve Primary to Rear Service Relay | -- | Green | 9.5 mm |
-- | -- | KE | Application Valve Secondary to Cab Floor Connector | -- | Red | 9.5 mm |
-- | -- | KH | Application Valve Secondary to Frame Connector | -- | Orange | 12.7 mm |
-- | -- | KS | Application Valve Secondary to Spring Brake Modulator Relay Valve | -- | Orange | 9.5 mm |
-- | -- | PS | RR Service Relay to Spring Brake Modulator Relay Valve | -- | Green | 9.5 mm |
-- | -- | TC | Air Dryer to Reservoir Primary | -- | Green | 12.7 mm |
-- | -- | PV | -- | Rear Service Relay to RH Rear Modulator (POA VLV) | Green | 15.9 mm |
-- | -- | PW | -- | Rear Service Relay to LH Rear Modulator (POA VLV) | Green | 15.9 mm |
-- | -- | TB | -- | Air Dryer to Reservoir Secondary | Orange | 12.7 mm |
Item | Description - Components | Air Line | Description - Tubes POA Harness | Description - Tubes Not in Harness | Tube | |
|---|---|---|---|---|---|---|
Color | Inside Diameter | |||||
B | Reservoir - Secondary Circuit, Front Brakes | -- | -- | -- | -- | -- |
C | Primary Circuit Reservoir, Rear Brakes | -- | -- | -- | -- | -- |
E | Cab Floor Bulkhead Connectors | -- | -- | -- | -- | -- |
F | Cab Floor Bulkhead Connectors | -- | -- | -- | -- | -- |
H | Quick Release Valve, Front Brakes | -- | -- | -- | -- | -- |
J | Application Valve - Primary Circuit | -- | -- | -- | -- | -- |
K | Application Valve - Secondary Circuit | -- | -- | -- | -- | -- |
N | Tractor Protection Valve | -- | -- | -- | -- | -- |
P | Rear Service Relay Valve | -- | -- | -- | -- | -- |
S | Spring Brake Modulator Relay Valve | -- | -- | -- | -- | -- |
T | Air Dryer | -- | -- | -- | -- | -- |
V | RH Rear Modulator | -- | -- | -- | -- | -- |
W | LH Rear Modulator | -- | -- | -- | -- | -- |
Y | Trailer Coupling - Control | -- | -- | -- | -- | -- |
Z | Trailer Coupling - Supply | -- | -- | -- | -- | -- |
-- | -- | BK | Front Reservoir to Application Valve Secondary | -- | Green | 15.9 mm |
-- | -- | BS | Reservoir Secondary to Spring Brake Modulator Relay Valve | -- | Orange | 12.7 mm |
-- | -- | CJ | Reservoir Primary to Application Valve Primary | -- | Green | 15.9 mm |
-- | -- | CP | RR Reservoir to Service Relay Valve | -- | Green | 15.9 mm |
-- | -- | EN | Cab Floor Bulkhead Connector to Tractor Protection Valve | -- | Yellow | 9.5 mm |
-- | -- | ES | Cab Floor Bulkhead Connector to Spring Brake Modulator Relay Valve | -- | Yellow | 9.5 mm |
-- | -- | FN | Cab Floor Bulkhead Connector to Tractor Protection Valve | -- | Yellow | 9.5 mm |
-- | -- | KE | Application Valve Secondary to Cab Floor Connector | -- | Red | 9.5 mm |
-- | -- | KF | Application Valve Secondary to Cab Floor Connector | -- | Red | 9.5 mm |
-- | -- | KH | Application Valve Secondary to Frame Connector | -- | Orange | 12.7 mm |
-- | -- | KN | Application Valve Secondary to Tractor Protection Valve | -- | Orange | 12.7 mm |
-- | -- | JE | Application Valve Primary to Cab Floor Connector | -- | Red | 9.5 mm |
-- | -- | JN | Application Valve Primary to Tractor Protection Valve | -- | Green | 12.7 mm |
-- | -- | NP | Tractor Protection Valve to Rear Service Relay | -- | Green | 9.5 mm |
-- | -- | NS | Tractor Protection Valve to Spring Brake Modulator Relay Valve | -- | Orange | 9.5 mm |
-- | -- | NY | Tractor Protection Valve to Trailer Coupling - Control | -- | Green | 9.5 mm |
-- | -- | NZ | Tractor Protection Valve to Trailer Coupling - Supply | -- | Green | 12.7 mm |
-- | -- | PS | RR Service Relay to Spring Brake Modulator Relay Valve | -- | Green | 9.5 mm |
-- | -- | TC | Air Dryer to Reservoir Primary | -- | Green | 12.7 mm |
-- | -- | PV | -- | Rear Service Relay to RH Rear Modulator (POA VLV) | Green | 15.9 mm |
-- | -- | PW | -- | Rear Service Relay to LH Rear Modulator (POA VLV) | Green | 15.9 mm |
-- | -- | TB | -- | Air Dryer to Reservoir Secondary | Orange | 12.7 mm |
Item | Description - Components | Air Line | Description - Tubes POA Harness | Description - Tubes Not POA Harness | Tube | |
|---|---|---|---|---|---|---|
Color | Inside Diameter | |||||
B | Reservoir - Secondary Circuit, Front Brakes | -- | -- | -- | -- | -- |
C | Primary Circuit Reservoir, Rear Brakes | -- | -- | -- | -- | -- |
E | Cab Floor Bulkhead Connectors | -- | -- | -- | -- | -- |
F | Cab Floor Bulkhead Connectors | -- | -- | -- | -- | -- |
G | Quick Release Valve with Double Check | -- | -- | -- | -- | -- |
H | Quick Release Valve, Front Brakes | -- | -- | -- | -- | -- |
J | Application Valve - Primary Circuit | -- | -- | -- | -- | -- |
K | Application Valve - Secondary Circuit | -- | -- | -- | -- | -- |
N | Tractor Protection Valve | -- | -- | -- | -- | -- |
P | Rear Service Relay Valve | -- | -- | -- | -- | -- |
T | Air Dryer | -- | -- | -- | -- | -- |
V | RH Rear Modulator | -- | -- | -- | -- | -- |
W | LH Rear Modulator | -- | -- | -- | -- | -- |
Y | Trailer Coupling - Control | -- | -- | -- | -- | -- |
Z | Trailer Coupling - Supply | -- | -- | -- | -- | -- |
-- | -- | BK | Reservoir Secondary to Application Valve Secondary | -- | Orange | 15.9 mm |
-- | -- | CJ | Reservoir Primary to Application Valve Primary | -- | Green | 15.9 mm |
-- | -- | CP | RR Reservoir to Service Relay Valve | -- | Green | 12.7 mm |
-- | -- | EG | Cab Floor Bulkhead Connector to Quick Release Valve with Double Check | -- | Yellow | 9.5 mm |
-- | -- | EN | Cab Floor Bulkhead Connector to Tractor Protection Valve | -- | Yellow | 9.5 mm |
-- | -- | FN | Cab Floor Bulkhead Connector to Tractor Protection Valve | -- | Yellow | 9.5 mm |
-- | -- | JE | Application Valve Primary to Cab Floor Bulkhead Connector | -- | Red | 9.5 mm |
-- | -- | JN | Application Valve Primary to Tractor Protection Valve | -- | Green | 12.7 mm |
-- | -- | KE | Application Valve Secondary to Cab Floor Bulkhead Connector | -- | Red | 9.5 mm |
-- | -- | KF | Application Valve Secondary to Cab Floor Bulkhead Connector | -- | Red | 9.5 mm |
-- | -- | KH | Application Valve Secondary to Quick Release Valve | -- | Orange | 12.7 mm |
-- | -- | KN | Application Valve Secondary to Tractor Protection Valve | -- | Orange | 12.7 mm |
-- | -- | NP | Tractor Protection Valve to Rear Service Relay Valve | -- | Green | 9.5 mm |
-- | -- | NY | Tractor Protection Valve to Trailer Coupling - Control | -- | Blue | 12.7 mm |
-- | -- | NZ | Tractor Protection Valve to Trailer Coupling - Supply | -- | Red | 12.7 mm |
-- | -- | PG | RR Service Relay to Quick Release Valve with Double Check | -- | Yellow | 9.5 mm |
-- | -- | PN | Tractor Protection Valve to Rear Service Relay Valve | -- | Yellow | 9.5 mm |
-- | -- | TC | Air Dryer to Reservoir Primary | -- | Green | 12.7 mm |
-- | -- | PV | -- | Rear Service Relay to RH Rear Modulator (POA VLV) | Green | 15.9 mm |
-- | -- | PW | -- | Rear Service Relay to LH Rear Modulator (POA VLV) | Green | 15.9 mm |
-- | -- | TB | -- | Air Dryer to Reservoir Secondary | Orange | 12.7 mm |
Item | Description - Components | Air Line | Description - Tubes POA Harness | Description - Tubes Not POA Harness | Tube | |
|---|---|---|---|---|---|---|
Color | Inside Diameter | |||||
B | Reservoir - Secondary Circuit, Front Brakes | -- | -- | -- | -- | -- |
C1, C2, C3 | Primary Circuit Reservoirs | -- | -- | -- | -- | -- |
E | Cab Floor Bulkhead Connectors - Park | -- | -- | -- | -- | -- |
H | Tee-Front Modulator Valves | -- | -- | -- | -- | -- |
J | Application Valve - Primary Circuit | -- | -- | -- | -- | -- |
K | Application Valve - Secondary Circuit | -- | -- | -- | -- | -- |
P | Rear Service Relay Valve | -- | -- | -- | -- | -- |
S | Spring Brake Modulator Relay Valve | -- | -- | -- | -- | -- |
T | Air Dryer | -- | -- | -- | -- | -- |
V | RH Rear Modulator | -- | -- | -- | -- | -- |
W | LH Rear Modulator | -- | -- | -- | -- | -- |
3 | Connector - Front Unit Park Brake Delivery | -- | -- | -- | -- | -- |
-- | -- | BK | Reservoir Secondary to Application Valve Secondary | -- | Orange | 15.9 mm |
-- | -- | BS | Reservoir Secondary to Spring Brake Modulator Relay Valve | -- | Orange | 12.7 mm |
-- | -- | C1J | Reservoir Primary to Application Valve Primary | -- | Green | 15.9 mm |
-- | -- | C1P | RR Reservoir to Service Relay Valve | -- | Green | 12.7 mm |
-- | -- | ES | Front of Dash Manifold to Spring Brake Modulator Relay Valve | -- | Yellow | 9.5 mm |
-- | -- | JE | Application Valve Primary to Cab Floor Bulkhead Connector | -- | Red | 9.5 mm |
-- | -- | JP | Application Valve Primary to Rear Service Relay | -- | Green | 9.5 mm |
-- | -- | KE | Application Valve Secondary to Cab Floor Bulkhead Connector | -- | Red | 9.5 mm |
-- | -- | KH | Application Valve Secondary to Quick Release Valve | -- | Orange | 12.7 mm |
-- | -- | KS | Application Valve Secondary to Spring Brake Modulator Relay Valve | -- | Orange | 9.5 mm |
-- | -- | PS | RR Service Relay to Spring Brake Modulator Relay Valve | -- | Green | 9.5 mm |
-- | -- | S3 | Spring Brake Modulator Relay Valve to Front Unit Park Delivery Connector | -- | Yellow | 12.7 mm |
-- | -- | TC | Air Dryer to Reservoir Primary | -- | Green | 12.7 mm |
-- | -- | C2P | -- | RR Reservoir to Service Relay Valve | Green | 12.7 mm |
-- | -- | C2C3 | -- | RR Reservoir to RR Reservoir | Green | 12.7 mm |
-- | -- | PV | -- | Rear Service Relay to RH Rear Modulator | Green | 15.9 mm |
-- | -- | PW | -- | Rear Service Relay to LH Rear Modulator | Green | 15.9 mm |
-- | -- | TB | -- | Air Dryer to Reservoir Secondary | Orange | 12.7 mm |
Item | Description - Components | Air Line | Description - Tubes POA Harness | Description - Tubes Not POA Harness | Tube | |
|---|---|---|---|---|---|---|
Color | Inside Diameter | |||||
B | Reservoir - Secondary Circuit, Front Brakes | -- | -- | -- | -- | -- |
C1, C2, C3 | Primary Circuit Reservoirs | -- | -- | -- | -- | -- |
E | Cab Floor Bulkhead Connectors - Park | -- | -- | -- | -- | -- |
F | Cab Floor Bulkhead Connectors - Trailer Control | -- | -- | -- | -- | -- |
H | Quick Release Valve, Front Brakes | -- | -- | -- | -- | -- |
J | Application Valve - Primary Circuit | -- | -- | -- | -- | -- |
K | Application Valve - Secondary Circuit | -- | -- | -- | -- | -- |
N | Tractor Protection Valve | -- | -- | -- | -- | -- |
P | Rear Service Relay Valve | -- | -- | -- | -- | -- |
S | Spring Brake Modulator Relay Valve | -- | -- | -- | -- | -- |
T | Air Dryer | -- | -- | -- | -- | -- |
V | RH Rear Modulator | -- | -- | -- | -- | -- |
W | LH Rear Modulator | -- | -- | -- | -- | -- |
Y | Trailer Coupling - Supply | -- | -- | -- | -- | -- |
Z | Trailer Coupling - Supply | -- | -- | -- | -- | -- |
3 | Connector - Front Unit Park Brake Delivery | -- | -- | -- | -- | -- |
-- | -- | BK | Front Reservoir to Application Valve Secondary | -- | Orange | 15.9 mm |
-- | -- | BS | Dual Reservoir Secondary to Spring Brake Modulator Relay Valve | -- | Orange | 12.7 mm |
-- | -- | C1J | RR Reservoir to Application Valve Primary | -- | Green | 15.9 mm |
-- | -- | C1P | RR Reservoir to Service Relay Valve | -- | Green | 12.7 mm |
-- | -- | EN | Cab Floor Bulkhead Connector to Tractor Protection Valve | -- | Yellow | 9.5 mm |
-- | -- | ES | Cab Floor Bulkhead Connector to Spring Brake Modulator Relay Valve | -- | Yellow | 9.5 mm |
-- | -- | FN | Cab Floor Bulkhead Connector to Tractor Protection Valve | -- | Yellow | 9.5 mm |
-- | -- | JE | Application Valve Primary to Cab Floor Bulkhead Connector | -- | Red | 9.5 mm |
-- | -- | JN | Application Valve Primary to Tractor Protection Valve | -- | Green | 12.7 mm |
-- | -- | KE | Application Valve Secondary to Cab Floor Bulkhead Connector | -- | Red | 9.5 mm |
-- | -- | KF | Application Valve Secondary to Cab Floor Bulkhead Connector | -- | Red | 9.5 mm |
-- | -- | KH | Application Valve Secondary to Quick Release Valve | -- | Orange | 12.7 mm |
-- | -- | KN | Application Valve Secondary to Tractor Protection Valve | -- | Orange | 12.7 mm |
-- | -- | NP | Tractor Protection Valve to Service Relay Valve | -- | Green | 9.5 mm |
-- | -- | NS | Tractor Protection Valve to Spring Brake Modulator Relay Valve | -- | Orange | 9.5 mm |
-- | -- | NY | Tractor Protection Valve to Trailer Coupling - Control | -- | Blue | 12.7 mm |
-- | -- | NZ | Tractor Protection Valve to Trailer Coupling - Supply | -- | Red | 12.7 mm |
-- | -- | PS | RR Service Relay to Spring Brake Modulator Relay Valve | -- | Green | 9.5 mm |
-- | -- | S3 | Spring Brake Modulator Relay Valve to Front Unit Park Delivery Connector | -- | Yellow | 12.7 mm |
-- | -- | TC | Air Dryer to Reservoir Primary | -- | Green | 12.7 mm |
-- | -- | C2P | -- | RR Reservoir to Service Relay Valve | Green | 12.7 mm |
-- | -- | C2C3 | -- | RR Reservoir to RR Reservoir | Green | 12.7 mm |
-- | -- | PV | -- | Rear Service Relay to RH Rear Modulator | Green | 15.9 mm |
-- | -- | PW | -- | Rear Service Relay to LH Rear Modulator | Green | 15.9 mm |
-- | -- | TB | -- | Air Dryer to Reservoir Secondary | Orange | 12.7 mm |
Item | Description - Components | Air Line | Description - Tubes POA Harness | Description - Tubes Not POA Harness | Tube | |
|---|---|---|---|---|---|---|
Color | Inside Diameter | |||||
B | Reservoir - Secondary Circuit, Front Brakes | -- | -- | -- | -- | -- |
C1, C2, C3 | Primary Circuit Reservoir | -- | -- | -- | -- | -- |
E | Cab Floor Bulkhead Connectors | -- | -- | -- | -- | -- |
F | Cab Floor Bulkhead Connectors | -- | -- | -- | -- | -- |
G | Quick Release Valve with Double Check | -- | -- | -- | -- | -- |
H | Quick Release Valve, Front Brakes | -- | -- | -- | -- | -- |
J | Application Valve - Primary Circuit | -- | -- | -- | -- | -- |
K | Application Valve - Secondary Circuit | -- | -- | -- | -- | -- |
N | Tractor Protection Valve | -- | -- | -- | -- | -- |
P | Rear Service Relay Valve | -- | -- | -- | -- | -- |
T | Air Dryer | -- | -- | -- | -- | -- |
V | RH Rear Modulator | -- | -- | -- | -- | -- |
W | LH Rear Modulator | -- | -- | -- | -- | -- |
Y | Trailer Coupling - Supply | -- | -- | -- | -- | -- |
Z | Trailer Coupling - Supply | -- | -- | -- | -- | -- |
3 | Connector - Front Unit Park Brake Delivery | -- | -- | -- | -- | -- |
-- | -- | BK | Reservoir Secondary to Application Valve Secondary | -- | Orange | 15.9 mm |
-- | -- | C1J | Reservoir Primary to Application Valve Primary | -- | Green | 15.9 mm |
-- | -- | C1P | RR Reservoir to Service Relay Valve | -- | Green | 12.7 mm |
-- | -- | EG | Cab Floor Bulkhead Connector to Quick Release Valve with Double Check | -- | Yellow | 9.5 mm |
-- | -- | EN | Cab Floor Bulkhead Connector to Tractor Protection Valve | -- | Yellow | 9.5 mm |
-- | -- | FN | Cab Floor Bulkhead Connector to Tractor Protection Valve | -- | Yellow | 9.5 mm |
-- | -- | G3 | Spring Brake Modulator Relay Valve to Front Unit Park Delivery Connector | -- | Yellow | 12.7 mm |
-- | -- | JE | Application Valve Primary to Cab Floor Bulkhead Connector | -- | Red | 9.5 mm |
-- | -- | JN | Application Valve Primary to Tractor Protection Valve | -- | Green | 12.7 mm |
-- | -- | KE | Application Valve Secondary to Cab Floor Bulkhead Connector | -- | Red | 9.5 mm |
-- | -- | KF | Application Valve Secondary to Cab Floor Bulkhead Connector | -- | Red | 9.5 mm |
-- | -- | KH | Application Valve Secondary to Frame Connector | -- | Orange | 12.7 mm |
-- | -- | KN | Application Valve Secondary to Tractor Protection Valve | -- | Orange | 12.7 mm |
-- | -- | NP | Tractor Protection Valve to Service Relay Valve | -- | Green | 9.5 mm |
-- | -- | NY | Tractor Protection Valve to Trailer Coupling - Control | -- | Blue | 12.7 mm |
-- | -- | NZ | Tractor Protection Valve to Trailer Coupling - Supply | -- | Red | 12.7 mm |
-- | -- | PG | RR Service Relay to Quick Release Valve with Double Check | -- | Yellow | 9.5 mm |
-- | -- | PN | RR Service Relay to Trailer Control Valve | -- | Yellow | 9.5 mm |
-- | -- | TC1 | Air Dryer to Reservoir Primary | -- | Green | 12.7 mm |
-- | -- | C2P | -- | RR Reservoir to Service Relay Valve | Green | 12.7 mm |
-- | -- | C2C3 | -- | RR Reservoir to RR Reservoir | Green | 12.7 mm |
-- | -- | PV | -- | Rear Service Relay to RH Rear Modulator | Green | 15.9 mm |
-- | -- | PW | -- | Rear Service Relay to LH Rear Modulator | Green | 15.9 mm |
-- | -- | TB | -- | Air Dryer to Reservoir Secondary | Orange | 12.7 mm |
Item | Description - Components | Air Line | Description - Tubes POA Air Brake Harness | Description - Tubes POA Air Suspension Harness | Description - Tubes Not POA Air Harness | Tube | |
|---|---|---|---|---|---|---|---|
Color | Inside Diameter | ||||||
T | Air Dryer | -- | -- | -- | -- | -- | -- |
5 | Air Suspension Leveling Valve | -- | -- | -- | -- | -- | -- |
6 | Dump Valve | -- | -- | -- | -- | -- | -- |
7 | Left Hand Air Bag | -- | -- | -- | -- | -- | -- |
8 | Right Hand Air Bag | -- | -- | -- | -- | -- | -- |
-- | -- | T5 | Air Dryer to Leveling Valve | -- | -- | Violet | 9.5 mm |
-- | -- | 56 | -- | Leveling Valve to Dump Valve | -- | Black | 9.5 mm |
-- | -- | 56 | -- | Leveling Valve to Dump Valve | -- | Black | 6.4 mm |
-- | -- | 78 | -- | LH Air Bag to RH Air Bag | -- | Black | 9.5 mm |
-- | -- | 67 | -- | -- | Dump Valve to LH Air Bag | Black | 9.5 mm |
Item | Description - Components | Volume (Liters) |
|---|---|---|
B | Secondary Circuit Reservoir | 28.34 |
C | Primary Circuit Reservoir | 38.8 |
E | Service Chamber - Front Brake | See Table |
F | Service Chamber - Rear Brake |
Service Chamber Type | Service Chamber Volume (Liters) |
|---|---|
16 | 0.7390 |
20 | 0.8406 |
24 | 1.0984 |
30 | 1.4338 |
Service Chamber Combination | Front Service Chamber | Qty | Rear Service Chamber | Qty | Total Service Chamber Volume (Liters) | Total Service Chamber Volume x 12 (Liters) | Total Reservoir Volume (Liters) |
|---|---|---|---|---|---|---|---|
1 | Type 16 | 2 | Type 30 | 2 | 4.35 | 52.15 | 67.14 |
2 | Type 20 | 2 | Type 30 | 2 | 4.55 | 54.59 | |
3 | Type 24 | 2 | Type 30 | 2 | 5.06 | 60.77 |
Item | Description - Components | Volume (Liters) |
|---|---|---|
B | Secondary Circuit Reservoir | 28.34 |
C1 | Primary Circuit Reservoir | 16.79 |
C2 | Primary Circuit Reservoir | 16.79 |
C3 | Primary Circuit Reservoir | 38.8 |
E | Service Chamber - Front Brake | See Table |
F | Service Chamber - Rear Brake |
Service Chamber Type | Service Chamber Volume (Liters) |
|---|---|
16 | 0.7390 |
20 | 0.8406 |
24 | 1.0984 |
30 | 1.4338 |
Service Chamber Combination | Front Service Chamber | Qty | Rear Service Chamber | Qty | Total Service Chamber Volume (Liters) | Total Service Chamber Volume x 12 (Liters) | Total Reservoir Volume (Liters) |
|---|---|---|---|---|---|---|---|
1 | Type 24 | 2 | Type 30 | 4 | 7.93 | 95.18 | 100.72 |