GM Service Manual Online
For 1990-2009 cars only
Figure 1:

Air Brake Dryer Harness (ABS-Air), Left Forward View


Object Number: 231721  Size: LF
(1)Air Brake Dryer
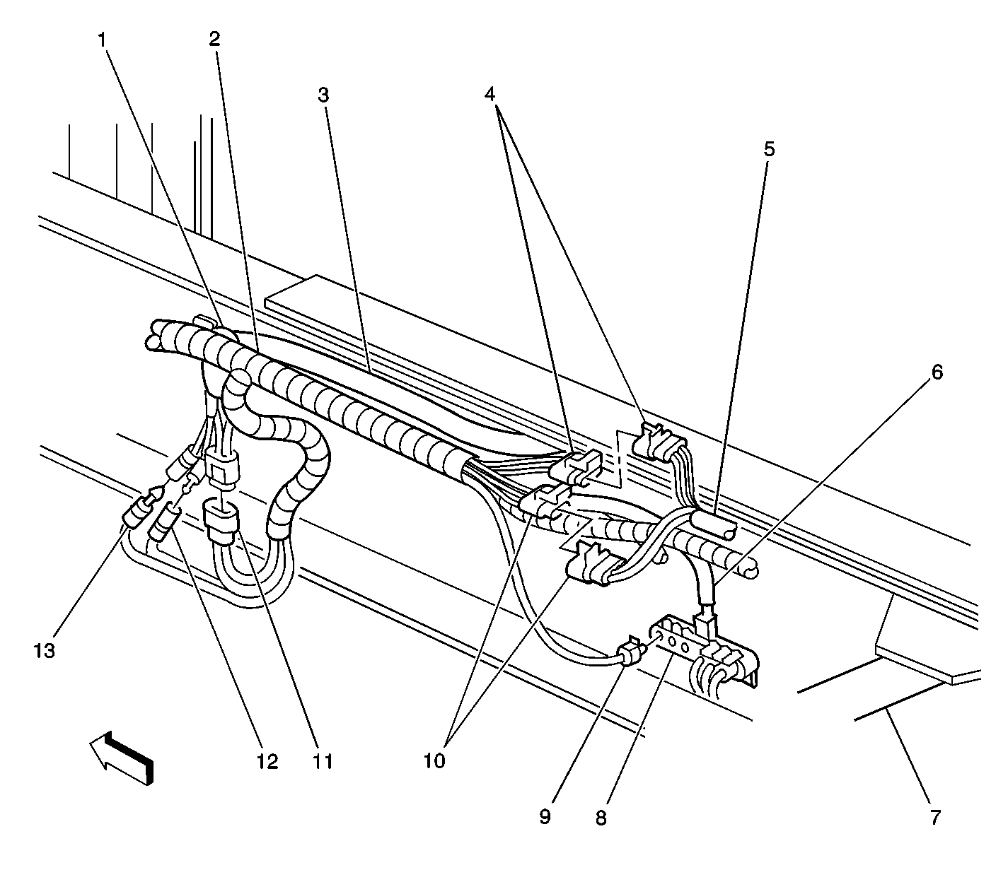
Figure 2:

Air Reservoir


Object Number: 231722  Size: LF
(1)Moisture Ejector Valve
(2)Primary Air Reservoir
(3)Back-of-Cab (BOC) Crossmember
Figure 3:

Air Suspension Dump Valve


Object Number: 397225  Size: LF
(1)Air Suspension Dump Valve
Figure 4:

Front Chassis Harness to Brake Components (JE3)


Object Number: 231487  Size: LF
(1)Brake Fluid Flow Switch
(2)Electronic Brake Control Module (EBCM) (JE3) Connecor X2 (2 cavities)
(3)Electronic Brake Control Module (EBCM) (JE3) Connector X1 (24 cavities)
(4)Electronic Brake Control Module (EBCM) (JE3)
Figure 5:

Front of the Crossmember in Front of the Rear Axle


Object Number: 399761  Size: LF
(1)Rear Chassis Harness
(2)Differential Lock Harness
(3)Front of Axle Crossmember
(4)Differential Lock Control Valve (HNB)
Figure 6:

Electronic Brake Controls Harness and Components (JE4)


Object Number: 231756  Size: LF
(1)Right Rear Wheel Speed Sensor (WSS)
(2)Right Rear Gender Adapter Connector (4 male-to-male cavities)
(3)Right Rear Brake Pressure Modulator Valve (BPMV)
(4)Left Rear Brake Pressure Modulator Valve (BPMV)
(5)Left Rear Wheel Speed Sensor (WSS)
(6)Left Rear Gender Adapter Connector (4 male-to-male cavities)
Figure 7:

Front Chassis Harness to Brake Components


Object Number: 231739  Size: LF
(1)Brake Pressure Modulator Valve (BPMV), Right Side Front
(2)BPMV, Left Side Front
Figure 8:

Front Chassis Harness to Right Side Frame


Object Number: 628192  Size: LF
(1)Starter Relay
(2)Front Chassis Harness
(3)Battery Cable
(4)X403
(5)Rear Chassis Harness
(6)Negative Battery Cable
(7)Transmission Support Crossmember
(8)Ground Block - Part of Negative Battery Cable
(9)G407
(10)X405
(11)Starter Relay Connector X3
(12)Starter Relay Connector X1
(13)Starter Relay Connector X2
Figure 9:

Front Wheel Speed Sensor (WSS)


Object Number: 231740  Size: LF
(1)Wheel Speed Sensor (WSS) - Right Front
Figure 10:

Fuel Tank Harness to Fuel Level Controls, Left Side Front View


Object Number: 628251  Size: LF
(1)Fuel Sender and Balance Pump Control Module
(2)Fuel Sender and Balance Pump Control Module Connector
(3)Fuel Transfer Pump Relay
(4)Fuel Tank Harness to Left Side Tank
(5)Back of Cab Crossmember
Figure 11:

Fuel Senders, G400, Low Air Alarms, Splice Pack SP400 (Ground Block) - LG4/LG5


Object Number: 953488  Size: LF
(1)Fuel Sender - Primary
(2)Fuel Tank
(3)Low Air Pressure Switch - Primary
(4)Low Air Pressure Switch - Secondary
(5)Splice Pack JX400 (Ground Block - 6 cavities)
(6)Fuel Sender - Secondary Connector
(7)Ground G400
(8)Fuel Sender - Secondary
(9)Fuel Tank - Secondary
Figure 12:

Fuel Components


Object Number: 1991849  Size: LF
(1)Fuel Sender - Secondary (NG7, NJ7, NJ8 or NNQ)
(2)Fuel Sender (NG7, NJ7, NK6, NJ8, NNQ or NNV)
(3)Water-In-Fuel Sensor (NWB)
Figure 13:

Fuel Tank Harness, Left Side


Object Number: 231729  Size: MF
(1)Fuel Sender
(2)Fuel Tank
Figure 14:

Water in Fuel Sensor


Object Number: 1990208  Size: MF
(1)Water in Fuel Sensor
(2)Fuel Filter Primary
Figure 15:

Fuel Tank Harness, Left Side


Object Number: 628248  Size: LF
(1)Fuel Sending Unit Connector
(2)Fuel Tank Sender
(3)Fuel Transfer Pump Connector
(4)Fuel Transfer Pump
(5)Back of Cab Crossmember
(6)Fuel Tank Harness
(7)X411
(8)Rear Chassis Harness
Figure 16:

Low Air Pressure Switch


Object Number: 402098  Size: LF
(1)Low Air Pressure Switch (JE4)
Figure 17:

Front Chassis Harness to Brake Components


Object Number: 231480  Size: LF
(1)Power Brake Booster Pump (JE3)
(2)Power Brake Booster Pump Motor (JE3)
(3)Brake Fluid Level Switch (JE3)
Figure 18:

Front of the Left Rear Axle Housing


Object Number: 399756  Size: LF
(1)Rear Axle Shift Motor - Two Speed (HPZ)
Figure 19:

Front of the Crossmember, Forward of the Rear Axle


Object Number: 399764  Size: LF
(1)Rear Axle Shift Relay - Two Speed (HPZ)
(2)X404 Rear Chassis Harness to Axle Harness Connector
Figure 20:

Left Side of Frame Rail


Object Number: 1991845  Size: LF
(1)Frame Rail-Left Side
(2)Fuse Block 2
(3)Fuse Block 1
Figure 21:

Rear of Frame, Right Rear View


Object Number: 231761  Size: MF
(1)Wheel Speed Sensor (WSS) -- Left Rear
Figure 22:

Trailer Front Harness to Cab Bridge, Left Forward View


Object Number: 231704  Size: LF
(1)Trailer Receptacle