GM Service Manual Online
For 1990-2009 cars only

Removal Procedure


    Object Number: 214253  Size: SH
  1. Remove the lower assist step from the assist step support.

  2. Object Number: 214259  Size: SH
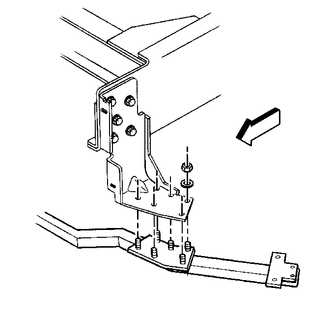
  3. Remove the assist step support from the assist step support bracket.

Installation Procedure


    Object Number: 214259  Size: SH
  1. Install the lower assist step support to the assist step support bracket.

  2. Object Number: 214253  Size: SH

    Notice: Use the correct fastener in the correct location. Replacement fasteners must be the correct part number for that application. Fasteners requiring replacement or fasteners requiring the use of thread locking compound or sealant are identified in the service procedure. Do not use paints, lubricants, or corrosion inhibitors on fasteners or fastener joint surfaces unless specified. These coatings affect fastener torque and joint clamping force and may damage the fastener. Use the correct tightening sequence and specifications when installing fasteners in order to avoid damage to parts and systems.

  3. Install the lower assist step to the assist step support.
  4. Tighten

    1. Tighten the bolt to 45 N·m (33 lb ft).
    2. Tighten the nut to 23 N·m (17 lb ft).