GM Service Manual Online
For 1990-2009 cars only
Figure 1:

Cell 10: 1 of 4


Object Number: 522596  Size: FS
Handling ESD Sensitive Parts Notice
Power and Grounding Component Views
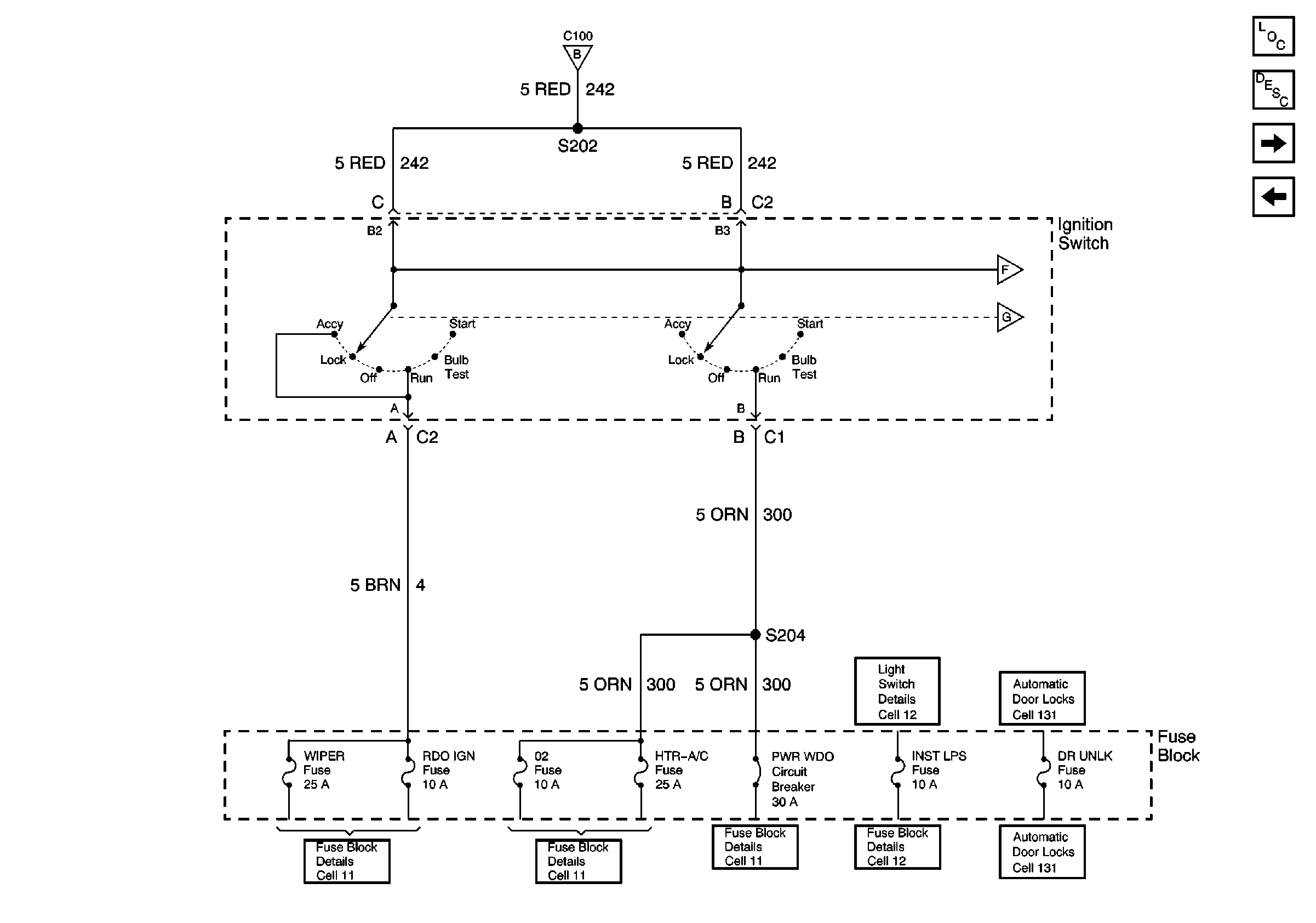
Cell 10: 2 of 4
Handling ESD Sensitive Parts Notice
Fuse Block Schematics
ABS/ETS Schematics
Fuse Block Schematics
Figure 2:

Cell 10: 2 of 4


Object Number: 522608  Size: FS
Power and Grounding Component Views
Cell10: 3 of 4
Cell 10: 1 of 4
Fuse Block Schematics
Fuse Block Schematics
Fuse Block Schematics
Fuse Block Schematics
Fuse Block Schematics
Figure 3:

Cell10: 3 of 4


Object Number: 522609  Size: FS
Power and Grounding Component Views
Cell 10: 4 of 4
Cell 10: 2 of 4
Fuse Block Schematics
Fuse Block Schematics
Fuse Block Schematics
Door Lock/Indicator Schematics
Door Lock/Indicator Schematics
Figure 4:

Cell 10: 4 of 4


Object Number: 522610  Size: FS
Power and Grounding Component Views
Cell10: 3 of 4
Fuse Block Schematics
Fuse Block Schematics
Fuse Block Schematics