GM Service Manual Online
For 1990-2009 cars only
Makes
🢒
Oldsmobile
🢒
1998
🢒
Achieva
🢒 Cell 14: G200 - Buick
Cell 14: G200 - Buick
Cell 14: G200 - Buick
Handling ESD Sensitive Parts Notice
Handling ESD Sensitive Parts Notice
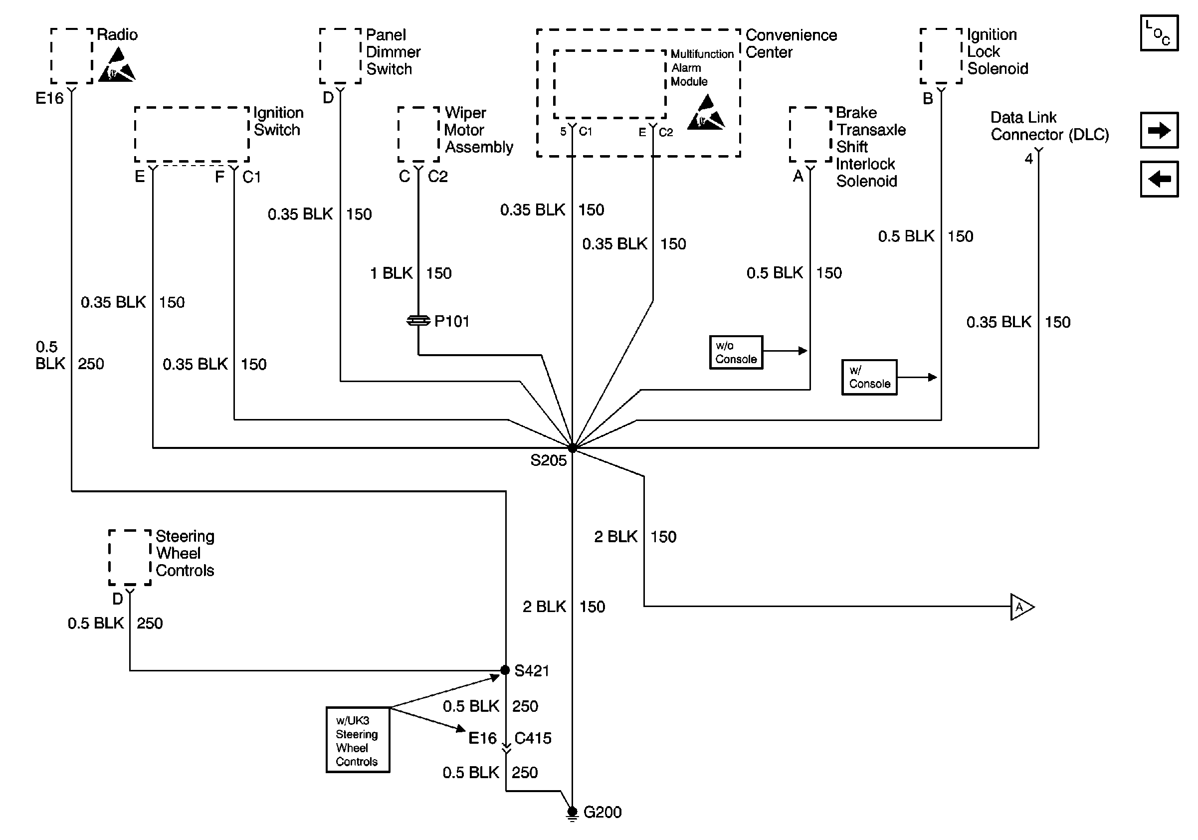
Power and Grounding Component Views
Cell 14: G200 and G303 - Buick
Cell 14: G100 and G111