GM Service Manual Online
For 1990-2009 cars only

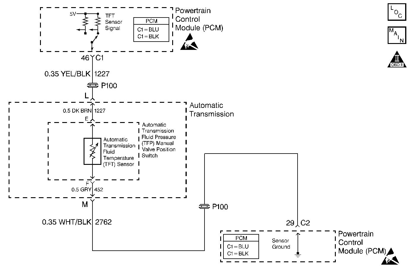
DTC P0711 TFT Sensor Circuit Range/Performance 2.4L


Object Number: 316057  Size: MF
Automatic Transmission Components
Automatic Transmission Controls Schematics
OBD II Symbol Description Notice
Handling ESD Sensitive Parts Notice
Handling ESD Sensitive Parts Notice

Circuit Description

The automatic transmission fluid temperature (TFT) sensor is a negative coefficient thermistor. When the transmission fluid is cold, the sensor resistance is high. As the transmission fluid warms, the sensor resistance decreases. This diagnostic monitors the TFT circuit. The circuit may be functional, but not in the normal operating range. This diagnostic indicates stuck, erratic, intermittent, or skewed values, indicating faulty system performance. The TFT range is -40 to +151°C (-40 to +305°F).

When the PCM detects an intermittent voltage or no voltage change in the TFT sensor circuit, then DTC P0711 sets. DTC P0711 is a type D DTC.

Conditions for Running the DTC

    • No VSS DTCs P0502 or P0503.
    • No A/T ISS DTCs P0716 or P0717.
    • The transmission fluid temperature at start-up is -40 to 21°C (-40 to 70°F).
    • The system voltage is 8-18 volts.
    • The engine run time is greater than 5 minutes.
    • The vehicle speed is greater than 8 km/h (5 mph) for 6 minutes and 49 seconds cumulatively.
    • The TCC slip is greater than 300 RPM for 6 minutes and 49 seconds cumulatively.
    • The engine coolant temperature is greater than 70°C (158°F).
    • The engine coolant temperature has changed by greater than 50°C (90°F) since start-up.

Conditions for Setting the DTC

One of the following conditions occurs:

    • The change in transmission fluid temperature is less than 1.5°C (2°F) since start-up for 20 seconds.
    • The change in transmission fluid temperature is greater than 20°C (36°F) within 200 milliseconds; 14 times within 7 seconds.

Action Taken When the DTC Sets

    • The PCM does not illuminate the malfunction indicator lamp (MIL).
    • The PCM freezes shift adapts from being updated.
    • The PCM calculates a default transmission fluid temperature based on engine coolant temperature, manifold air temperature, and engine run time.
    • The PCM stores DTC P0711 in PCM history.

Conditions for Clearing the DTC

    • A scan tool clears the DTC from PCM history.
    • The PCM clears the DTC from PCM history if the vehicle completes 40 consecutive warm-up cycles without a non-emission-related diagnostic fault occurring.
    • The PCM cancels the DTC default actions when the fault no longer exists and the ignition switch is OFF long enough in order to power down the PCM.

Diagnostic Aids

    • Inspect the wiring at the PCM, the transmission 20-way connector, the TFP manual valve position switch 6-way connector, and all other circuit connecting points for the following conditions:
       - A backed out terminal
       - A damaged terminal
       - Reduced terminal tension
       - A chafed wire
       - A broken wire inside the insulation
       - Moisture intrusion
       - Corrosion
    • Test the TFT sensor at various temperature levels to evaluate the possibility of a skewed (mis-scaled) sensor.
    • When diagnosing for an intermittent short or open condition, massage the wiring harness while watching the test equipment for a change.
    • Inspect the transmission 20-way connector for transmission fluid.

Test Description

The numbers below refer to the step numbers on the diagnostic table.

  1. This step tests for an intermittent short or open condition in the engine wiring harness. The test light is used as a resistor in the circuit.

  2. This step determines if the PCM or the TFT sensor is causing a steady, unchanging TFT reading.

DTC P0711 TFT Sensor Circuit -- Range/Performance (2.4L)

Step

Action

Value(s)

Yes

No

1

Was the Powertrain On-Board Diagnostic (OBD) System Check performed?

--

Go to Step 2

Go to Powertrain On Board Diagnostic (OBD) System Check

2

Was the Transmission Fluid Checking Procedure performed?

--

Go to Step 3

Go to Transmission Fluid Check

3

  1. Install the Scan Tool .
  2. Turn the ignition switch to the RUN position.
  3. Important: Before clearing the DTCs, use the scan tool in order to record the Failure Records. Using the Clear Info function erases the Failure Records from the PCM.

  4. Record the Failure Records.
  5. Clear the DTCs.
  6. Select TFT on the scan tool.
  7. Drive the vehicle and observe the scan tool for either of the following fail conditions:
  8. • The TFT does not change greater than 1.5°C (2.7°F) in 20 seconds since startup.
    • The TFT changes greater than 20°C (36°F) in 0.200 second, 14 times within 7 seconds (unrealistic change).

Did either of the fail conditions occur?

--

Go to Step 4

Go to Diagnostic Aids

4

Did the scan tool display a condition in which the TFT does not change by greater than the specified value in 20 seconds since startup?

1.5°C (2.7°F)

Go to Step 6

Go to Step 5

5

  1. Turn the ignition switch OFF.
  2. Disconnect the transmission 20-way connector.
  3. Install the J 39775 jumper harness on the engine side of the 20-way connector.
  4. Using the J 35616-A connector test adapter kit, connect a test light from terminal L to terminal M.
  5. Turn the ignition switch to the RUN position.
  6. While observing the scan tool display, move or massage the engine wiring harness from PCM connectors C1 and C2 to the transmission 20-way connector.

Does the TFT change by greater than the specified value?

20°C (36°F)

Go to Step 7

Go to Step 8

6

  1. Turn the ignition switch OFF.
  2. Disconnect the transmission 20-way connector.
  3. Turn the ignition switch to the RUN position.

Did the scan tool display a condition in which the TFT does not change by greater than the specified value in 20 seconds since startup?

1.5°C (2.7°F)

Go to Step 12

Go to Step 11

7

  1. Inspect circuit 1227 of the engine wiring harness for an intermittent open or short condition.
  2. Inspect circuit 2762 of the engine wiring harness for an intermittent open or short condition.

Refer to General Electrical Diagnosis in Wiring Systems.

Was a condition found?

--

Go to Step 9

Go to Step 12

8

  1. Inspect circuit 452 of the automatic transmission wiring harness for an intermittent open or short condition.
  2. Inspect circuit 1227 of the automatic transmission wiring harness for an intermittent open or short condition.

Refer to General Electrical Diagnosis in Wiring Systems.

Was a condition found?

--

Go to Step 10

Go to Step 11

9

Repair the wiring as necessary.

Refer to Wiring Repairs in Wiring Systems.

Is the repair complete?

--

Go to Step 13

--

10

Replace the automatic transmission wiring harness.

Refer to Unit Repair.

Is the replacement complete?

--

Go to Step 13

--

11

Replace the TFT sensor (this is part of the TFP valve position switch).

Refer to Pressure Switch Assembly Replacement.

Is the replacement complete?

--

Go to Step 13

--

12

Replace the PCM.

Refer to Powertrain Control Module Replacement/Programming in Engine Controls.

Is the replacement complete?

--

Go to Step 13

--

13

Perform the following procedure in order to verify the repair:

  1. Select DTC.
  2. Select Clear Info.
  3. Drive the vehicle and ensure the following conditions are met:
  4. • The TFT changes by greater than 2.25°C (4°F) for 5 seconds since startup.
    • The TFT does not change by greater than 20°C (36°F) within 0.200 second for a period of at least 11 seconds.
  5. Select Specific DTC.
  6. Enter DTC P0711.

Has the test run and passed?

--

System OK

Go to Step 1

DTC P0711 TFT Sensor Circuit Range/Performance 3.4L


Object Number: 316108  Size: MF
Automatic Transmission Components
Automatic Transmission Controls Schematics
OBD II Symbol Description Notice
Handling ESD Sensitive Parts Notice
Handling ESD Sensitive Parts Notice

Circuit Description

The automatic transmission fluid temperature (TFT) sensor is a negative coefficient thermistor. When the transmission fluid is cold, the sensor resistance is high. As the transmission fluid warms, the sensor resistance decreases. This diagnostic monitors the TFT circuit. The circuit may be functional, but not in the normal operating range. This diagnostic indicates stuck, erratic, intermittent, or skewed values, indicating faulty system performance. The TFT range is -40 to +151°C (-40 to +305°F).

When the PCM detects an intermittent voltage or no voltage change in the TFT sensor circuit, then DTC P0711 sets. DTC P0711 is a type D DTC.

Conditions for Running the DTC

    • No VSS DTCs P0502 or P0503.
    • No A/T ISS DTCs P0716 or P0717.
    • The transmission fluid temperature at start-up is -40 to 21°C (-40 to 70°F).
    • The system voltage is 8-18 volts.
    • The engine run time is greater than 5 minutes.
    • The vehicle speed is greater than 8 km/h (5 mph) for 6 minutes and 49 seconds cumulatively.
    • The TCC slip is greater than 120 RPM for 6 minutes and 49 seconds cumulatively.
    • The engine coolant temperature is greater than 70°C (158°F).
    • The engine coolant temperature has changed by greater than 50°C (90°F) since start-up.

Conditions for Setting the DTC

One of the following conditions occurs:

    • The change in transmission fluid temperature is less than 1.5°C (2°F) since start-up for 1 minute and 20 seconds.
    • The change in transmission fluid temperature is greater than 20°C (36°F) within 200 milliseconds; 14 times within 7 seconds.

Action Taken When the DTC Sets

    • The PCM does not illuminate the malfunction indicator lamp (MIL).
    • The PCM freezes shift adapts from being updated.
    • The PCM calculates a default transmission fluid temperature based on engine coolant temperature, manifold air temperature and engine run time.
    • The PCM stores DTC P0711 in PCM history.

Conditions for Clearing the DTC

    • A scan tool clears the DTC from PCM history.
    • The PCM clears the DTC from PCM history if the vehicle completes 40 consecutive warm-up cycles without a non-emission-related diagnostic fault occurring.
    • The PCM cancels the DTC default actions when the fault no longer exists and the ignition switch is OFF long enough in order to power down the PCM.

Diagnostic Aids

    • Inspect the wiring at the PCM, the transmission 20-way connector, the TFP manual valve position switch 6-way connector, and all other circuit connecting points for the following conditions:
       - A backed out terminal
       - A damaged terminal
       - Reduced terminal tension
       - A chafed wire
       - A broken wire inside the insulation
       - Moisture intrusion
       - Corrosion
    • Test the TFT sensor at various temperature levels to evaluate the possibility of a skewed (mis-scaled) sensor.
    • When diagnosing for an intermittent short or open condition, massage the wiring harness while watching the test equipment for a change.
    • Inspect the transmission 20-way connector for transmission fluid.

Test Description

The numbers below refer to the step numbers on the diagnostic table.

  1. This step tests for an intermittent short or open condition in the engine wiring harness. The test light is used as a resistor in the circuit.

  2. This step determines if the PCM or the TFT sensor is causing a steady, unchanging TFT reading.

DTC P0711 TFT Sensor Circuit -- Range/Performance (3.4L)

Step

Action

Value(s)

Yes

No

1

Was the Powertrain On-Board Diagnostic (OBD) System Check performed?

--

Go to Step 2

Go to Powertrain On Board Diagnostic (OBD) System Check

2

Was the Transmission Fluid Checking Procedure performed?

--

Go to Step 3

Go to Transmission Fluid Check

3

  1. Install the Scan Tool .
  2. Turn the ignition switch to the RUN position.
  3. Important: Before clearing the DTCs, use the scan tool in order to record the Failure Records. Using the Clear Info function erases the Failure Records from the PCM.

  4. Record the Failure Records.
  5. Clear the DTCs.
  6. Select TFT on the scan tool.
  7. Drive the vehicle and observe the scan tool for either of the following fail conditions:
  8. • The TFT does not change more than 1.5°C (2.7°F) in 1 minute and 20 seconds since startup.
    • The TFT changes greater than 20°C (36°F) in 0.200 second, 14 times within 7 seconds (unrealistic change).

Did either of the fail conditions occur?

--

Go to Step 4

Go to Diagnostic Aids

4

Did the scan tool display a condition in which the TFT does not change by greater than the specified value in 1 minute and 20 seconds since startup?

1.5°C (2.7°F)

Go to Step 6

Go to Step 5

5

  1. Turn the ignition switch OFF.
  2. Disconnect the transmission 20-way connector.
  3. Install the J 39775 jumper harness on the engine side of the 20-way connector.
  4. Using the J 35616-A connector test adapter kit, connect a test light from terminal L to terminal M.
  5. Turn the ignition switch to the RUN position.
  6. While observing the scan tool display, move or massage the engine wiring harness from PCM connectors C1 and C2 to the transmission 20-way connector.

Does the TFT change by greater than the specified value?

20°C (36°F)

Go to Step 7

Go to Step 8

6

  1. Turn the ignition switch OFF.
  2. Disconnect the transmission 20-way connector.
  3. Turn the ignition switch to the RUN position.

Did the scan tool display a condition in which the TFT does not change by greater than the specified value in 1 minute and 20 seconds since startup?

1.5°C (2.7°F)

Go to Step 12

Go to Step 11

7

  1. Inspect circuit 1227 of the engine wiring harness for an intermittent open or short condition.
  2. Inspect circuit 2762 of the engine wiring harness for an intermittent open or short condition.

Refer to General Electrical Diagnosis in Wiring Systems.

Was a condition found?

--

Go to Step 9

Go to Step 12

8

  1. Inspect circuit 452 of the automatic transmission wiring harness for an intermittent open or short condition.
  2. Inspect circuit 1227 of the automatic transmission wiring harness for an intermittent open or short condition.

Refer to General Electrical Diagnosis in Wiring Systems.

Was a condition found?

--

Go to Step 10

Go to Step 11

9

Repair the wiring as necessary.

Refer to Wiring Repairs in Wiring Systems.

Is the repair complete?

--

Go to Step 13

--

10

Replace the automatic transmission wiring harness.

Refer to Unit Repair.

Is the replacement complete?

--

Go to Step 13

--

11

Replace the TFT sensor (this is part of the TFP manual valve position switch).

Refer to Pressure Switch Assembly Replacement.

Is the replacement complete?

--

Go to Step 13

--

12

Replace the PCM.

Refer to Powertrain Control Module Replacement/Programming in Engine Controls.

Is the replacement complete?

--

Go to Step 13

--

13

Perform the following procedure in order to verify the repair:

  1. Select DTC.
  2. Select Clear Info.
  3. Drive the vehicle and ensure the following conditions are met:
  4. • The TFT changes by greater than 2.25°C (4°F) for 5 seconds since startup.
    • The TFT does not change by greater than 20°C (36°F) within 0.200 second for a period of at least 11 seconds.
  5. Select Specific DTC.
  6. Enter DTC P0711.

Has the test run and passed?

--

System OK

Go to Step 1