GM Service Manual Online
For 1990-2009 cars only
Figure 1:

Power, Ground, MIL, and DLC


Object Number: 527111  Size: FS
Engine Controls Components
Powertrain Control Module Description
Power, Ground, KS, CMP, CKP, Coils, and ICM
OBD II Symbol Description Notice
Handling ESD Sensitive Parts Notice
Handling ESD Sensitive Parts Notice
Power Distribution Schematics
Power Distribution Schematics
Power Distribution Schematics
Power Distribution Schematics
Instrument Cluster: Analog Schematics
Ground Distribution Schematics
Power Distribution Schematics
Instrument Cluster: Analog Schematics
Data Link Connector Schematics
Ground Distribution Schematics
Figure 2:

Power, Ground, KS,CMP,CKP,Coils, and ICM


Object Number: 527157  Size: FS
Engine Controls Components
Electronic Ignition (EI) System Description
Power, Ground, and Injectors
Power, Ground, MIL, and DLC
OBD II Symbol Description Notice
Handling ESD Sensitive Parts Notice
Power Distribution Schematics
Ground Distribution Schematics
Figure 3:

Power, Ground, and Injectors


Object Number: 229774  Size: FS
Engine Controls Components
Powertrain Control Module Description
Engine Data Sensors
Power, Ground, KS, CMP, CKP, Coils, and ICM
OBD II Symbol Description Notice
Handling ESD Sensitive Parts Notice
Power Distribution Schematics
Fuel Tank Module
Ground Distribution Schematics
HVAC Compressor Control Schematics
Figure 4:

Engine Data Sensors


Object Number: 527175  Size: FS
Engine Controls Components
Information Sensors/Switches Description
Power, Ground, EVAP, and EGR
Power, Ground, and Injectors
OBD II Symbol Description Notice
Handling ESD Sensitive Parts Notice
Handling ESD Sensitive Parts Notice
Fuel Tank Module
Figure 5:

Power, Ground, EVAP, and EGR


Object Number: 527279  Size: FS
Engine Controls Components
Evaporative Emission Control System Operation Description
Power, Ground, HO2S 2, and O2S 1
Engine Data Sensors
OBD II Symbol Description Notice
Handling ESD Sensitive Parts Notice
Power Distribution Schematics
Power Distribution Schematics
Figure 6:

Power, Ground, HO2S 2, and O2S 1


Object Number: 527280  Size: FS
Engine Controls Components
Information Sensors/Switches Description
Oil Pressure Sensor, IAC, PNP, and Generator
Power, Ground, EVAP, and EGR
OBD II Symbol Description Notice
Handling ESD Sensitive Parts Notice
Power Distribution Schematics
Ground Distribution Schematics
Figure 7:

Oil Pressure Sensor, IAC, PNP, and Generator


Object Number: 527281  Size: FS
Engine Controls Components
Powertrain Control Module Description
Cruise Control Module, and VSS
Power, Ground, HO2S 2, and O2S 1
OBD II Symbol Description Notice
Handling ESD Sensitive Parts Notice
Ground Distribution Schematics
Figure 8:

Cruise Control Module, and VSS


Object Number: 527282  Size: FS
Engine Controls Components
Powertrain Control Module Description
Power, Ground, CPP, AT, and Cruise Control Brake Switch
Oil Pressure Sensor, IAC, PNP, and Generator
OBD II Symbol Description Notice
Handling ESD Sensitive Parts Notice
Handling ESD Sensitive Parts Notice
Figure 9:

Power, Ground, CPP, AT, and Cruise Control Brake Switch


Object Number: 527284  Size: FS
Engine Controls Components
Powertrain Control Module Description
Automatic Transaxle
Cruise Control Module, and VSS
OBD II Symbol Description Notice
Handling ESD Sensitive Parts Notice
Power Distribution Schematics
Power Distribution Schematics
Cruise Control Schematics
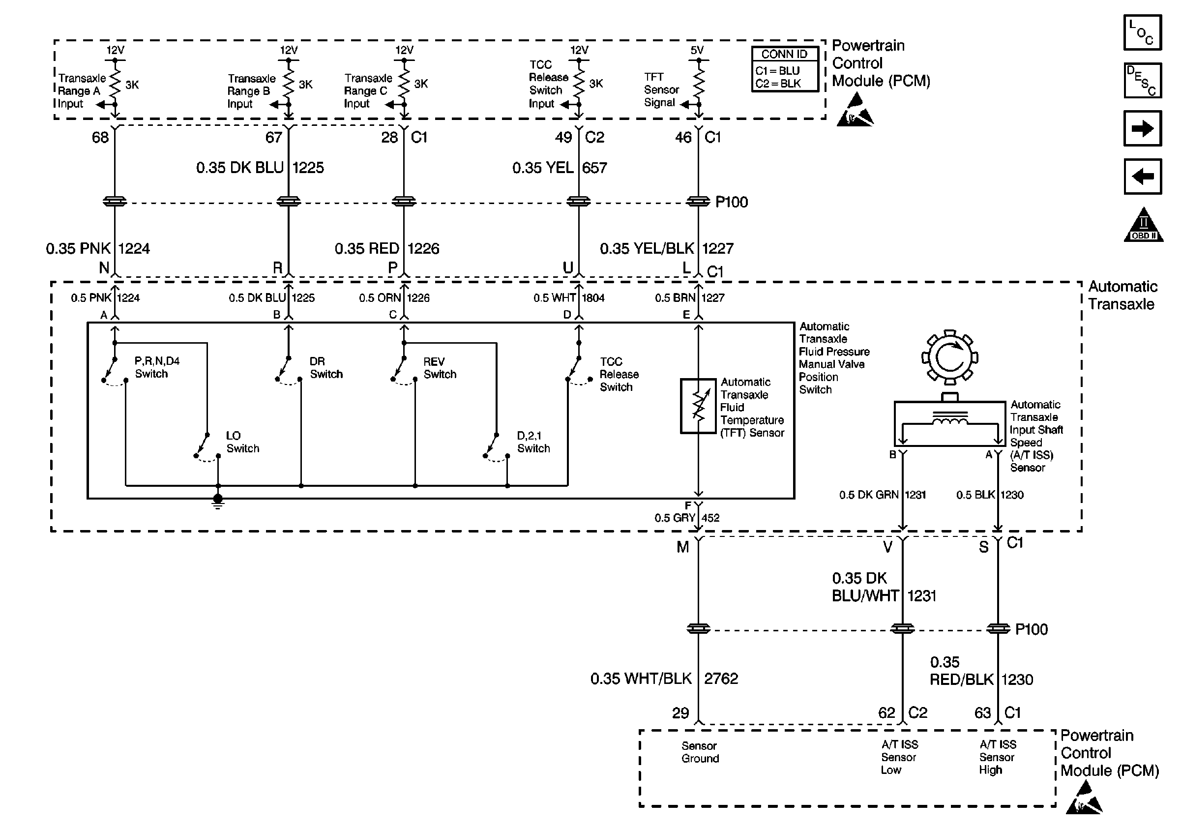
Figure 10:

Automatic Transaxle


Object Number: 527285  Size: FS
Engine Controls Components
Powertrain Control Module Description
A/C Compressor Clutch
Power, Ground, CPP, AT, and Cruise Control Brake Switch
OBD II Symbol Description Notice
Handling ESD Sensitive Parts Notice
Handling ESD Sensitive Parts Notice
Figure 11:

A/C Compressor Clutch


Object Number: 229849  Size: FS
Engine Controls Components
Powertrain Control Module Description
Fuel Tank Module
Automatic Transaxle
OBD II Symbol Description Notice
Handling ESD Sensitive Parts Notice
Power Distribution Schematics
Ground Distribution Schematics
Figure 12:

Power, Ground, and Cooling Fans


Object Number: 229853  Size: FS
Engine Controls Components
Engine Cooling Fan Description - Electric
Fuel Tank Module
OBD II Symbol Description Notice
Handling ESD Sensitive Parts Notice
Power Distribution Schematics
Power Distribution Schematics
Ground Distribution Schematics
Ground Distribution Schematics
Figure 13:

Fuel Tank Module


Object Number: 527292  Size: FS
Engine Controls Components
Powertrain Control Module Description
Power, Ground, and Cooling Fans
A/C Compressor Clutch
OBD II Symbol Description Notice
Handling ESD Sensitive Parts Notice
Engine Data Sensors
Power, Ground, and Injectors
Ground Distribution Schematics