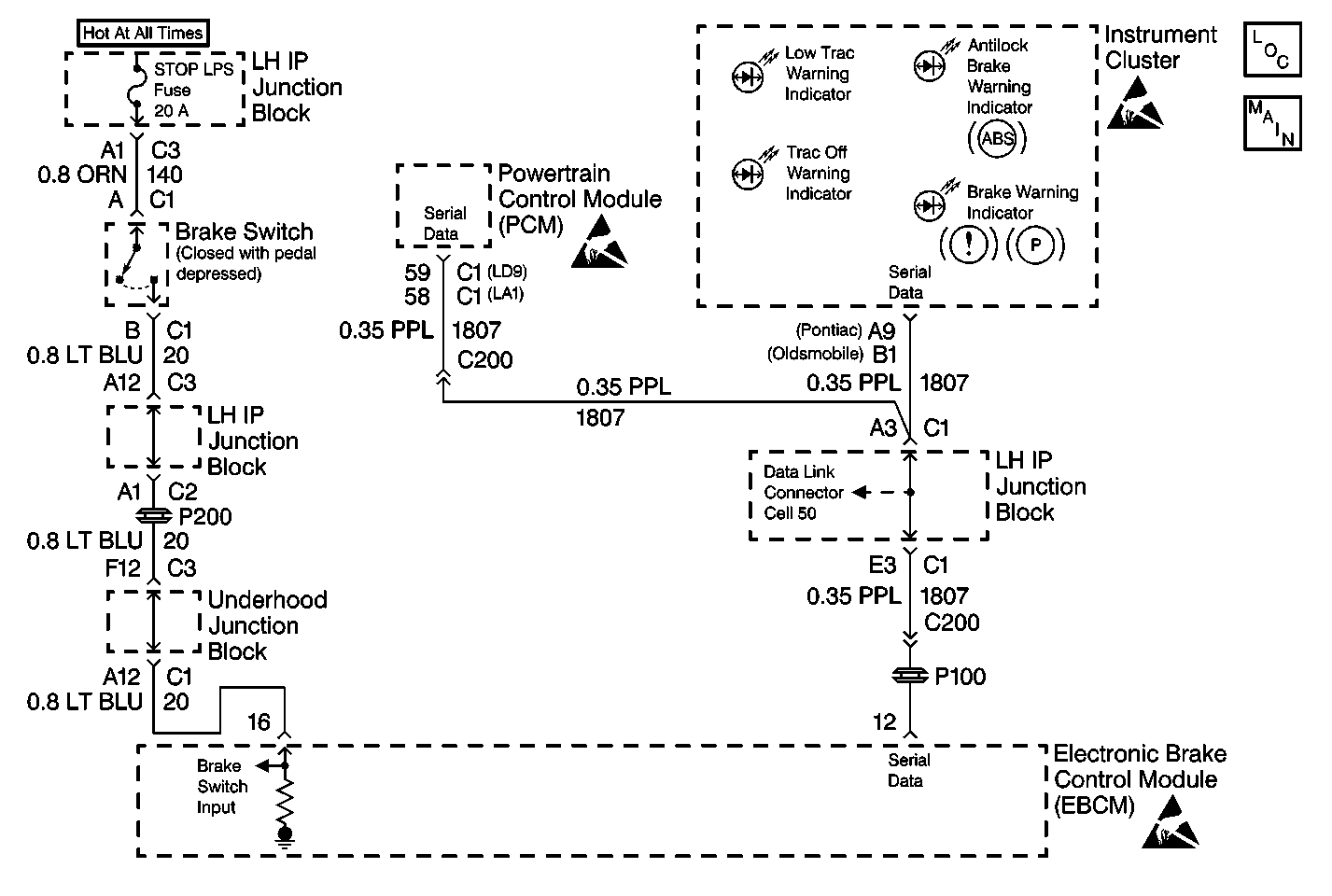
Two-way serial communication is sent back and forth between the EBCM and the IPC. A message from the IPC is sent to the EBCM within seven seconds after ABS initialization. A serial communication failure does not allow the proper warning indicator commands to be sent back to the IPC.
Use the Lamp Test function of the Scan Tool in order to turn the indicator on while looking for an intermittent malfunction in the ABS warning indicator circuitry.
Thoroughly inspect any circuitry that may cause the intermittent complaint for the following conditions:
| • | Backed out terminals |
| • | Improper mating |
| • | Broken locks |
| • | Improperly formed or damaged terminals |
| • | Poor terminal-to-wiring connections |
| • | Physical damage to the wiring harness |
Step | Action | Value(s) | Yes | No | ||||
|---|---|---|---|---|---|---|---|---|
|
Important: Zero the J 39200 test leads before making any resistance measurements. Refer to the J 39200 user's manual. | ||||||||
1 | Was the ABS Diagnostic System Check performed? | -- | Go to Step 2 | |||||
2 |
Do not start the engine. Did the warning indicators turn ON and OFF? | -- | Go to Step 6 | Go to Step 3 | ||||
3 | Inspect all of the connectors and the terminals for the following conditions:
Is there evidence of poor terminal contact or corrosion? | -- | Go to Step 4 | Go to Step 5 | ||||
4 | Replace all of the terminals that exhibit signs of poor terminal contact or corrosion. Is the repair complete? | -- | -- | |||||
5 | Repair the instrument panel cluster. Refer to Diagnostic System Check - Instrument Cluster in Instrument Panel, Gages and Console. Is the repair complete? | -- | -- | |||||
6 | Replace the EBCM. Refer to Electronic Brake Control Module Replacement . Is the action complete? | -- | -- | |||||