GM Service Manual Online
For 1990-2009 cars only
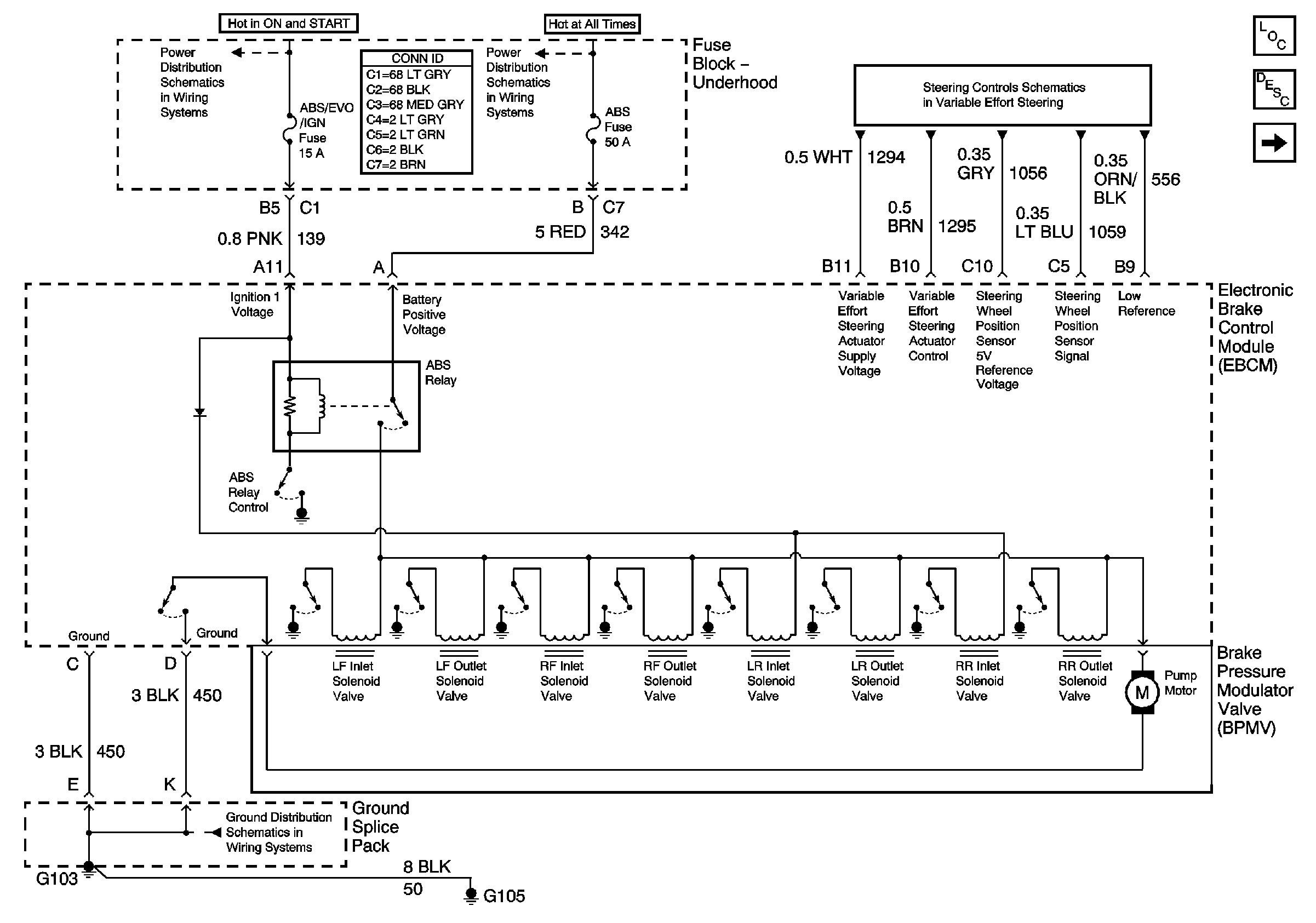
Figure 1:

Power and Ground


Object Number: 673928  Size: FS
Master Electrical Component List
ABS Description and Operation
Speed Sensors and Brake Fluid Level Switch
Steering Wheel Controls Schematics
RH BEC BATT, ABS, COOL FAN (V6) GROUND, INT LPS, RADIO BATT, FOG LPS Fuses
IGN SW-BATT2, WIPER, AIR BAG, TURN LPS, IGN MOD, BU LMP, PCM IGN, F/PINJR, A/C BFC, AUTO TRANS, ABS, IGN Fuses
G103 and G105
Figure 2:

Speed Sensors and Brake Fluid Level Switch


Object Number: 673935  Size: FS
Master Electrical Component List
ABS Description and Operation
ETS Off Switch
Power and Ground
G103 and G105
Figure 3:

ETS Off Switch


Object Number: 673946  Size: FS
Master Electrical Component List
ABS Description and Operation
Brake Switch and Fault Indicators
Speed Sensors and Brake Fluid Level Switch
G202
G203
G203
Figure 4:

Brake Switch and Fault Indicators


Object Number: 673958  Size: FS
Master Electrical Component List
ABS Description and Operation
ETS Off Switch
Data Link Connector Schematics
Cruise Control Module
High Mounted Stop Lamp Assembly
RH HDLP, LH HDLP, GEN BATT, LH BEC BATT 2, STOP LPS, HAZARD LPS, IPC/HVACBATT, BFC BATT Fuses