GM Service Manual Online
For 1990-2009 cars only
Figure 1:

Power and Ground


Object Number: 783718  Size: FS
Master Electrical Component List
Air Delivery Description and Operation
Blower Motor Controls
RH HDLP, LH HDLP, GEN BATT, LH BEC BATT2, STOP LPS, HAZARD LPS, IPC/HVAC BATT, BFC BATT Fuses
IGN SW-BATT1, HTR-A/C, ERLS, CRANK, PCM ACC, IPC/BFC/ACC Fuses
IGN SW-BATT1, HTR-A/C, ERLS, CRANK, PCM ACC, IPC/BFC/ACC Fuses
G202
G202
Figure 2:

Blower Motor Controls


Object Number: 783719  Size: FS
Master Electrical Component List
Air Delivery Description and Operation
Compressor Controls
Power and Ground
PWR WNDW, Circuit Breaker, CRUISE SW, CRUISE, SUNROOF, HVAC BLOWER Fuses
B+ Bus Bar
G201
G203
G201
Figure 3:

Compressor Controls


Object Number: 783720  Size: FS
Master Electrical Component List
Air Temperature Description and Operation
Temperature Controls
Blower Motor Controls
IGN SW-BATT2, WIPER, AIR BAG, TURN LPS, IGN MOD, B/U LP/BTSI, PCM IGN, F/P INJR, A/C BFC, AUTO TRANS, ABS/EVO/IGN Fuses
Data Link Connector (DLC) Schematics
G103 and G105
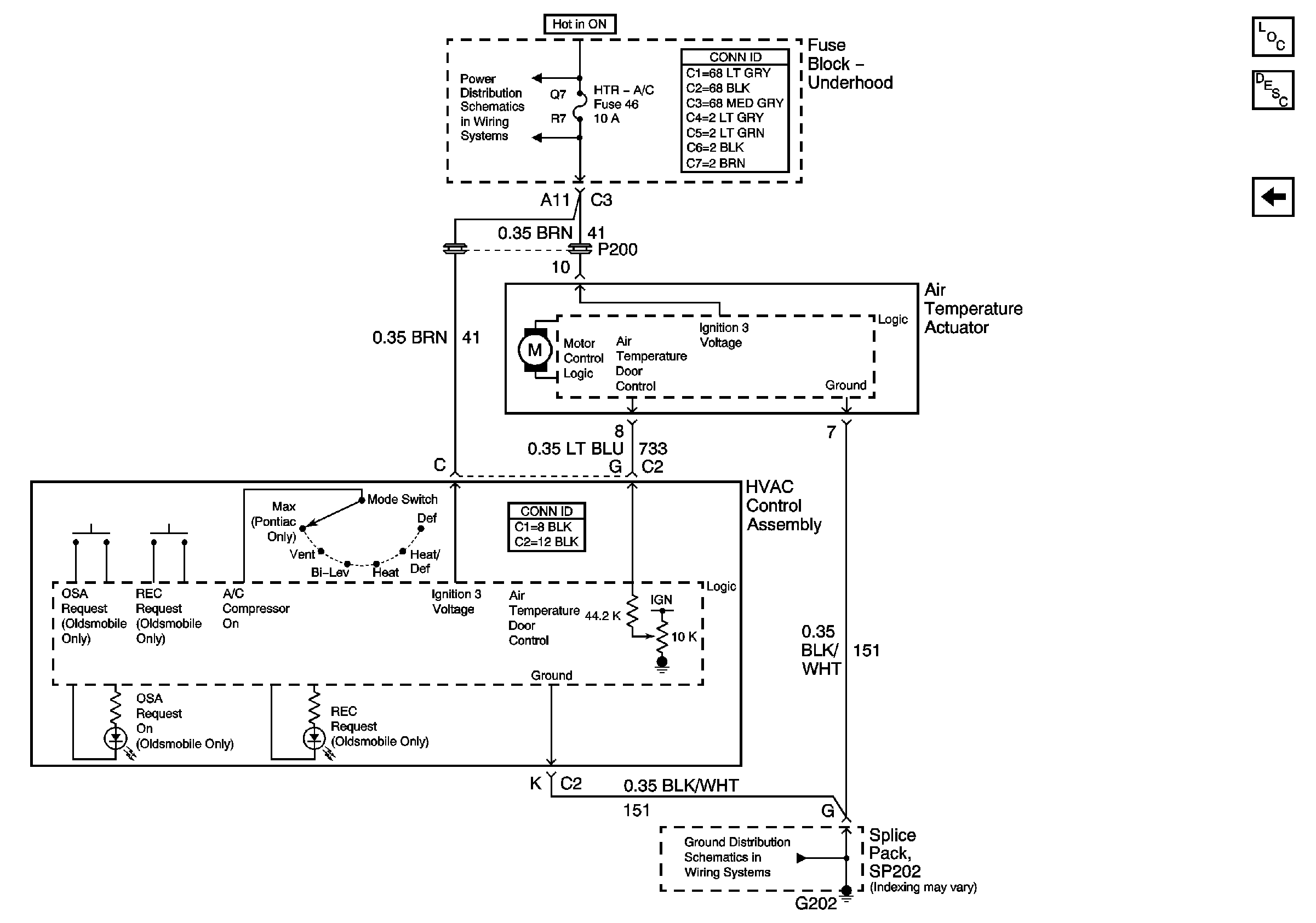
Figure 4:

Temperature Controls


Object Number: 783721  Size: FS
Master Electrical Component List
Air Temperature Description and Operation
Compressor Controls
IGN SW-BATT1, HTR-A/C, ERLS, CRANK, PCM ACC, IPC/BFC/ACC Fuses
G202