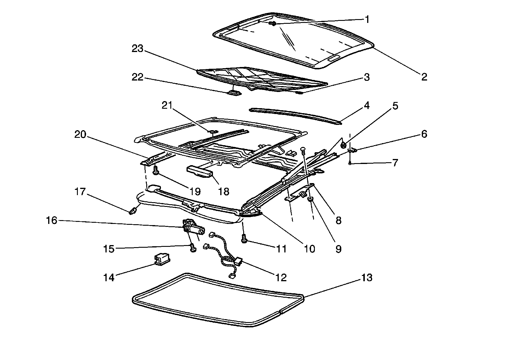
|
| (1) | Sunroof Window Bolt/Screw |
| (2) | Sunroof Window
Panel |
| (3) | Sunroof Sunshade
Guide |
| (4) | Sunroof Housing
Protector |
| (5) | Sunroof Window
Guide Bumper |
| (6) | Sunroof Sunshade
Stop |
| (7) | Sunroof Sunshade
Stop Screw |
| (8) | Sunroof Module
Assembly Bracket |
| (9) | Sunroof Module
Assembly Bracket Nut |
| (10) | Sunroof
Housing Assembly - LH |
| (11) | Sunroof Module
Assembly Bolt/Screw |
| (12) | Sunroof
Wiring Harness |
| (13) | Sunroof
Opening Lace |
| (14) | Sunroof Switch |
| (15) | Sunroof Actuator/Motor
Bolt/Screw |
| (16) | Sunroof Actuator/Motor |
| (17) | Sunroof Actuator
Cable Retainer |
| (18) | Sunroof Control
Module |
| (19) | Sunroof Track
Bolt/Screw |
| (20) | Sunroof Housing
Assembly -RH |
| (21) | Sunroof Wear
Plate |
| (22) | Sunroof Sunshade
Handle |
| (23) | Sunroof Sunshade |