GM Service Manual Online
For 1990-2009 cars only
Figure 1:

Power, Ground and Controlled/Monitored References


Object Number: 1340740  Size: FS
Master Electrical Component List
Body Control System Description and Operation
Controlled/Monitored Lighting References
RH HDLP, LH HDLP, GEN BATT, LH BEC BATT2, STOP LPS, HAZARD LPS, IPC/HVAC BATT, BFC BATT Fuses
RH HDLP, LH HDLP, GEN BATT, LH BEC BATT2, STOP LPS, HAZARD LPS, IPC/HVAC BATT, BFC BATT Fuses
PCM ACC and IPC/BFC ACC Fuses
PCM ACC and IPC/BFC ACC Fuses
IGN SW-BATT2, AIR BAG, TURN LPS, IGN MOD, B/U LP/BTSI, PCM IGN, F/P INJR, A/C BFC, AUTO TRANS, ABS/EVO/IGN Fuses
PWR WNDW, Circuit Breaker, CRUISE SW, CRUISE, SUNROOF, HVAC BLOWER Fuses
PWR WNDW, Circuit Breaker, CRUISE SW, CRUISE, SUNROOF, HVAC BLOWER Fuses
R/H BEC BATT, ABS, COOL FAN #2 GROUND (V6), INT LPS, RADIO BATT, FOG LPS Fuses
Compressor Controls
Washer System
Coolant Indicators
Audible Warning Schematics
Horns Schematics
Seat Belt Schematics
Cruise Control ON/OFF Switch
Data Link Connector (DLC) Schematics
G202
Figure 2:

Controlled/Monitored Lighting References


Object Number: 880027  Size: FS
Master Electrical Component List
Body Control System Description and Operation
Controlled/Monitored Lighting References
Power, Ground and Controlled/Monitored References
Park Lamps - Front
Park Lamps - Front
Door Jamb Switches
Dome Lamps - Y71/Y72
Dome Lamps - Y70
Dome Lamps - Y71/Y72
Dome Lamps - Y70
Headlamps - Pontiac - Domestic
BCM Signals
BCM Signals - Domestic
BCM Signals
BCM Signals - Domestic
Front Fog Lamps
Rear Fog Lamps - Export Only
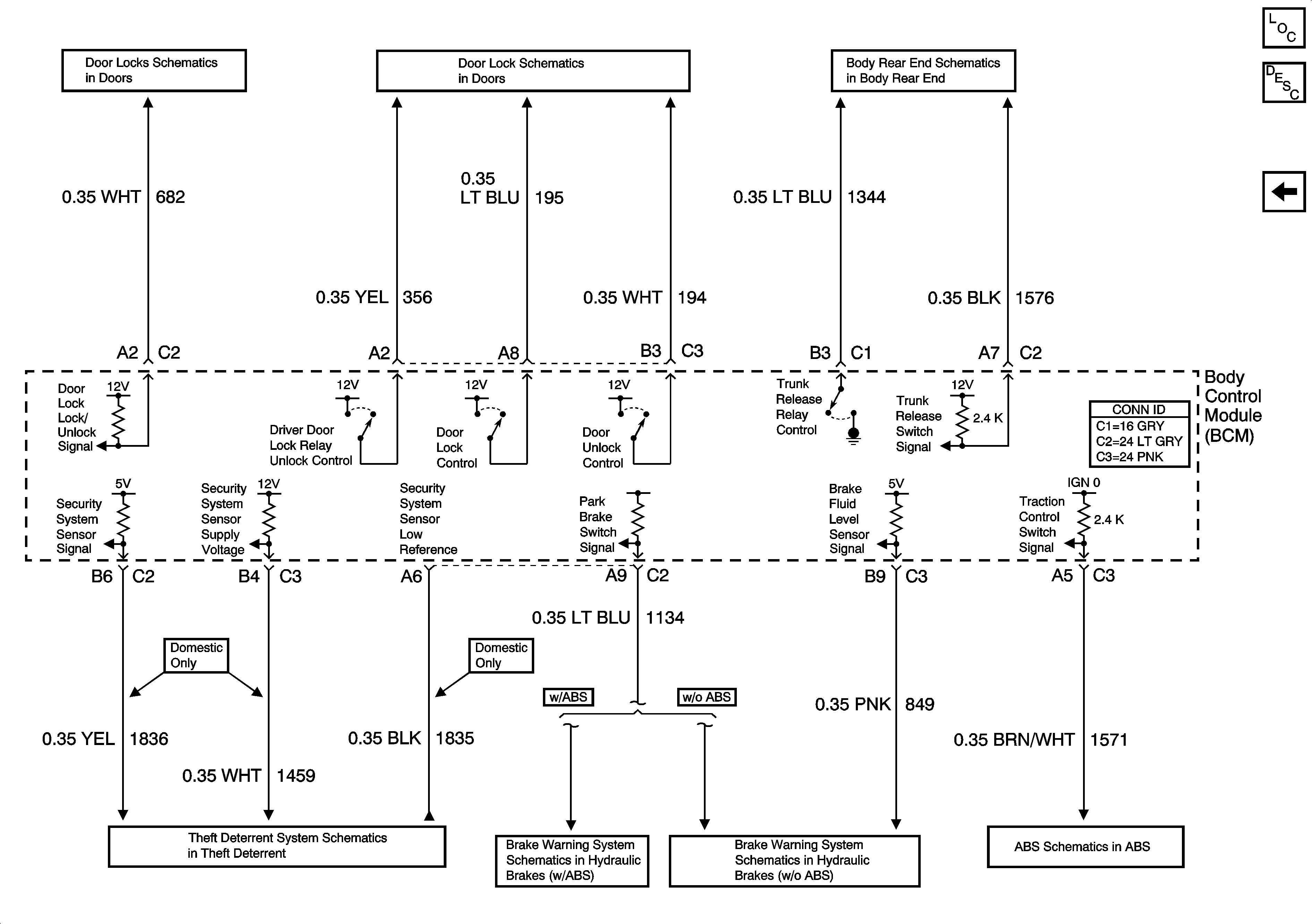
Figure 3:

Controlled/Monitored Lock, Theft Deterrent, Brake References


Object Number: 869601  Size: FS
Master Electrical Component List
Body Control System Description and Operation
Controlled/Monitored Lighting References
Door Lock Switches
Door Lock Motors
Body Rear End Schematics
Theft Deterrent System Schematics
w/ABS
w/o ABS
Stop Lamp Switch and Traction Control Switch