GM Service Manual Online
For 1990-2009 cars only
Makes
🢒
Oldsmobile
🢒
1997
🢒
Aurora
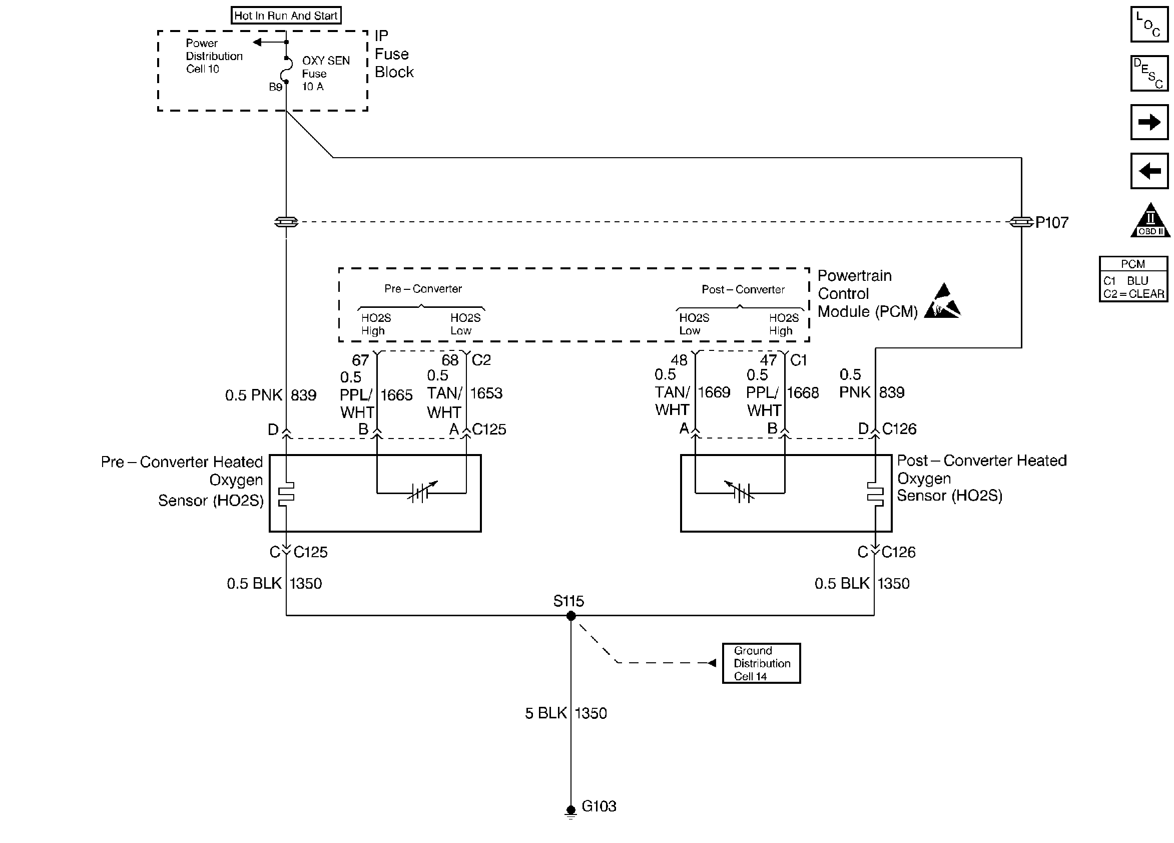
🢒 Pre and Post Convertor Heated Oxygen Sensors
Pre and Post Convertor Heated Oxygen Sensors
Pre and Post Convertor Heated Oxygen Sensors
Front and Rear Heated Oxygen Sensors
MAF Sensor/ EVAP Components/ Linear EGR Valve
Engine Controls Components
OBD II Symbol Description Notice
ESD Notice