GM Service Manual Online
For 1990-2009 cars only
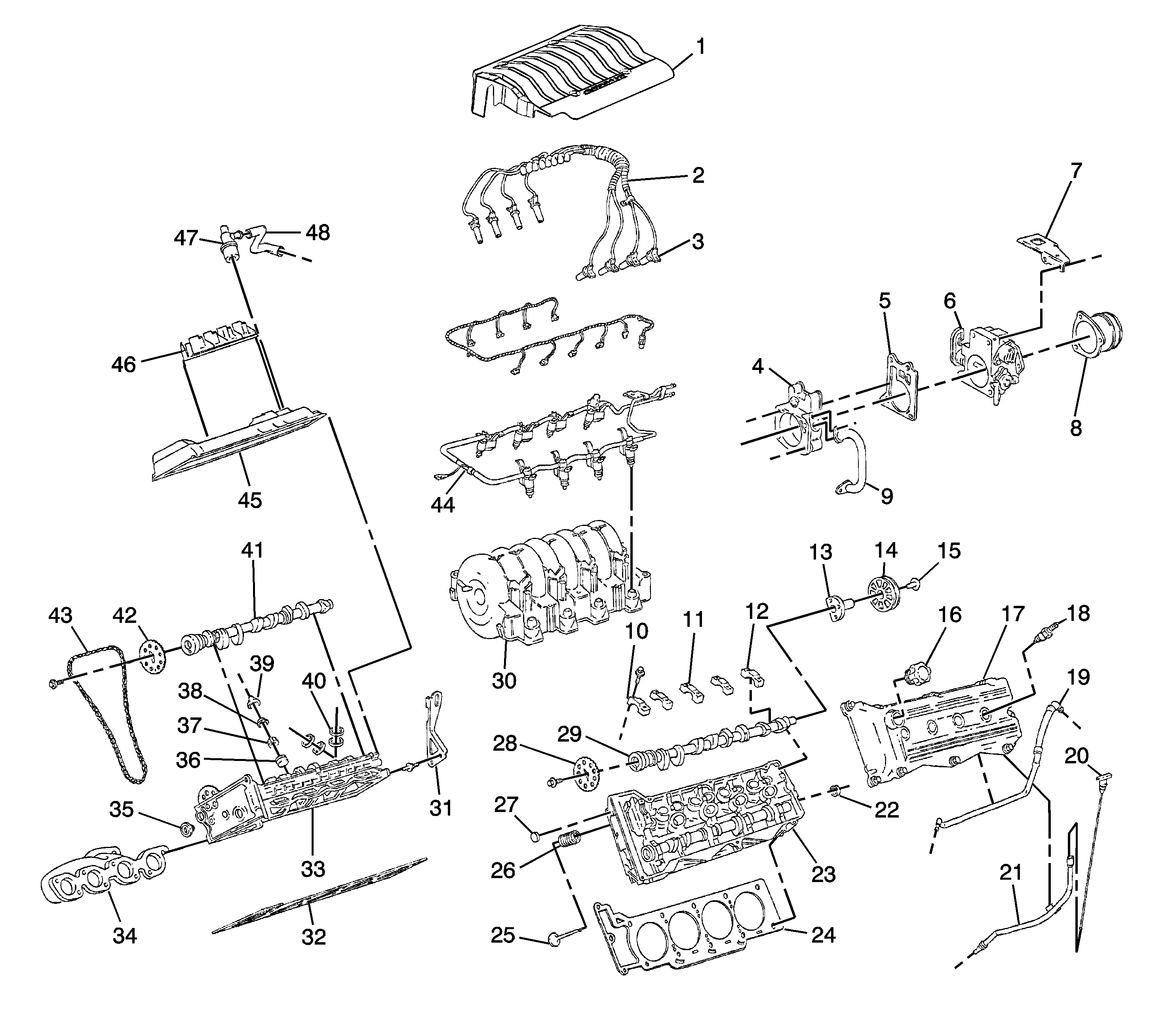
Figure 1:

Upper Engine Components


Object Number: 203886  Size: LF
(1)Intake Manifold Sight Shield
(2)Right Bank Spark Plug Wires
(3)Left Bank Spark Plug Wires
(4)Throttle Body Spacer
(5)Throttle Body Gasket
(6)Throttle Body Assembly
(7)Throttle Cable Bracket
(8)Mass Airflow Sensor
(9)Left Intake Camshaft (Water Pump Drive)
(10)EGR Feed Pipe
(11)Camshaft Bearing Cap Bolt
(12)Camshaft Bearing Cap
(13)Extra Bearing Cap (Longer Camshaft)
(14)Water Pump Drive Seal
(15)Water Pump Drive Pulley
(16)Water Pump Drive Pulley Bolt
(17)Oil Fill Cap
(18)Left Camshaft Cover
(19)Spark Plug
(20)PCV Feed Tube
(21)Oil Level Indicator
(22)Oil Level Indicator Tube
(23)Oil Gallery Plug
(24)Left Cylinder Head
(25)Left Cylinder Head Gasket
(26)Camshaft Sprocket
(27)Valve Spring
(28)Valve
(29)Intake Manifold
(30)Lift Bracket
(31)Fuel Rail
(32)Fuel Injector Harness
(33)Valve Seats
(34)Right Cylinder Head
(35)Chain Guide Access Plug
(36)Valve Lifter
(37)Valve Seal
(38)Valve Spring Retainer
(39)Valve Locks
(40)Right Exhaust Manifold
(41)Secondary Timing Chain
(42)Camshaft Sprocket
(43)Right Camshaft
(44)Right Camshaft Cover
(45)Ignition Module
(46)PCV Valve
(47)PCV Hose (Partial)
(48)Right Cylinder Head Gasket
Figure 2:

Lower Engine Components


Object Number: 203885  Size: LF
(1)Starter Motor
(2)Cylinder Head Dowel
(3)Piston/Connecting Rod
(4)Cylinder Block
(5)Upper to Lower Crankcase Seal
(6)EGR Valve
(7)EGR Valve Gasket
(8)Engine Mounting Bracket
(9)Throttle Body Coolant Hose Connection
(10)Water Pump Belt Tensioner
(11)Water Pump Belt Bracket
(12)Water Pump Cover Gasket
(13)Water Pump Cover
(14)Thermostat
(15)Thermostat Housing
(16)Thermostat Housing Gasket
(17)Water Pump
(18)Water Pump Seal
(19)Water Crossover
(20)Flywheel Bolt Washer
(21)Flywheel
(22)Rear Crankshaft Seal
(23)Crankshaft Thrust Bearing
(24)Upper Crankshaft Bearing
(25)Crankshaft
(26)Lower Crankshaft Bearing
(27)Lower Crankcase
(28)Oil Filter Adapter
(29)Oil FIlter Adapter Plug
(30)Crankshaft Oil Scraper
(31)Oil Filter
(32)Oil Pan Gasket
(33)Oil Pump Pick-up Tube
(34)Oil Level Switch
(35)Oil Pan
(36)Main Bearing Stud
(37)Main Bearing Bolt
(38)Oil Manifold Plate
(39)Oil Pump
(40)Crankshaft Sprocket
(41)Intermediate Sprocket Shaft
(42)Cylinder Block Plug
(43)Intermediate Sprocket
(44)Drive Belt Tensioner
(45)Engine Mounting Bracket (N/A Aurora)
(46)Engine Front Cover Gasket
(47)Crankshaft Balancer Bolt
(48)Crankshaft Balancer
(49)Crankshaft Balancer
(50)Intermediate Sprocket Bolt
(51)Primary Timing Chain
(52)Primary Timing Chain Tensioner
(53)Power Steering Pump Pulley
(54)Power Steering Pump
(55)Power Steering Pump Cap
(56)Starter Motor Wire Harness