GM Service Manual Online
For 1990-2009 cars only
Figure 1:

Cell 30: Starter Controls


Object Number: 191099  Size: FS
Engine Electrical Components
Starting System Circuit Description
Cell 30: Generator Controls
OBD II Symbol Description Notice
Handling ESD Sensitive Parts Notice
Handling ESD Sensitive Parts Notice
Engine Electrical Schematic References
Engine Electrical Schematic References
Engine Electrical Schematic References
Figure 2:

Cell 30: Generator Controls


Object Number: 191100  Size: FS
Engine Electrical Components
Charging System Circuit Description
Cell 30: VOLTS Indicator Controls
Cell 30: Starter Controls
OBD II Symbol Description Notice
Handling ESD Sensitive Parts Notice
Engine Electrical Schematic References
Engine Electrical Schematic References
Powertrain Control Module Connector End Views
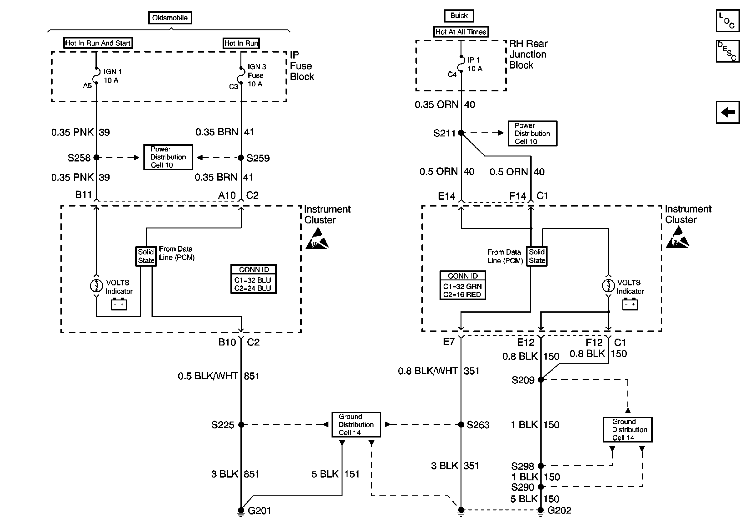
Figure 3:

Cell 30: VOLTS Indicator Controls


Object Number: 191102  Size: FS
Engine Electrical Components
Charging System Circuit Description
Cell 30: Generator Controls
Handling ESD Sensitive Parts Notice
Handling ESD Sensitive Parts Notice
Engine Electrical Schematic References
Engine Electrical Schematic References
Engine Electrical Schematic References
Engine Electrical Schematic References