GM Service Manual Online
For 1990-2009 cars only

Removal Procedure

    Caution: Unless directed otherwise, the ignition and start switch must be in the OFF or LOCK position, and all electrical loads must be OFF before servicing any electrical component. Disconnect the negative battery cable to prevent an electrical spark should a tool or equipment come in contact with an exposed electrical terminal. Failure to follow these precautions may result in personal injury and/or damage to the vehicle or its components.


    Object Number: 422710  Size: SH
  1. Disconnect the negative battery cable.
  2. Remove the left IP sound insulator. Refer to Instrument Panel Insulator Panel Replacement - Left Side in Instrument Panel, Gauges, and Console.
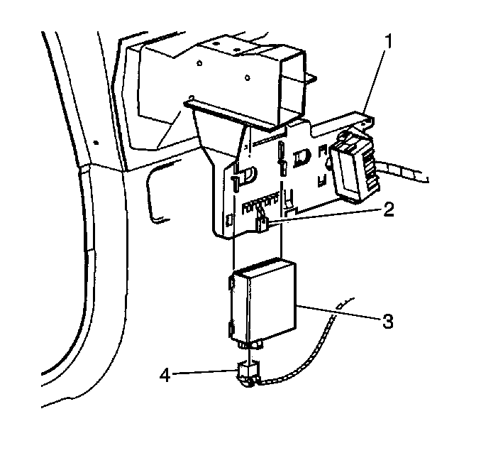
  3. Disconnect the variable steering module electrical connector (4).
  4. Remove the variable steering module (3) from the multi-use bracket (1).
  5. Press in on the retainer (2) and slide the module down and out of the bracket.

Installation Procedure


    Object Number: 422710  Size: SH
  1. Install the variable steering module (3) to the multi-use bracket (1) by sliding the module upward into place.
  2. Connect the variable steering module electrical connector (4).
  3. Install the left IP sound insulator. Refer to Instrument Panel Insulator Panel Replacement - Left Side in Instrument Panel, Gauges, and Console.
  4. Connect the negative battery cable.