GM Service Manual Online
For 1990-2009 cars only
Makes
🢒
Oldsmobile
🢒
2001
🢒
Aurora
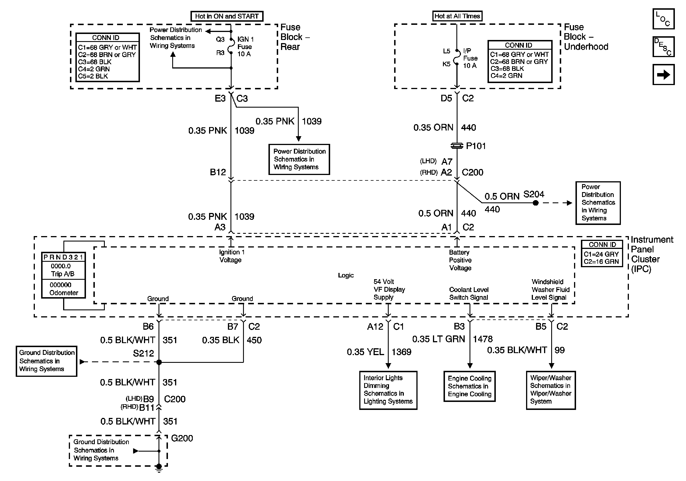
🢒 Power, Ground, and Class 2
Power, Ground, and Class 2
Power, Ground, and Class 2
PCM Signals
Instrument Panel, Gages, and Console Component Views
Instrument Cluster Description and Operation
Battery Feeds
IGN 1 Fuse
EXPORT BRK, PCM BATT, I/P, and ABS Fuses
G200
G200
Engine Coolant Temperature Indicator
Washer Solvent Level Switch