GM Service Manual Online
For 1990-2009 cars only
Figure 1:

Module Power, Ground, Serial Data and MIL


Object Number: 765007  Size: FS
Master Electrical Component List
Powertrain Control Module Description
Engine Data Sensors 5 Volt and Low Reference
OBD II Symbol Description Notice
OBD II Symbol Description Notice
Car Battery Feed to the Fuse Block-Underhood
Car Battery Feed to the Fuse Block-Underhood
IGN SW Fuse (Fuse Block-Rear)
G100 and G102, L47
Serial Data Class 2
Engine Data Sensors 5 Volt and Low Reference
Figure 2:

Engine Data Sensors -- 5 Volt and Low Reference


Object Number: 786112  Size: FS
Master Electrical Component List
Air Intake System Description
Engine Data Sensors - Pressure and Temperature
OBD II Symbol Description Notice
Module Power, Ground, Serial Data and MIL
Figure 3:

Engine Data Sensors -- Pressure and Temperature


Object Number: 785033  Size: FS
Master Electrical Component List
Powertrain Control Module Description
Engine Data Sensors - MAF, VSS, and Extended Brake Travel Switch
Engine Data Sensors 5 Volt and Low Reference
OBD II Symbol Description Notice
Figure 4:

Engine Data Sensors -- MAF, VSS, and Extended Brake Travel Switch


Object Number: 785034  Size: FS
Master Electrical Component List
Air Intake System Description
O2S and/or HO2S
Engine Data Sensors - Pressure and Temperature
OBD II Symbol Description Notice
Car Battery Feed to the Fuse Block-Underhood
G100 and G102, L47
Car Battery Feed to the Fuse Block-Underhood
L47 IGN 1, OXY SEN, DIS Fuses and IGN 1 Relay (Fuse Block-Underhood)
Gauges
Transmission Inputs
Figure 5:

Engine Data Sensors -- O2S and/or HO2S


Object Number: 815441  Size: FS
Master Electrical Component List
Air Intake System Description
Ignition System
Engine Data Sensors - MAF, VSS, and Extended Brake Travel Switch
OBD II Symbol Description Notice
Car Battery Feed to the Fuse Block-Underhood
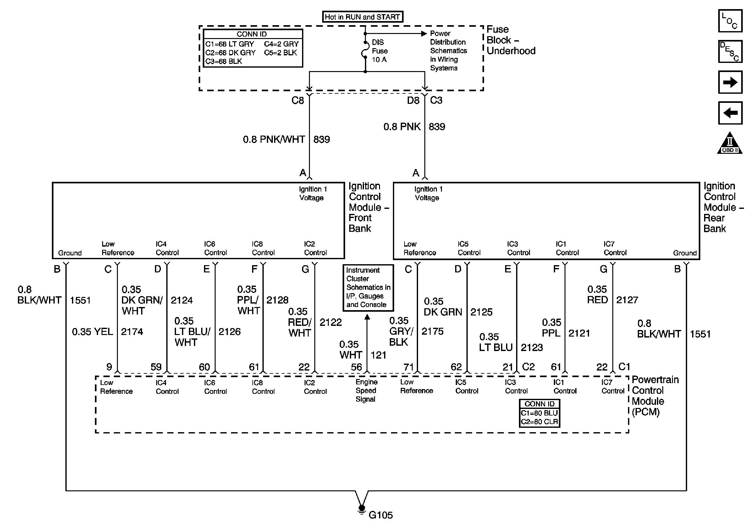
Figure 6:

Ignition Controls -- Ignition System


Object Number: 785039  Size: FS
Master Electrical Component List
Electronic Ignition (EI) System Description
Sensors
O2S and/or HO2S
OBD II Symbol Description Notice
Car Battery Feed to the Fuse Block-Underhood
Gauges
Figure 7:

Ignition Controls -- Sensors


Object Number: 785041  Size: FS
Master Electrical Component List
Knock Sensor (KS) System Description
Fuel Pump Controls
Ignition System
OBD II Symbol Description Notice
Figure 8:

Fuel Controls -- Fuel Pump Controls


Object Number: 785044  Size: FS
Master Electrical Component List
Fuel System Description
Fuel Injectors
Sensors
OBD II Symbol Description Notice
Battery Feed to the Fuse Block-Rear
G401, 1 of 2
G302
Gauges
Serial Data Class 2
Figure 9:

Fuel Controls -- Fuel Injectors


Object Number: 397452  Size: FS
Master Electrical Component List
Fuel System Description
Powertrain Control Module Description
EVAP Controls
Fuel Pump Controls
OBD II Symbol Description Notice
Car Battery Feed to the Fuse Block-Underhood
Figure 10:

Fuel Controls -- EVAP Controls


Object Number: 785049  Size: FS
Master Electrical Component List
Exhaust Gas Recirculation (EGR) System Description
Single Secondary Air Injection
Fuel Injectors
OBD II Symbol Description Notice
L47 IGN 1, OXY SEN, DIS Fuses and IGN 1 Relay (Fuse Block-Underhood)
Battery Feed to the Fuse Block-Rear
Car Battery Feed to the Fuse Block-Underhood
Car Battery Feed to the Fuse Block-Underhood
Gauges
Figure 11:

Device Controls (AIR, EGR and IAC)


Object Number: 785051  Size: FS
Master Electrical Component List
Secondary Air Injection System Description
Controlled/Monitored Subsystem References
EVAP Controls
OBD II Symbol Description Notice
L47 IGN 1, OXY SEN, DIS Fuses and IGN 1 Relay (Fuse Block-Underhood)
Car Battery Feed to the Fuse Block-Underhood
Car Battery Feed to the Fuse Block-Underhood
Figure 12:

Controlled/Monitored Subsystem References


Object Number: 785060  Size: FS
Master Electrical Component List
Powertrain Control Module Description
Transmission Controls
Single Secondary Air Injection
OBD II Symbol Description Notice
Cooling Fans and Relays
Compressor Control
Indicators
Starter Solenoid Controls
CCM, PCM Controls and Vehicle Speed Input
Figure 13:

Transmission Controls -- A/T


Object Number: 689751  Size: FS
Master Electrical Component List
Powertrain Control Module Description
Controlled/Monitored Subsystem References
OBD II Symbol Description Notice
Transmission Controls
Internal Mode Switch Inputs
Transmission Inputs