GM Service Manual Online
For 1990-2009 cars only
Figure 1:

Brake Control Module Power And Grounding


Object Number: 158496  Size: FS
Brake Switch Input W/ M/T, W/O Cruise
Brake Switch Input W/ A/T W/O Auto 4WD
Electric Shift Control Switch
Electric Shift 4WD Inputs
Handling Electrostatic Discharge Sensitive Parts Notice
Handling Electrostatic Discharge Sensitive Parts Notice
Handling Electrostatic Discharge Sensitive Parts Notice
ABS Components
ABS Description
Wheel Speed Sensor Inputs
Power Distribution Schematics
Power Distribution Schematics
Figure 2:

Wheel Speed Sensor Inputs


Object Number: 158495  Size: FS
Handling Electrostatic Discharge Sensitive Parts Notice
ABS Components
ABS Description
Brake Warning Lamps
Brake Control Module Power And Grounding
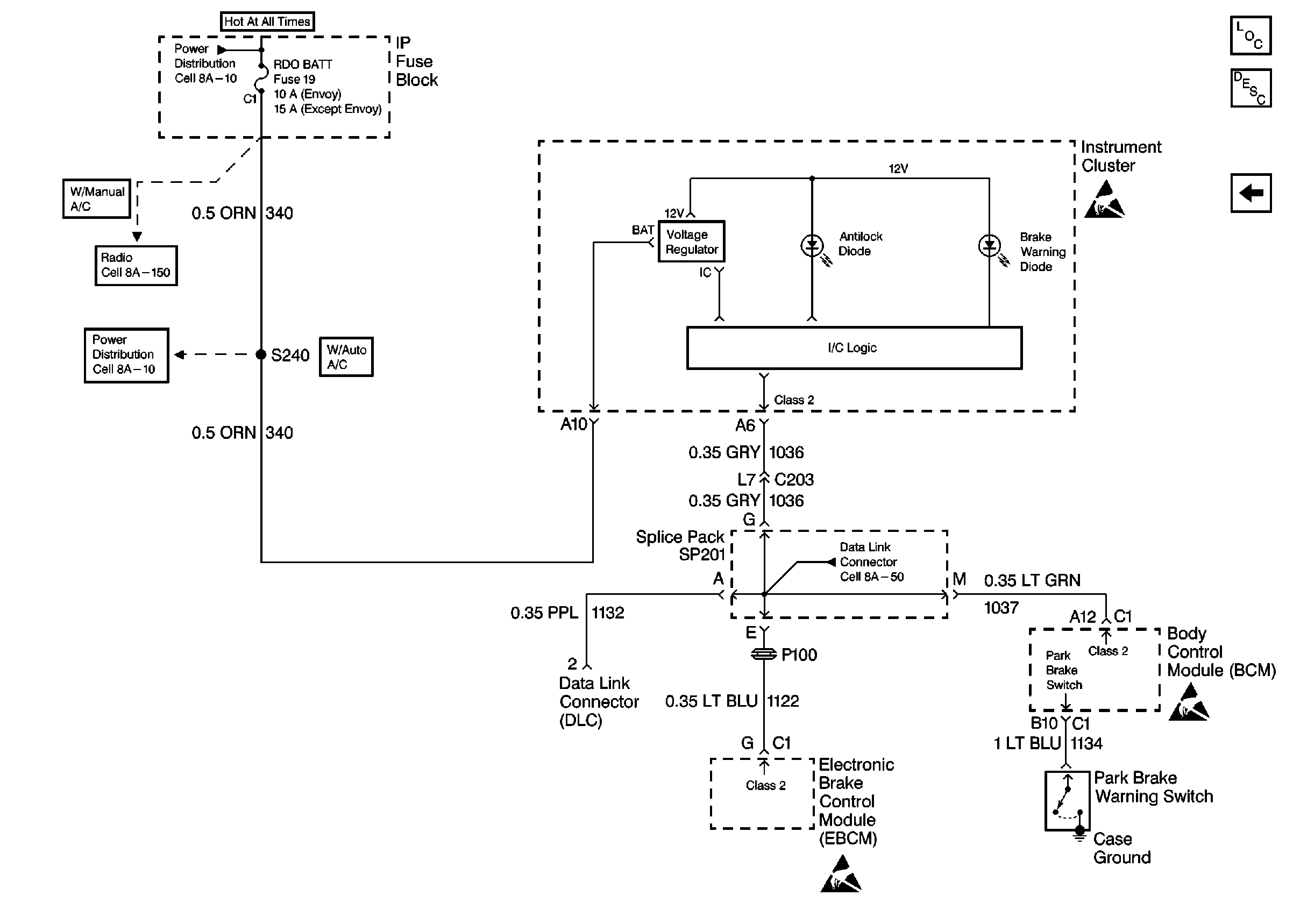
Figure 3:

Brake Warning Lamps


Object Number: 184037  Size: FS
Handling Electrostatic Discharge Sensitive Parts Notice
Handling Electrostatic Discharge Sensitive Parts Notice
Handling Electrostatic Discharge Sensitive Parts Notice
ABS Components
ABS Description
Wheel Speed Sensor Inputs