GM Service Manual Online
For 1990-2009 cars only
Makes
🢒
Oldsmobile
🢒
1998
🢒
Bravada
🢒
HVAC
🢒
HVAC Systems - Manual
🢒 HVAC Compressor Control Schematics
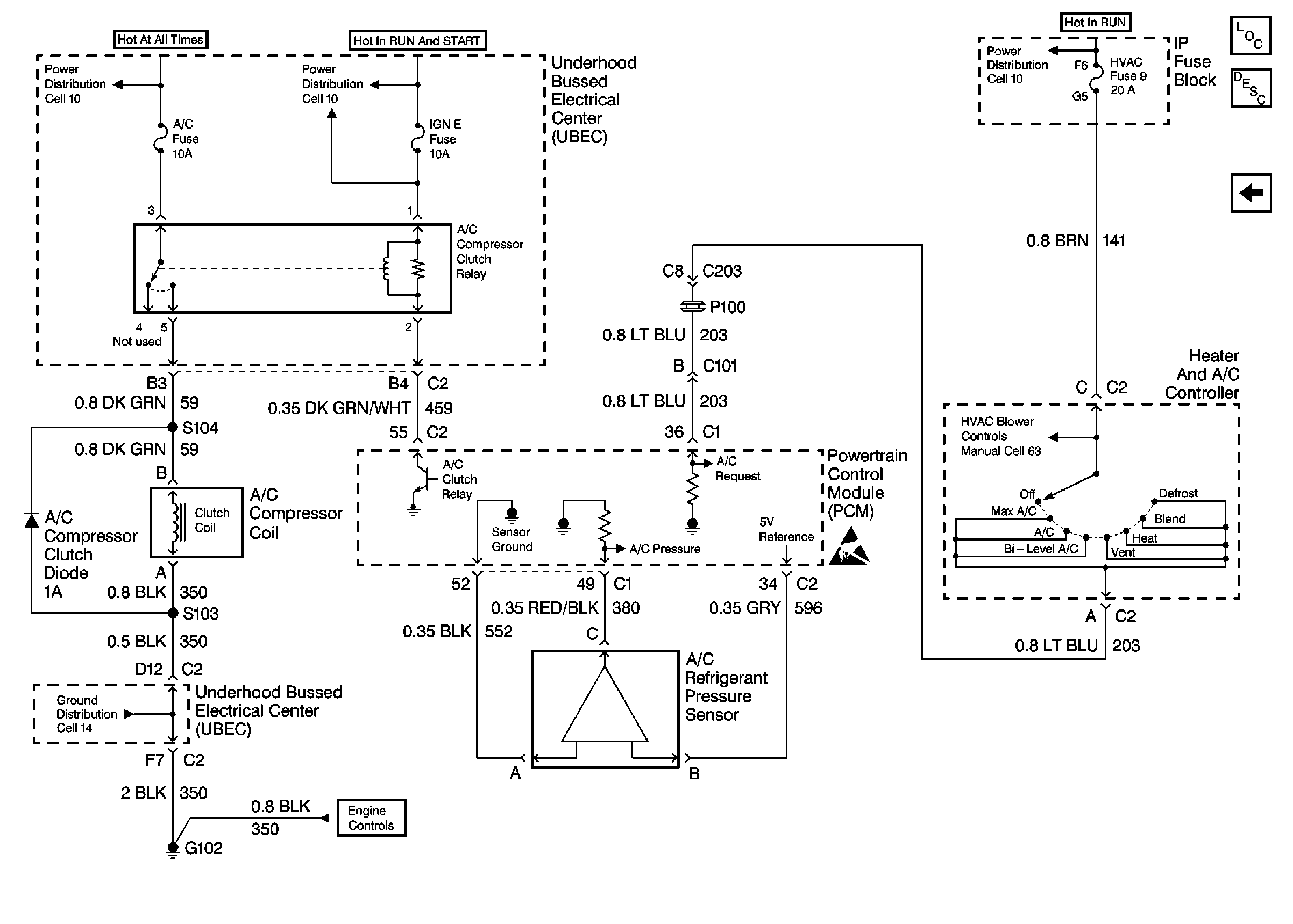
HVAC Compressor Control Schematics 2.2L Engine
Figure
1:
Cell 64 (4.3L)
HVAC Components
HVAC Compressor Controls Circuit Description
Cell 64 (2.2L)
Power Distribution Schematics
Power Distribution Schematics
Power Distribution Schematics
Ground Distribution Schematics
Ground Distribution Schematics
Ground Distribution Schematics
HVAC Blower Control Schematics
Handling ESD Sensitive Parts Notice
Figure
2:
Cell 64 (2.2L)
HVAC Components
HVAC Compressor Controls Circuit Description
Cell 64 (4.3L)
Power Distribution Schematics
Power Distribution Schematics
Power Distribution Schematics
HVAC Blower Control Schematics
Handling ESD Sensitive Parts Notice
Ground Distribution Schematics