GM Service Manual Online
For 1990-2009 cars only

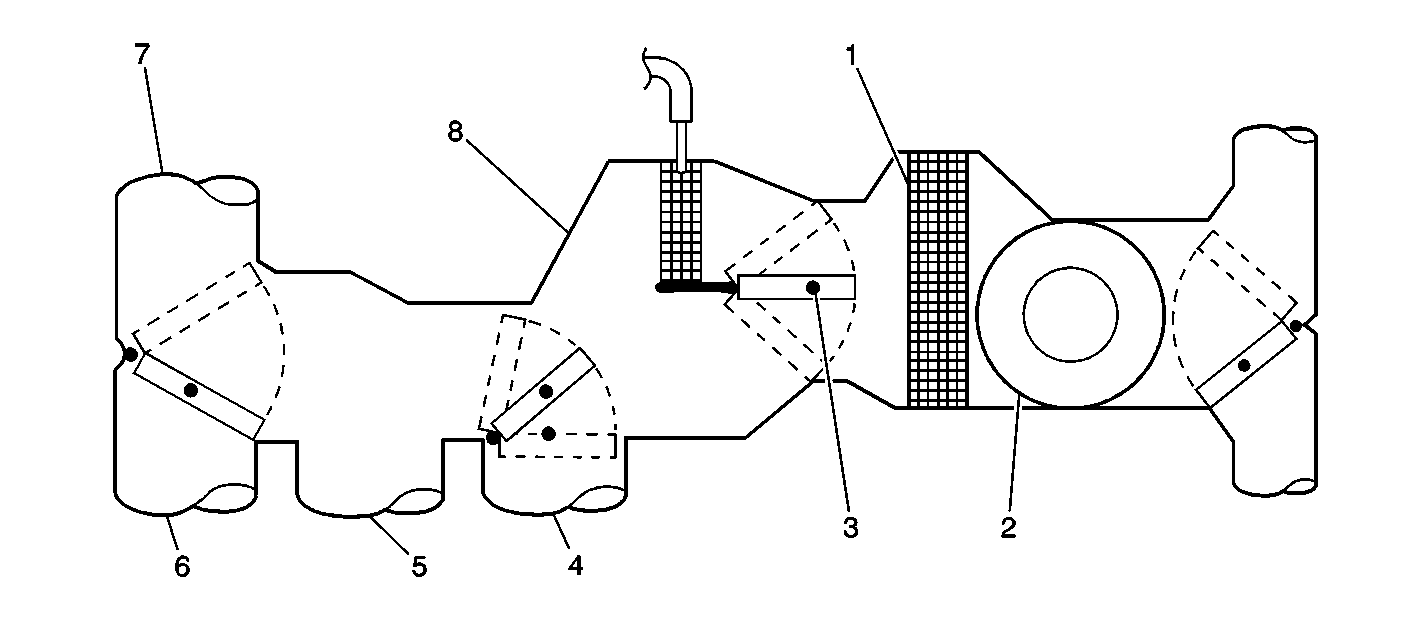
Object Number: 327220  Size: MH

The HVAC system utilizes air. Air is drawn into the blower module (3) through the air inlet assembly (2) at the base of the windshield.


Object Number: 327218  Size: SF

Air then routes through the blower (2).

The blower (2) forces air through the following components:

    • The evaporator core (1), where the air is dehumidified and cooled.
    • The heater core, where the air is heated as required.

The air valves direct the conditioned air in the A/C module to the following outlets:

    • The instrument panel outlets (6)
    • The floor heater outlets (4)
    • The front and the rear outlets (5)
    • The defroster outlets (7)

Air Inlet Assembly


Object Number: 327220  Size: MH

The air inlet assembly (2) provides outside or inside air to the blower depending on the mode that is selected. The actuator varies the inlet air. The heater and A/C programmer control the actuator.

HVAC Blower Module


Object Number: 327220  Size: MH

The HVAC blower module (3) is located under the hood beneath the relay center. The HVAC blower module (3) houses the following components:

    • The blower motor and fan assembly
    • The evaporator core
    • The blower control module (C68 and CJ2)
    • The blower resistors (C61 and C67)

The blower collects air from the air inlet assembly (2). The blower forces the air through the following components:

    • The evaporator
    • The heater core

Ducts and Outlets


Object Number: 327225  Size: SH

The duct system is the network of tubing used to retrieve conditioned air from the A/C module to the instrument panel and to the rear seat outlets. The air distribution chamber (2) has the following major ducts attached:

    • The cross car duct (1)
    • The rear seat duct (3)

The cross car duct (1) attaches to the back of the instrument panel. The cross car duct (1) receives air from the distribution chamber (2). The cross car duct (1) deliver the air to the instrument panel outlets. Air passes through the duct (1) to the side windows.

The rear seat duct (3) receives air from the bottom of the distribution chamber (2). The rear seat duct (3) delivers the air through one of the following locations:

    • The 2 rear outlets of the center arm rest
    • The 2 rear outlets the console of the front seat