GM Service Manual Online
For 1990-2009 cars only

Left Front of the Vehicle (Right Side Similar)


Object Number: 342496  Size: MF
(1)LH Front Side Marker Lamp (RH Similar
(2)C122 (LH) C123 (RH)
(3)LH Low Beam Headlamp (RH Similar)
(4)LH High Beam Headlamp (RH Similar)
(5)LH Front Park/Turn Lamp (RH Similar)

Engine Compartment, Left Front Corner


Object Number: 342518  Size: MF
(1)Brake Pressure Modulator Valve (BPMV) Motor Ground
(2)Brake Pressure Modulator Valve (BPMV)
(3)C119
(4)Electronic Brake and Traction Control Module (EBTCM/EBCM)

Engine Compartment, Near the Left Strut Tower


Object Number: 342521  Size: MF
(1)Windshield Washer Pump
(2)Windshield Washer Fluid Reservoir
(3)S128
(4)S124
(5)Windshield Washer Fluid Level Switch

Engine Compartment, Near the Right Strut Tower


Object Number: 342524  Size: MF
(1)S108
(2)Battery
(3)G105

Engine Compartment, Rear


Object Number: 342529  Size: MF
(1)Blower Motor
(2)P101
(3)C101

Engine Compartment, Right Rear Corner


Object Number: 342531  Size: MF
(1)S104
(2)Blower Motor
(3)Blower Motor Resistor, Blower Control Module (Hidden)
(4)Blower Control Module
(5)Blower Motor Resistor
(6)S101
(7)S103
(8)S102

Engine Compartment, Left Rear Corner


Object Number: 342542  Size: MF
(1)P100 (Hidden)
(2)LH Front Strut Tower
(3)LH Front Strut Actuator (RH Similar)

Engine, Front Side


Object Number: 342548  Size: MF
(1)Knock Sensor Bank 1
(2)Starter Solenoid
(3)Engine Oil Level Switch
(4)A/C Pressure Sensor
(5)A/C Compressor Clutch
(6)A/C Compressor Diode
(7)S107
(8)S106

Engine, Rear Top Area (L36)


Object Number: 342564  Size: MF
(1)S114
(2)S126
(3)S110
(4)Evaporative Emissions Canister Purge Valve
(5)S123
(6)S173
(7)S122
(8)S121
(9)S130
(10)C101
(11)Heated Oxygen Sensor (H02S) Bank 2 Sensor 1

Engine, Rear Top Area (L67)


Object Number: 342566  Size: MF
(1)Engine Harness to C101
(2)S130
(3)S122
(4)S123
(5)S126
(6)Heated Oxygen Sensor (HO2S) Bank 2 Sensor 1

Engine, Right Side (L36)


Object Number: 342579  Size: MF
(1)C107
(2)S135
(3)S136
(4)Crankshaft Position (CKP) Sensor
(5)Camshaft Position (CMP) Sensor (Hidden)
(6)G100 (Hidden)
(7)Ignition Control Module

Engine, Right Front


Object Number: 342511  Size: LF
(1)G100
(2)C107
(3)Camshaft Position (CMP) Sensor
(4)Water Pump

Engine, Right Side (L67 Shown)


Object Number: 342589  Size: MF
(1)Manifold Absolute Pressure (MAP) Sensor
(2)Boost Control Solenoid
(3)C107 (Hidden)
(4)Ignition Control Module
(5)G100 (Hidden)
(6)S135
(7)S136
(8)Crankshaft Position (CKP) Sensor
(9)Camshaft Position (CMP) Sensor (Hidden)

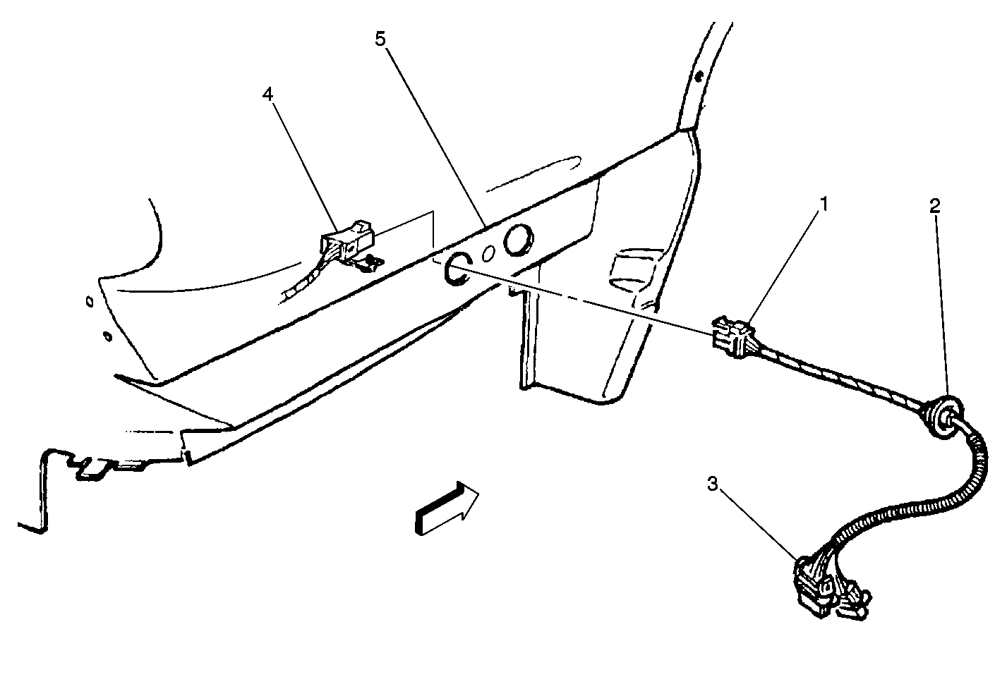
Wheel Opening, Left Front


Object Number: 342595  Size: MF
(1)C120 (LH) C121 (RH)
(2)LH Front Wheel Speed Sensor (RH Similar)
(3)LH Front Disc Brake Rotor (RH Similar)

Passenger Compartment, Behind the Instrument Panel (Pontiac)


Object Number: 342616  Size: MF
(1)S242
(2)S249
(3)S265
(4)S255
(5)S260
(6)S275
(7)S276
(8)C200
(9)S243
(10)Radio
(11)S229
(12)C360
(13)S206
(14)S263
(15)S224
(16)S234
(17)S291
(18)S214
(19)S213
(20)S261
(21)S200
(22)S212
(23)S299

Passenger Compartment, Behind the Instrument Panel (Oldsmobile)


Object Number: 342620  Size: MF
(1)LH Sunload Temperature Sensor
(2)Twilight Sentinel
(3)Headlamp Switch Connector
(4)Traction Control Disable Switch
(5)Interior Lamp Control Module
(6)Ambient Air Temperature Sensor
(7)C200
(8)C304
(9)Valet Switch
(10)S209
(11)S249
(12)S216
(13)Radio
(14)C207
(15 )RH Sun Load Temperature Sensor
(16)IP Compartment Switch
(17)S214
(18)S213
(19)S291
(20)S264
(21)S260

Passenger Compartment, Behind the Instrument Panel (Buick)


Object Number: 342623  Size: LF
(1)S277
(2)S214
(3)S212
(4)S249
(5)S299
(6)S242
(7)S234
(8)C200
(9)S291
(10)C206
(11)IP Compartment Lamp
(12)IP Compartment Lamp Switch
(13)Radio

Passenger Compartment, Behind the Instrument Panel


Object Number: 342625  Size: MF
(1)S239
(2)S244
(3)S246
(4)S252
(5)S241
(6)S202
(7)S279
(8)S201
(9)S283
(10)S284
(11)S281
(12)C101 Breakout
(13)S264
(14)S248
(15)S237
(16)S207
(17)C200 Breakout
(18)S245
(19)S293
(20)Instrument Cluster Breakout
(21)S295
(22)S211
(23)S223
(24)S204
(25)S297
(26)S208
(27)S238

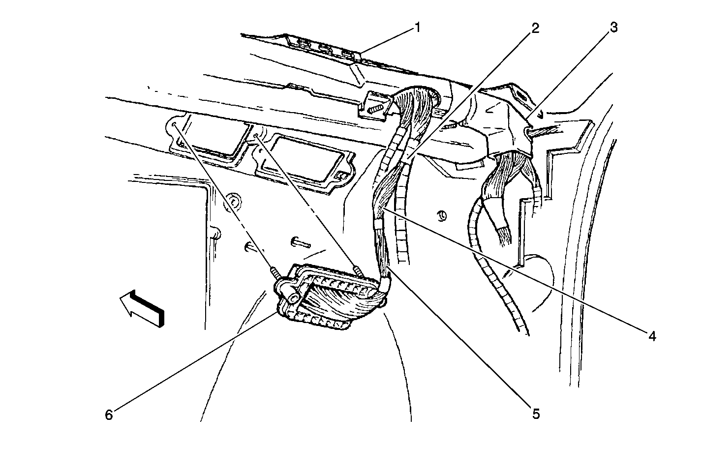
Passenger Compartment, Below the Left Corner of the IP


Object Number: 342628  Size: MF
(1)S227
(2)S254
(3)S289
(4)S288
(5)S218
(6)S225
(7)S298
(8)S290
(9)S292
(10)G202
(11)S210

Passenger Compartment, Below the Steering Column


Object Number: 342635  Size: MF
(1)Inflatable Restraint Steering Wheel Module Coil
(1)Inflatable Restraint Steering Wheel Module Coil
(2)S226
(3)LH IP Sound Insulator
(4)Data Link Connector (DLC)

Passenger Compartment, Below the Left Corner of the IP


Object Number: 342642  Size: MF
(1)S215
(2)S205
(3)S282
(4)S203
(5)Park Brake Switch
(6)Brake Warning Diode
(7)Parking Brake Assembly
(8)IP Fuse Block

Passenger Compartment, Below the Steering Column


Object Number: 342645  Size: MF
(1)Steering Column Support
(2)S219
(3)Starter Enable Relay
(4)S217
(5)C202
(6)S257
(7)S222
(8)S221
(9)S226
(10)S220
(11)S262
(12)S280

Passenger Compartment, Below the Center of the Instrument Panel


Object Number: 342657  Size: MF
(1)Adaptive Lamp Monitor Control Module
(2)S259
(3)S258
(4)S236
(5)S232
(6)S235
(7)To C200
(8)Stoplamp/BTSI Switch
(9)ABS/TCC Switch
(10)S231
(11)S228
(12)S230
(13)S296
(2)

Passenger Compartment, Below the Right Corner of the IP


Object Number: 342667  Size: MF
(1)IP Harness Channel
(2)S271
(3)SP215
(4)S273
(5)S233
(6)C101

Passenger Compartment, Below the Right Corner of the IP


Object Number: 342668  Size: MF
(1)S240
(2)S269
(3)S268
(4)Heater and A/C Programmer

Passenger Compartment, Below the Right Corner of the IP


Object Number: 342676  Size: MF
(1)IP Junction Block
(2)Remote Function Actuator (RFA) Module
(3)S261
(4)S266
(5)S278
(6)S272

Passenger Compartment, Below the Right Corner of the IP


Object Number: 342677  Size: MF
(1)Brake Lamp Driver Module
(2)Perimeter Lighting Relay
(3)Body Control Module (MALL)
(4)S274
(5)S247
(6)S267

Passenger Compartment, Below the Right Corner of the IP


Object Number: 342680  Size: MF
(1)S256
(2)S270
(3)S310
(4)S309
(5)S308
(6)S307
(7)G201
(8)S251
(9)S285

Passenger Compartment, in the Right Front Pillar


Object Number: 342684  Size: MF
(1)C221

Passenger Compartment, in the Left Front Pillar


Object Number: 342689  Size: MF
(1)C205

Passenger Compartment, Under the Front Seats


Object Number: 342701  Size: LF
(1)C345 (Pontiac With AL7) C313 (Oldsmobile)
(2)C303 (Buick, Oldsmobile)
(3)LH Seat Switch (Oldsmobile/Pontiac w/AG1,AG2)
(4)C324 (Buick, Oldsmobile)
(5)Seat Module
(6)C326 (Buick/Oldsmobile) C323 (Pontiac Without AL7) C353 (Pontiac With AL7)
(7)C341
(8)RH Seat Switch (Oldsmobile/Pontiac w/AG1,AG2)

Passenger Compartment, Beneath the Carpet


Object Number: 342703  Size: MF
(1)P403
(2)S415
(3)S315
(4)SP340
(5)SP332

Left Front Door, Behind the Door Trim


Object Number: 342715  Size: MF
(1)S510
(2)P500
(3)S505
(4)S506
(5)C210
(6)C212
(7)S504
(8)S503
(9)S502
(10)Traction Control Switch( if Equipped)
(11)S501
(12)S500
(13)LH Front Power Window Motor (RH Similar)
(14)Power Window Control Module
(15)C502 (LH) C603 (RH)
(16)C503 (LH) C602 (RH)
(17)C501 (LH) C601 (RH)
(18)LH Front Door Jamb Switch (RH Similar)
(19)LH Front Door Lock Actuator (RH Similar)

Left Hand Rear Door, Behind the Door Trim


Object Number: 342718  Size: MF
(1)LH Rear Power Window Motor (RH Similar)
(2)P700 (LH) P800 (RH)
(3)C 701 (LH) C801 (RH)
(4)C702 (LH) C703 (LH) C802 (RH) C803 (RH)
(5)LH Rear Door Jamb Switch (RH Similar)
(6)LH Rear Door Lock Actuator (RH Similar)

Right Front Door, Behind the Door Trim


Object Number: 342720  Size: LF
(1)RH Front Door Speaker Connector (LH Similar)
(2)C602
(3)S601
(4)C216
(5)C209
(6)S600
(7)S603
(8)P600
(9)RH Front Door Speaker (LH Similar)

Rear Compartment, In the Right Front Corner


Object Number: 342726  Size: MF
(1)S408
(2)S410
(3)S409

Passenger Compartment, Rear Package Shelf Area


Object Number: 342710  Size: LF
(1)RH Rear Strut Tower -- LH Similar
(2)RH Rear Strut Actuator -- LH Similar (Pontiac w/FW1)
(3)RH Rear Speaker
(4)LH Rear Speaker
(5)P408
(6)S301
(7)P400

Rear Right Side of the Vehicle, Just Rear of the Right Wheel


Object Number: 342730  Size: MF
(1)C440
(2)P413
(3)Automatic Level Control Compressor
(4)C440
(5)RH Rear Fender

Rear Compartment (Pontiac)


Object Number: 342732  Size: MF
(1)License Lamp
(2)License Lamp
(3)C404
(4)S429, S430
(5)Inflator Switch
(6)C405
(7)S431 S432
(8)C401

Rear Compartment (Buick Shown, Pontiac and Oldsmobile Similar)


Object Number: 342734  Size: MF
(1)S419
(2)G402
(3)RH Rear Side Marker Lamp
(4)LH Rear Side Marker Lamp

Rear Compartment (Buick)


Object Number: 342735  Size: MF
(1)C430
(2)LH Rear Side Marker Lamp
(3)RH Rear Side Marker Lamp
(4)C431

Rear Compartment (Oldsmobile)


Object Number: 342737  Size: MF
(1)C402
(2)C401
(3)G402
(4)C400
(5)S416, S417
(6)S400

Rear Compartment (Pontiac)


Object Number: 342739  Size: MF
(1)S400, S424, S425
(2)G402
(3)P404
(4)License Lamps
(5)S422, S423

Rear Compartment (Buick)


Object Number: 342740  Size: MF
(1)C410
(2)C411

Under the Vehicle, Near the Rear Suspension


Object Number: 387827  Size: LF
(1)Fuel Tank Unit
(2)P403
(3)Fuel Tank Pressure Sensor
(4)C415

Rear of the Vehicle, Behind the Fascia (Oldsmobile)


Object Number: 342742  Size: MF
(1)LH License Lamp
(2)LH Rear Side Marker Lamp
(3)S433
(4)S404, S406
(5)C401
(6)P404
(7)RH Rear Side Marker Lamp
(8)RH License Lamp

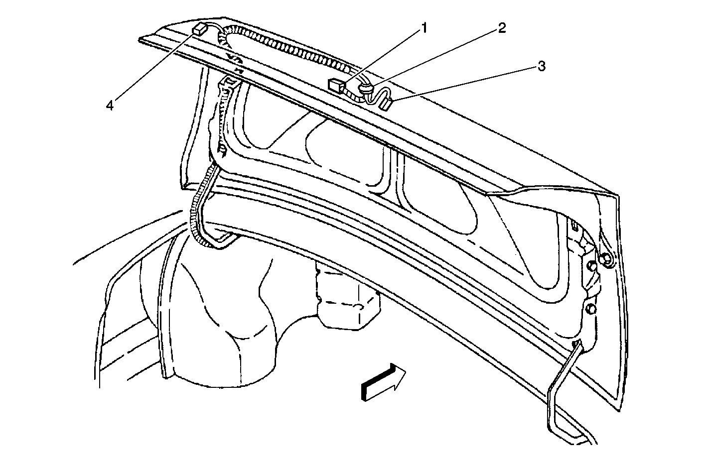
Rear Compartment Lid (Pontiac)


Object Number: 342746  Size: MF
(1)P405
(2)Rear Compartment Lid Latch Switch
(3)Rear Compartment Lid Release Solenoid

Rear Compartment Lid (Buick)


Object Number: 342748  Size: MF
(1)LH License Lamp
(2)RH License Lamp
(3)Rear Compartment Lid Release Solenoid
(4)S400
(5)S414
(6)P405
(7)Rear Compartment Lid Latch Switch
(8)C430

Rear Compartment Lid (Oldsmobile)


Object Number: 342749  Size: MF
(1)Rear Compartment Lid Latch Switch
(2)P405
(3)Rear Compartment Lid Release Solenoid
(4)C430