GM Service Manual Online
For 1990-2009 cars only

Object Number: 204818  Size: MF
SIR Schematics
SIR Caution
SIR Components
Handling ESD Sensitive Parts Notice

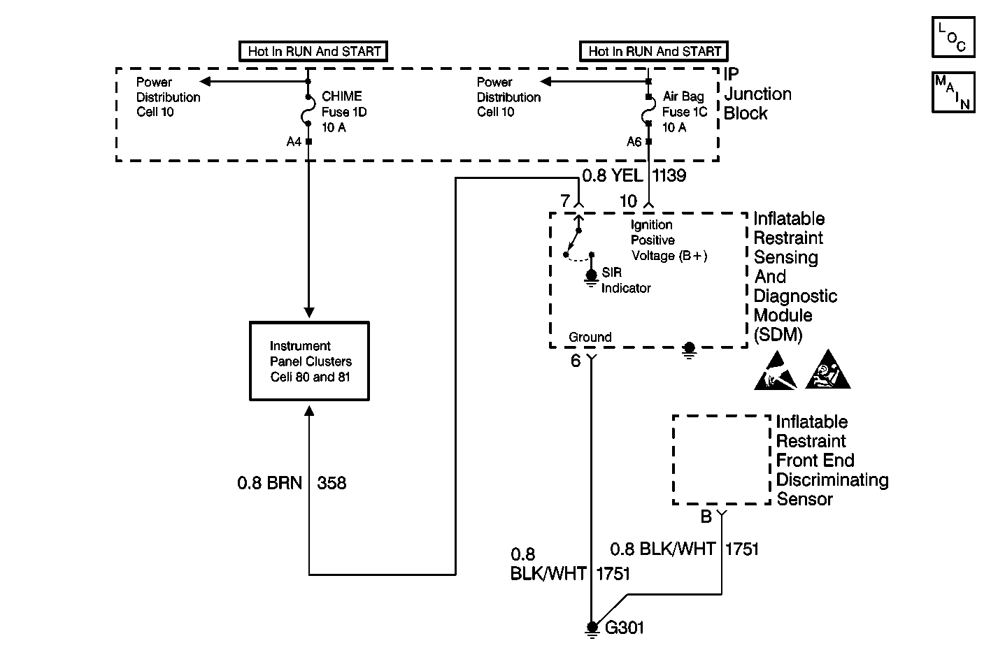
Circuit Description

In the RUN position, the ignition switch applies battery voltage to the AIR BAG warning lamp and to the IGNITION POSITIVE VOLTAGE input terminal 10. The inflatable restraint Sensing and Diagnostic Module (SDM) responds by flashing the AIR BAG warning lamp seven times. The SDM monitors the lamp driver output by comparing the output state at the SIR INDICATOR terminal 7 to the microprocessor commanded state.

Conditions for Setting the DTC

The output state at the SIR INDICATOR terminal 7 does not match the commanded state of the lamp driver for 400 milliseconds.

The CONTINUOUS MONITORING test checks for this DTC. This test occurs when IGNITION 1 is within the normal operating voltage range.

Action Taken When the DTC Sets

    • The SDM sets a diagnostic trouble code.
    • The SDM attempts to turn on the AIR BAG warning lamp.

Conditions for Clearing the DTC

    • Current DTC
        The output state at the SIR INDICATOR terminal 7 matches the commanded state of the lamp driver for 400 milliseconds.
    • History DTC
       - You issue a scan tool CLEAR CODES command.
       - 250 ignition cycles have occurred without a malfunction.

Diagnostic Aids

Refer to AIR BAG Warning Lamp Comes On Steady and AIR BAG Warning Lamp Does Not Come On in order to diagnose warning lamp circuit malfunctions.

Test Description

The number below refers to the step number on the diagnostic table:

  1. When the inflatable restraint Sensing and Diagnostic Module (SDM) is configured for a serial data controlled warning indicator (smart cluster), DTC B1061 will set.

DTC B1061 Lamp Circuit Failure

Step

Action

Value(s)

Yes

No

1

Was the SIR Diagnostic System Check performed?

--

Go to Step 2

Go to SIR Diagnostic System Check

2

  1. Malfunctions within the AIR BAG warning lamp circuitry can set this DTC. These malfunctions are addressed via the SIR Diagnostic System Check. Failure to properly perform the SIR Diagnostic System Check may result in misdiagnosis. Refer to Air Bag Warning Lamp Comes On Steady and Air Bag Warning Lamp Does Not Come On .
  2. Turn the ignition switch to the RUN position.
  3. Clear the SIR DTC codes.
  4. Request the SIR DTC display.

Is DTC B1061 set?

--

Go to Sensing and Diagnostic Module Integrity Check

Go to SIR Diagnostic System Check