GM Service Manual Online
For 1990-2009 cars only

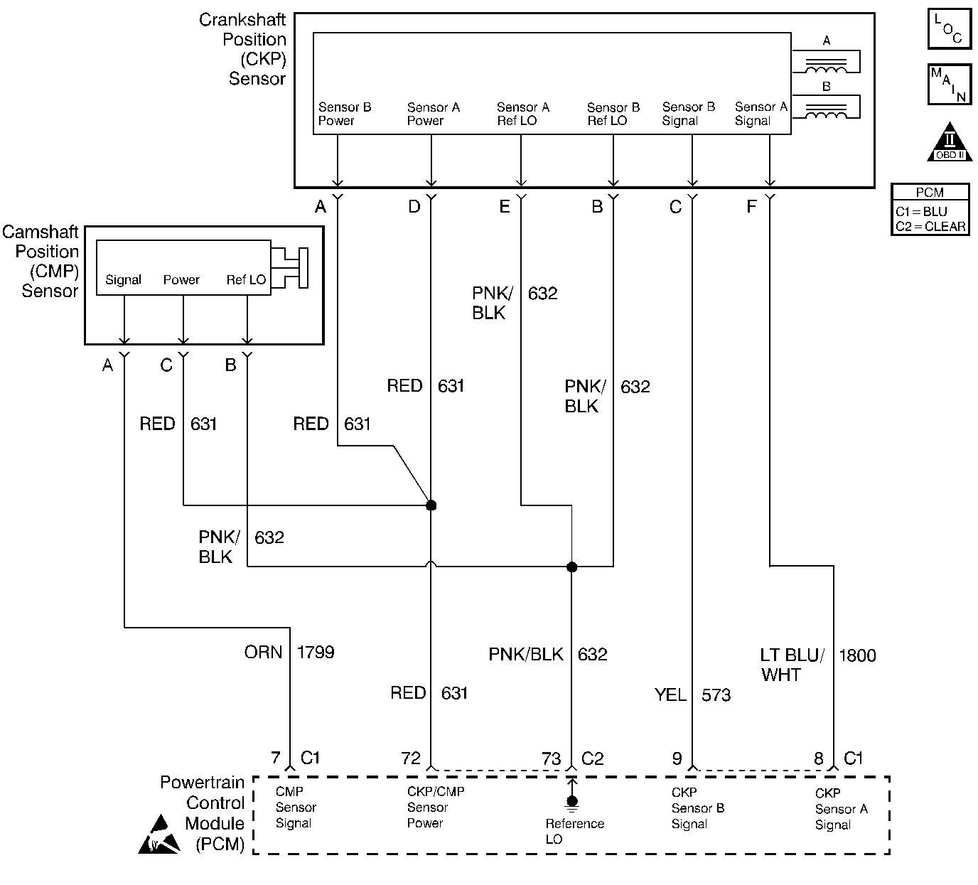
Object Number: 293753  Size: LF
CKP/CMP/KS (98 W OLDS 3.5L LX5)
Engine Controls Components
OBD II Symbol Description Notice
ESD Notice

Circuit Description

The Crankshaft Position (CKP) sensor used on this engine is actually two sensors within a single housing. Each sensor has a separate power, ground (reference low) and a signal circuit. The PCM supplies 12 Volts to both sensors. The PCM provides the ground path, or sensor return circuit, from both sensors. The power and reference low circuits are also connected to the CMP sensor. Two separate signal circuits connect the CKP sensor and the PCM.

The PCM can use three different modes of decoding crankshaft position. During normal operation, the PCM performs an Angle Based calculation using both signals to determine crankshaft position. The dual sensor allows the engine to run even if one signal is lost. If either signal is lost, the PCM switches to a Time Based method of calculating crankshaft position. If the system is operating in Time A mode, the PCM is using only the signal from Sensor A. Time B indicates that the Sensor B signal is being used. If the lost signal is restored, the PCM will continue to operate in Time A or B mode for the remainder of the current key cycle. The PCM will automatically revert back to the Angle mode on the next start up if the fault is not present. The scan tool can display the Crank Position Sensing Decode Mode.

Conditions for Running the DTC

Engine cranking or running.

Conditions for Setting the DTC

The PCM detects a problem with the CKP Sensor B signal.

Action Taken When the DTC Sets

    • The PCM illuminates the malfunction indicator lamp (MIL) on the second consecutive ignition cycle that the diagnostic runs and fails.
    • The PCM records the operating conditions at the time the diagnostic fails. The first time the diagnostic fails, the PCM stores this information in the Failure Records. If the diagnostic reports a failure on the second consecutive ignition cycle, the PCM records the operating conditions at the time of the failure. The PCM writes the conditions to the Freeze Frame and updates the Failure Records.

Conditions for Clearing the MIL/DTC

    • The PCM turns the MIL Off after three consecutive drive trips that the diagnostic runs and does not fail.
    • A last test failed (current DTC) clears when the diagnostic runs and does not fail.
    • A History DTC clears after forty consecutive warm-up cycles, if this or any other emission related diagnostic does not report any failures.
    • Use a scan tool in order to clear the MIL/DTC.
    • Interrupting the PCM battery voltage may or may not clear DTCs. This practice is not recommended. Refer to Powertrain Control Module (PCM) Description , Clearing Diagnostic Trouble Codes.

Diagnostic Aids

Notice: Use the connector test adapter kit J 35616-A for any test that requires probing the following items:

   • The PCM harness connectors
   • The electrical center fuse/relay cavities
   • The component terminals
   • The component harness connector
Using this kit will prevent damage caused by the improper probing of connector terminals.

If the problem is intermittent, refer to Intermittent Conditions .

CKP/CMP sensor DTCs may set if the key is turned to Start and the starter is inoperative. If P0335, P0340, and P0385 are set and no trouble is found, check for the following:

    • Is there a no-crank condition or an intermittent no-crank condition?
    • Was an attempt made to crank the engine with the shift lever not in P/N?

Test Description

Number(s) below refer to the step number(s) on the diagnostic table.

  1. During normal operation the CKP Sensor Status parameter should always indicate Angle. If Time A or Time B is displayed, a problem has been detected. For example, if the scan tool indicates Time A, the system is using the signal from CKP Sensor A. CKP Sensor B and related circuits should be diagnosed.

Step

Action

Value(s)

Yes

No

1

Did you perform the Powertrain On-Board Diagnostic (OBD) System Check?

--

Go to Step 2

Go to the Powertrain On Board Diagnostic (OBD) System Check

2

Is DTC P0340 also set?

--

Go to DTC P0340 Camshaft Position (CMP) Sensor Circuit .

Go to Step 3

3

Does the engine start and run?

--

Go to Step 4

Go to Step 6

4

  1. Start the engine.
  2. Select CKP Sensor Status on the scan tool.

Does the scan tool indicate CKP Sensor Status Angle?

--

Go to Step 5

Go to Step 6

5

Move the related harnesses and connectors (by hand only) while monitoring the scan tool display.

Does CKP Sensor Status change to Time A or Time B or does an engine stall occur?

--

Go to Step 13

Refer to Diagnostic Aids.

6

The following steps apply to the sensor and related circuitry that is malfunctioning. For example, if the scan tool indicates Time A, the system is using the signal from CKP Sensor A. CKP Sensor B and related circuits should be diagnosed.

  1. Turn the key to Off.
  2. Disconnect the CKP sensor.
  3. Turn the key to On.
  4. Using DMM J 39200 connected to ground, measure the voltage on the power circuit at the CKP sensor harness connector.

Does the DMM indicate the specified voltage?

B+

Go to Step 7

Go to Step 14

7

Connect DMM J 39200 between the power circuit and the ground circuit in the CKP sensor harness connector.

Does the DMM indicate the specified voltage?

B+

Go to Step 8

Go to Step 15

8

For the following test, the PCM must be commanded to look at the sensor being tested. Set the Crank Position Sensing Decode Mode to Time A when testing sensor A, Time B when testing sensor B.

  1. Turn the key to Off and wait 15 seconds.
  2. Turn the key to On.
  3. Clear DTCs.
  4. Using the scan tool, command the system to operate in the appropriate Time mode for the sensor being tested, as explained above.
  5. Monitor 24X Crank Sensor Data on the scan tool.
  6. Using test light J 35616-200 connected to B+, momentarily touch the signal circuit several times.
  7. Is RPM indicated on the scan tool?

--

Go to Step 20

Go to Step 9

9

  1. Turn the key to Off.
  2. Disconnect PCM connector C1.
  3. Turn the key to On.
  4. Using DMM J 39200 check for the presence of voltage on the signal circuit.

Is voltage indicated?

--

Go to Step 18

Go to Step 10

10

Using DMM J 39200 check the signal circuit for continuity between the CKP sensor harness connector and the PCM harness connector.

Does the DMM display the value shown (or lower)?

5 Ohms

Go to Step 11

Go to Step 16

11

Using DMM J 39200 , check for continuity between the signal circuit and ground.

The DMM should display infinite resistance.

Does the DMM display infinite resistance?

--

Go to Step 12

Go to Step 17

12

Using DMM J 39200 , check for continuity between the CKP Sensor A and CKP Sensor B signal circuits.

The DMM should display infinite resistance.

Does the DMM display infinite resistance?

--

Go to Step 22

Go to Step 19

13

Repair the harness/connections as necessary. Refer to Intermittents and Poor Connections Diagnosis .

Is the action complete?

--

Go to Step 24

--

14

Repair the open/high resistance power circuit between the sensor and the splice.

Is the action complete?

--

Go to Step 24

--

15

Repair the open/high resistance ground circuit between the sensor and the splice.

Is the action complete?

--

Go to Step 24

--

16

Repair open/high resistance sensor signal circuit.

Is the action complete?

--

Go to Step 24

--

17

Repair the sensor signal circuit shorted to ground.

Is the action complete?

--

Go to Step 24

--

18

Repair the sensor signal circuit shorted to power.

Is the action complete?

--

Go to Step 24

--

19

Repair the signal circuits shorted together.

Is the action complete?

--

Go to Step 24

--

20

Check for poor connections/terminal tension at the CKP sensor. Refer to Intermittents and Poor Connections Diagnosis .

Was a problem found and corrected?

--

Go to Step 24

Go to Step 21

21

Replace the CKP sensor. Refer to Crankshaft Position Sensor Replacement . Perform the Crankshaft Position System Variation Learn after replacing the sensor.

Is the action complete?

--

Go to Step 24

--

22

Check for poor connections/terminal tension at the PCM. Refer to Intermittents and Poor Connections Diagnosis .

Was a problem found and corrected.

--

Go to Step 24

Go to Step 23

23

Replace the PCM. Refer to Powertrain Control Module Replacement/Programming .

Is the action complete?

--

Go to Step 24

--

24

  1. Clear DTCs with the scan tool.
  2. Turn the key to Off and wait 15 seconds
  3. Operate vehicle within the conditions that are required for this diagnostic to run. Refer to Conditions for Running the DTC.

Does the scan tool indicate that this test ran and passed?

--

Go to Step 25

Go to Step 2

25

Review Captured Info using the scan tool.

Are there any DTCs that have not been diagnosed?

--

Go to the applicable DTC table

System OK