GM Service Manual Online
For 1990-2009 cars only

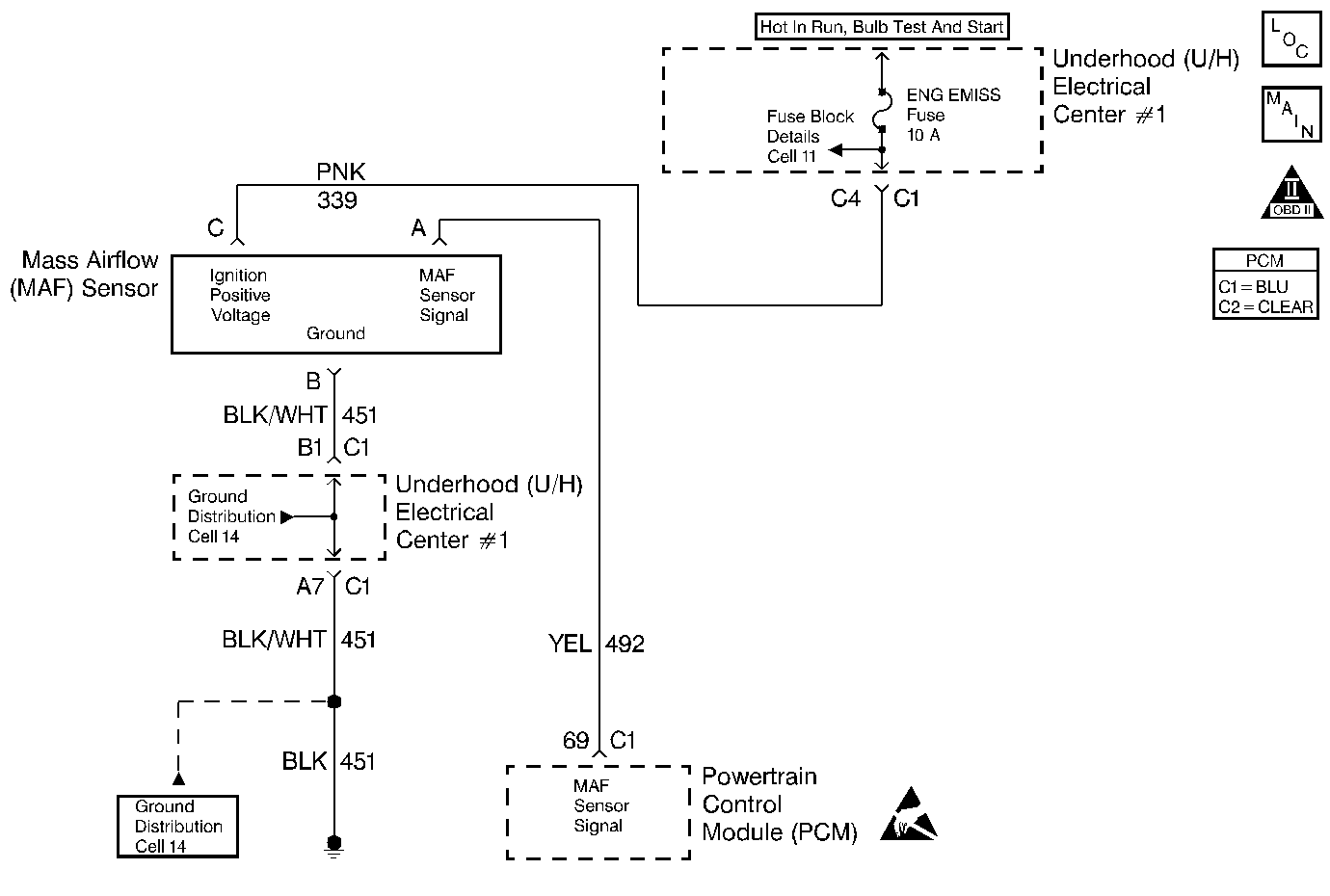
Object Number: 154524  Size: MF
Engine Controls Components
Fuel Pump and Fuel Level Sensors
OBD II Symbol Description Notice

Circuit Description

The mass air flow (MAF) sensor measures the amount of air which passes through the sensor into the engine during a given time. The PCM uses the mass air flow information to monitor engine operating conditions for fuel delivery calculations. A large quantity of air entering the engine indicates an acceleration or a high load situation, while a small quantity of air indicates deceleration or idle. The MAF sensor produces a frequency signal which may be monitored using a scan tool. The frequency varies within a range of around 2000 Hz at idle to about 10,000 Hz at maximum engine load. DTC P0102 sets if the signal frequency from the MAF sensor is lower than the possible range of a normally operating MAF sensor.

Conditions for Running the DTC

    • The engine is running.
    • The throttle position (TP) angle is less than 50%.
    • The system voltage is more than 8 volts.

Conditions for Setting the DTC

    • The MAF signal frequency is less than 1200 Hz.
    • The above conditions present for longer than 0.5 seconds and 100 3X reference periods.

Action Taken When the DTC Sets

    • The PCM illuminates the malfunction indicator lamp (MIL) the first time the malfunction is detected.
    • The PCM calculates an airflow value based on idle air control valve position, the throttle position, the RPM and the barometric pressure.
    • The PCM stores the conditions which were present when the DTC set as Freeze Frame and the Fail Records data.

Conditions for Clearing the MIL/DTC

    • The PCM turns the MIL off during the third consecutive trip in which the diagnostic has run and passed.
    • The history DTC clears after 40 consecutive warm-up cycles have occurred without a malfunction.
    • The DTC may be cleared by using the scan tool Clear Info function or by disconnecting the PCM battery feed.

Diagnostic Aids

A low minimum air rate may cause DTC P0102 to be set during deceleration. Test the minimum air rate as follows:

  1. Run the engine until the engine coolant temperature is above 85°C (185°F).
  2. Disconnect the IAC.
  3. Install a J 37027-A IAC System Monitor.
  4. With the engine idling, command the IAC valve to the fully extended position.
  5. With the IAC fully extended, observe the Mass Air Flow reading on the scan tool.
  6. Inspect for conditions that may cause a low minimum air rate, including throttle bore and throttle plate coking, if the Mass Air Flow reading is less than the following values:
  7. • VIN K: 2.27 g/sec
    • VIN 1: 2.95  g/sec
  8. If the minimum air rate is less than specifications, clean or replace the throttle body as necessary. Refer to Throttle Body Assembly Replacement .

Inspect for the following conditions:

    • A faulty connection at the PCM. Inspect the harness connectors for backed out terminals, improper mating, broken locks, improperly formed or damaged terminals, and faulty terminal to wire connections.
    • Inspect the MAF sensor harness to ensure that the harness is not routed too closely to high voltage wires such as spark plug leads.
    • Inspect the wiring harness for damage. If the harness appears to be OK, observe the scan tool while moving the connectors and the wiring harnesses related to the MAF sensor. A change in the display indicates the location of the malfunction.
    • A plugged intake air duct or filter element. A wide-open throttle acceleration from a stop should cause the Mass Air Flow displayed on a scan tool to increase from about 4-7 gm/s at idle to 100 gm/s or more at the time of the 1-2 shift. If not, inspect for a restriction.

If DTC P0102 cannot be duplicated, the information included in the Fail Records data may be useful in determining vehicle mileage since the DTC was last set. This may assist in diagnosing the condition.

Test Description

The number(s) below refer to the step number(s) on the Diagnostic Table:

  1. This step verifies that the problem is present at idle.

  2. A voltage reading of less than 4 or over 6 volts at the MAF sensor signal circuit indicates a malfunction in the wiring or a faulty connection.

  3. Verifies that ignition feed voltage and good ground are available at the MAF sensor.

  4. This vehicle is equipped with a PCM which utilizes an electrically erasable programmable read-only memory (EEPROM). When the PCM is replaced, the new PCM must be programmed.

DTC P0102 - MAF Sensor Circuit Low Frequency

Step

Action

Value(s)

Yes

No

1

Did you perform the Powertrain On-Board Diagnostic (OBD) System Check?

--

Go to Step 2

Go to Powertrain On Board Diagnostic (OBD) System Check

2

  1. Start the engine.
  2. With the engine idling, use a scan tool in order to monitor the MAF Frequency.

Is the MAF Frequency less than the specified value?

1200 Hz

Go to Step 4

Go to Step  3

3

  1. Turn the ignition switch to the ON position.
  2. Review and record the scan tool Fail Records data.
  3. Operate the vehicle within the Fail Records conditions.
  4. Use a scan tool in order to monitor the Specific DTC info for DTC P0102.

Does the scan tool indicate DTC P0102 Failed This Ign?

--

Go to Step 4

Go to Diagnostic Aids

4

  1. Inspect for the following conditions:
  2. • Objects blocking the throttle body inlet screen. Refer to Throttle Body Air Inlet Screen Replacement .
    • Vacuum leaks around the intake manifold.
    • Vacuum leaks at the throttle body.
    • Vacuum leaks at the EGR valve flange and pipes.
    • A malfunctioning, missing, or incorrectly installed crankcase ventilation valve.
  3. If a problem is found, repair as necessary.

Was a problem found?

--

Go to Step  14

Go to Step 5

5

  1. Turn the ignition switch to the OFF position.
  2. Disconnect the MAF sensor connector.
  3. Turn the ignition switch to the ON position.
  4. Use a digital multimeter in order to measure the voltage between the MAF signal circuit and battery ground.

Is the voltage near the specified value?

5 V

Go to Step  6

Go to Step 9

6

Connect a test lamp between the MAF sensor ignition feed and ground circuits at the MAF sensor harness connector.

Does the test lamp illuminate?

--

Go to Step  8

Go to Step 7

7

Connect a test lamp between the MAF sensor ignition feed circuit and battery ground.

Does the test lamp illuminate?

--

Go to Step  10

Go to Step  11

8

  1. Test for a faulty connection at the MAF sensor.
  2. If a faulty connection is found, replace the loose terminal(s). Refer to Connector Repairs in Wiring Systems.

Was a problem found?

--

Go to Step  14

Go to Step  12

9

  1. Test the MAF signal circuit between the PCM and the MAF sensor for an open, a short to ground, a short to the MAF ground circuit, or a short to voltage.
  2. Inspect for faulty connection at the PCM.
  3. If the MAF signal circuit is open or shorted, repair as necessary. Refer to Wiring Repairs in Wiring Systems.

Was a problem found?

--

Go to Step  14

Go to Step  13

10

Locate and repair the open in the ground circuit to the MAF sensor. Refer to Wiring Repairs in Wiring Systems.

Did you complete the repair?

--

Go to Step  14

--

11

Locate and repair the open or short to ground in the ignition feed circuit to the MAF sensor. Refer to Wiring Repairs in Wiring Systems.

Did you complete the repair?

--

Go to Step  14

--

12

Replace the MAF sensor. Refer to Mass Airflow Sensor Replacement .

Is action complete?

--

Go to Step  14

--

13

Important:: The replacement PCM must be programmed. Refer to Powertrain Control Module Replacement/Programming .

Replace the PCM.

Did you complete the repair?

--

Go to Step  14

--

14

  1. Turn the ignition switch to the ON position
  2. Review and record the scan tool Fail Records data.
  3. Clear any DTCs.
  4. Operate the vehicle within the Fail Records conditions.
  5. Use a scan tool in order to monitor the Specific DTC info for DTC P0102.

Does the scan tool indicate DTC P0102 Failed This Ign?

--

Go to Step 2

System OK