GM Service Manual Online
For 1990-2009 cars only
Table 1: TFP Manual Valve Position Switch Logic
Table 2: DTC P1810 TFP Manual Valve Position Switch Circuit Malfunction
Table 3: Pass Conditions for DTC P1810

Object Number: 347032  Size: MF
Automatic Transmission Components
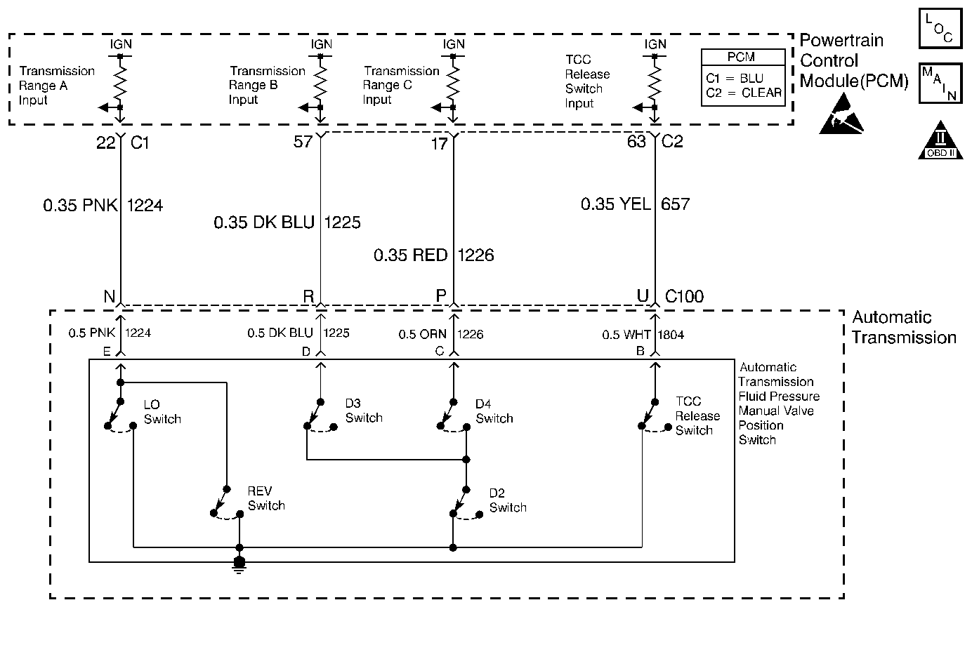
Automatic Transmission Controls Schematics
OBD II Symbol Description Notice
Handling ESD Sensitive Parts Notice

Circuit Description

The automatic transmission fluid pressure (TFP) manual valve position switch consists of six pressure switches (three normally-closed and three normally-open switches). Ignition voltage is applied to each of the switches. By grounding or opening one or more of these switches with fluid pressure from the manual valve, the PCM can detect which gear range is selected.

If the PCM detects an illegal combination on any range inputs (ON/OFF/ON or ON/ON/ON), then DTC P1810 sets. If the PCM detects a gear range other than the one indicated, then DTC P1810 sets. DTC P1810 is a Type B DTC.

Conditions for Running the DTC

    • The engine speed is greater than 500 RPM for 5 seconds and not in fuel shut off.
    • The system voltage is 9-18 volts.

Conditions for Setting the DTC

DTC P1810 sets when at least one of the following cases occurs:

Case 1

The TFP manual valve position switch indicates an illegal switch combination for 60 seconds.

Case 2

    • No VSS DTCs P0502 or P0503 are set.
    • The vehicle speed is less than 16 km/h (10 mph).
    • TFP manual valve position switch indicates REVERSE, D2 or D4 for 7 seconds at engine start up without indicating PARK or NEUTRAL.

Case 3

    • No TP sensor DTCs P0121, P0122 or P0123 are set.
    • No VSS DTCs P0502 or P0503 are set.
    • No A/T ISS sensor DTCs P0716 or P0717 are set.
    • No 1-2, 3-4 SS valve DTCs P0751 or P0753 are set.
    • No 2-3 SS valve DTCs P0756 or P0758 are set.
    • The TP angle is greater than 9%.
    • The vehicle speed is more than 8 km/h (5 mph).
    • The engine torque is 70-230 N·m (50-170 lb ft) and one of the following conditions occurs:
       - The gear ratio indicates REVERSE, D4, D3, D2 or D1 and the TFP manual valve position switch indicates PARK or NEUTRAL for 5 seconds.
       - The gear ratio indicates D4, D3, D2 or D1 and the TFP manual valve position switch indicates REVERSE for 7 seconds.
       - The gear ratio indicates REVERSE and the TFP manual valve position switch indicates D4, D3, D2 or D1 for 5 seconds.

Action Taken When the DTC Sets

    • The PCM illuminates the malfunction indicator lamp (MIL) during the second consecutive trip in which the conditions for setting the DTC are met.
    • The PCM commands maximum line pressure.
    • The PCM freezes shift adapts.
    • The PCM assumes D4 for shifting.
    • The PCM stores DTC P1810 in PCM history.

Conditions for Clearing the MIL/DTC

    • The PCM turns OFF the MIL during the third consecutive trip in which the diagnostic test runs and passes.
    • A scan tool clears the DTC from the PCM history.
    • The PCM clears the DTC from the PCM history if the vehicle completes 40 consecutive warm-up cycles without an emission related diagnostic fault occurring.
    • The PCM cancels the DTC default actions when the fault no longer exists and the ignition switch is OFF long enough in order to power down the PCM.

Diagnostic Aids

    • Inspect the wiring at the PCM, the transmission 20-way connector, the TFP manual valve position switch connector and all other circuit connecting points for the following conditions:
       - A backed out terminal
       - A damaged terminal
       - Reduced terminal tension
       - A chafed wire
       - A broken wire inside the insulation
       - Moisture intrusion
       - Corrosion
    • When diagnosing for an intermittent short or open, massage the wiring harness while watching the test equipment for a change.
    • If a transmission overhaul was performed, ensure that the transmission fluid is at the proper level. A low fluid condition may set this DTC.
    • Inspect the TFP manual valve position switch seals for damage.
    • Inspect the TFP manual valve position switch for debris, or loose rivets.

TFP Manual Valve Position Switch Logic

Gear Position

Range Signal A

Range Signal B

Range Signal C

Park

OFF

ON

OFF

Reverse

ON

ON

OFF

Neutral

OFF

ON

OFF

D4

OFF

ON

ON

D3

OFF

OFF

ON

D2

OFF

OFF

OFF

D1

ON

OFF

OFF

Illegal

ON

OFF

ON

Illegal

ON

ON

ON

Test Description

The numbers below refer to the step numbers on the diagnostic table.

  1. This step tests the indicated range signal to the manual valve range actually selected.

  2. This step tests for correct voltage from the PCM to the transmission 20-way connector.

  3. This step tests for a short together between circuits 1224 (PNK), 1225 (DK BLU) and 1226 (RED).

DTC P1810 TFP Manual Valve Position Switch Circuit Malfunction

Step

Action

Value(s)

Yes

No

1

Was the Powertrain On-Board Diagnostic (OBD) System Check performed?

--

Go to Step 2

Go to Powertrain On Board Diagnostic (OBD) System Check (3.5L) or Powertrain On Board Diagnostic (OBD) System Check (3.8L) in Engine Controls

2

Perform the following inspections:

    • Ensure that the transmission linkage from the select lever to the manual valve is adjusted properly.
    • Perform the Transmission Fluid Check .

Are the inspections complete?

--

Go to Step 3

--

3

  1. Install the Scan Tool .
  2. Start the engine.
  3. Important: Before clearing the DTCs, use the scan tool in order to record the Freeze Frame and Failure Records for reference. Using the Clear Info function will erase the stored Freeze Frame and Failure Records from the PCM.

  4. Record the Freeze Frame and Failure Records.
  5. Clear the DTCs.
  6. Apply the brakes.
  7. Monitor TFP manual valve position switch on the scan tool while performing the following step.
  8. Select each transmission range: P, R, N, D4, D3, D2 and D1.

Refer to the Transmission Fluid Pressure (TFP) Manual Valve Position Switch Logic table.

Does each selected transmission range match the scan tool display?

--

Go to Diagnostic Aids

Go to Step 4

4

  1. Turn the ignition switch to the OFF position.
  2. Disconnect the transmission 20-way connector.
  3. Install the J 39775 jumper harness on the engine side of the transmission 20-way connector.
  4. Important: Additional DTCs will set

  5. Turn the ignition switch to the RUN position.
  6. Using a J 39200 digital multimeter (DMM) and a J 35616-A connector test adapter kit, check the voltage at connector terminals N, R and P.
  7. Refer to Automatic Transmission Inline Harness Connector End View .

Is B+ displayed on all three circuits?

--

Go to Step 6

Go to Step 5

5

Inspect the circuits that did not indicate B+ for an open or short to ground.

Refer to General Electrical Diagnosis in Wiring Systems.

Was a condition found?

--

Go to Step 8

Go to Step 7

6

  1. Monitor TFP manual valve position switch on the scan tool.
  2. Use a fused jumper wire to ground each of the following circuits individually:
  3. • 1224 (PNK)
    • 1225 (DK BLU)
    • 1226 (RED)

When a range signal circuit is grounded, are any other range signal circuits affected?

--

Go to Step 8

Go to the Transmission Fluid Pressure Manual Valve Position Switch Resistance Check

7

Replace the PCM.

Refer to Powertrain Control Module Replacement/Programming (3.5L) or Powertrain Control Module Replacement/Programming (3.8L) in Engine Controls.

Is the replacement complete?

--

Go to Step 9

--

8

Repair the affected wiring as necessary.

Refer to Wiring Repairs in Wiring Systems.

Is the repair complete?

--

Go to Step 9

--

9

Perform the following procedure in order to verify the repair:

  1. Select DTC.
  2. Select Clear Info.
  3. Operate the vehicle, ensuring that all the pass cases in the following table are true.
  4. Select Specific DTC.
  5. Enter DTC P1810.

Has the test run and passed?

--

System OK

Go to Step 1

Pass Conditions for DTC P1810

Pass Case 1

Pass Case 2

Pass Case 3

Pass Case 4

Pass Case 5

The engine speed is more than 500 RPM for 5 seconds.

The engine speed starts at less than 50 RPM and rises to more than 700 RPM.

The engine speed is more than 500 RPM for 5 seconds.

The engine is not in fuel shut off.

The vehicle speed is less than 5 km/h (3 mph).

The engine is not in fuel shut off.

The system voltage is 9-18 volts.

The TP angle is more than 9%.

The TFP manual valve position switch indicates any legal switch combination for 60 seconds.

The TFP manual valve position switch indicates PARK or NEUTRAL for 0.15 seconds within 7 seconds after start up.

The engine torque is 70-230 N·m (50-170 lb ft).

--

No VSS DTCs P0502 or P0503

The vehicle speed is more than 8 km/h (5 mph).

--

--

The gear ratio does not indicate REVERSE, D4, D3, D2 or D1.

The gear ratio indicates REVERSE.

The gear ratio indicates D4, D3, D2 or D1.

--

--

The TFP manual valve position switch indicates PARK or NEUTRAL for 1 second.

The TFP manual valve position switch indicates REVERSE for 3 seconds.

The TFP manual valve position switch indicates D4, D3, D2 or D1 for 1 second.

--

--

No SS DTCs

--

--

No A/T ISS sensor DTCs

--

--

No VSS DTCs