GM Service Manual Online
For 1990-2009 cars only

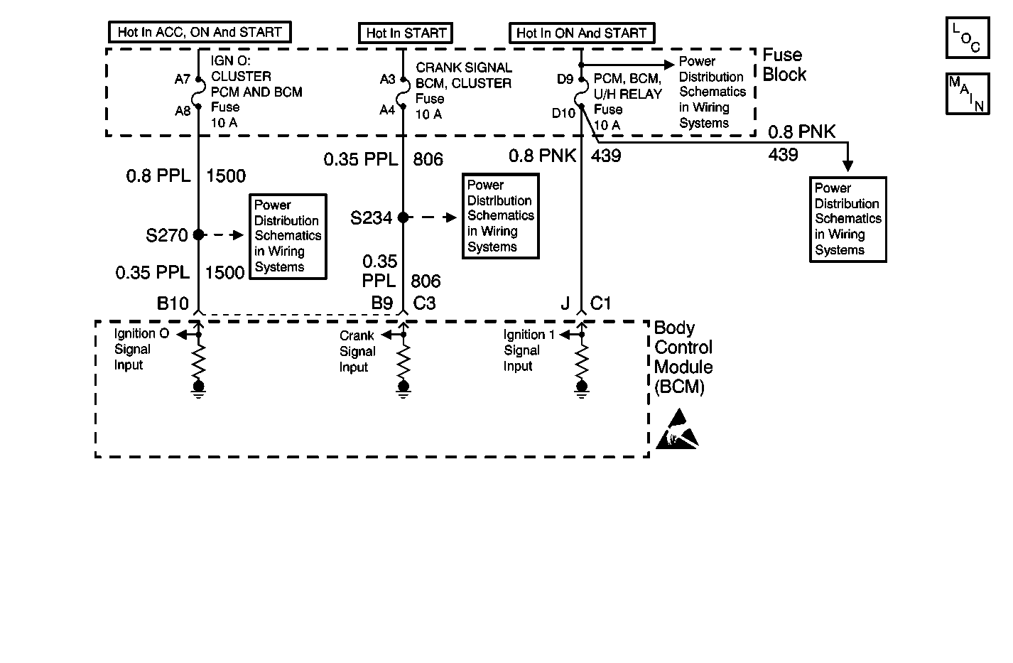
Object Number: 606945  Size: MF

Circuit Description

The BCM receives three voltage inputs. The BCM receives voltage from the (IGN 0, CLUSTER, PCM, and BCM fuse) circuit at all times except when the ignition switch is off. The BCM receives voltage from the (PCM, the BCM, and the U/H Relay fuse) circuit when the ignition switch is in the ON or START position. The BCM receives voltage from the (CRANK SIGNAL, BCM, CLUSTER) fuse through the crank circuit when the ignition switch is in the start position.

Conditions for Setting the DTC

The BCM sets DTC B1422 when detecting any of these conditions for more than 0.3 seconds:

    • Voltage in IGN 1 circuit is greater than 8 volts, and voltage in the IGN 0 circuit is less than 1.5 volts.
    • Voltage in crank circuit is greater than 4.5 volts, and voltage in the IGN 0 circuit is less than 1.5 volts.
    • Voltage in crank circuit is greater than 4.5 volts, and voltage in the IGN 1 circuit is less than 1.5 volts.

Action Taken When the DTC Sets

the BCM stores DTC B1422 in memory.

Conditions for Clearing the DTC

    • The BCM no longer detects an open or short to B+ in the IGN 1circuit, the IGN 0 circuit, or the crank circuit.
    • A history DTC will clear after 100 consecutive ignition cycles if the condition for the malfunction is no longer present.
    • Using a scan tool.

Diagnostic Aids

The following conditions may cause an intermittent malfunction to occur:

    • An intermittent open or short to B+ in the IGN 1circuit, the IGN 0 circuit, or the crank circuit..
    • Poor connections at the BCM, or the fuse block.

Test Description

The numbers below refer to the step numbers on the diagnostic table.

  1. This step tests for a short to ground in the crank circuit.

  2. This step tests for a short to ground in the IGN 0 circuit.

  3. This step tests for a short to B+ in the IGN 0 circuit.

  4. This step tests for an open in the IGN 1circuit.

  5. This step tests for a short to B+ in the crank circuit.

  6. This step tests for an open in the crank circuit.

  7. This step tests for a short to B+ in the IGN 0 circuit.

  8. This test tests for an open in the IGN 0 circuit.

  9. This test determines whether the malfunction is intermittent or whether the BCM is faulty.

Step

Action

Value(s)

Yes

No

1

Was the BCM Diagnostic System Check performed?

--

Go to Step 2

Go to Diagnostic System Check - Body Control System

2

Test the CRANK SIGNAL, BCM, CLUSTER fuse.

Is the CRANK SIGNAL, BCM, CLUSTER fuse open?

--

Go to Step 3

Go to Step 4

3

  1. Turn the ignition switch off.
  2. Replace the CRANK SIGNAL, BCM, CLUSTER fuse.
  3. Turn the ignition switch to the START position momentarily.
  4. IMPORTANT: The engine may start.

  5. Test the CRANK SIGNAL, BCM, CLUSTER fuse again.

Is the CRANK SIGNAL, BCM, CLUSTER fuse open again?

--

Go to Step 13

Go to Step 4

4

Test the IGN 0, CLUSTER, PCM, and BCM fuse.

Is the IGN 0, CLUSTER, PCM, and BCM fuse open?

--

Go to Step 5

Go to Step 6

5

  1. Turn the ignition switch off.
  2. Replace the IGN 0, CLUSTER, PCM, and BCM fuse.
  3. Turn the ignition switch on.
  4. Test the IGN 0, CLUSTER, PCM, and BCM fuse again.

Is the IGN 0, CLUSTER, PCM, and BCM fuse open again?

--

Go to Step 14

Go to Step 6

6

  1. Turn the ignition switch off.
  2. Using a test light, backprobe between the BCM IGN 1 circuit input and ground.

Does the test light stay off?

--

Go to Step 7

Go to Step 15

7

  1. Leave the test light connected from the previous step.
  2. Important: The engine may start.

  3. While observing the test light, turn the ignition switch on, then to the START position.
  4. Turn the ignition switch off.

Was the test light on with the ignition switch in the on and start position?

--

Go to Step 8

Go to Step 16

8

  1. Using a test lamp, backprobe between the BCM crank circuit input and ground.
  2. While observing the test lamp, turn the ignition switch from OFF to ON.

Did the test lamp stay off when turning the ignition switch from off to on?

--

Go to Step 9

Go to Step 17

9

  1. Leave the test lamp connected from the previous step.
  2. Important: The engine may start.

  3. Turn the ignition switch to the START position momentarily.
  4. Turn the ignition switch off.

Did the test lamp turn on when turning the ignition switch to START?

--

Go to Step 10

Go to Step 18

10

  1. Make sure the ignition switch is off.
  2. Using a test light, connect by backprobing between the BCM IGN 1 circuit input and ground.

Does the test lamp stay off?

--

Go to Step 11

Go to Step 19

11

  1. Leave the test light connected from the previous step.
  2. Important: The engine may start.

  3. While observing the test lamp. turn the ignition switch to ACC, then to ON, then to START.

Did the test light turn on with the ignition switch in the ACC, ON or START position?

--

Go to Step 12

Go to Step 20

12

  1. Turn the ignition switch on.
  2. Clear the BCM DTCs.
  3. Turn the ignition switch off.
  4. Wait 10 seconds.
  5. Turn the ignition switch on.
  6. Check for BCM DTCs.

Does DTC B1422 reset as a current DTC?

--

Go to Step 21

Go to Step 22

13

Repair short to ground in the crank circuit.

Is the repair complete?

--

Go to Step 23

--

14

Repair short to ground in the IGN 0 circuit.

Is the repair complete?

--

Go to Step 23

--

15

Repair short to voltage in the IGN 1 circuit.

Is the repair complete?

--

Go to Step 23

--

16

Repair poor connection or open in the IGN 1 circuit.

Is the repair complete

--

Go to Step 23

--

17

Repair short to voltage in the crank circuit or a faulty ignition switch.

Is the repair complete?

--

Go to Step 23

--

18

Repair poor connection or open in the crank circuit.

Is the repair complete?

--

Go to Step 23

--

19

Repair short to voltage in the IGN 0 circuit or a faulty ignition switch.

Is the repair complete?

--

Go to Step 23

--

20

Repair poor connection or open in the IGN 0 circuit.

Is the repair complete?

--

Go to Step 23

--

21

  1. Test the BCM connector C1 for poor connections. Refer to Testing for Intermittent Conditions and Poor Connections in Wiring Systems.
  2. If the connectors are OK, then replace the BCM. Refer to Body Control Module Replacement for more information.
  3. After replacing the BCM, perform the Setup new BCM procedure. Refer to Body Control Module (BCM) Programming/RPO Configuration for more information.

Is the repair complete?

--

Go to Step 23

--

22

The malfunction is not present at this time. Refer to Diagnostic Aids for additional information regarding this DTC.

Is the action complete?

--

Go to Step 23

--

23

  1. Turn the ignition switch off.
  2. Reinstall connectors/components removed.
  3. Turn the ignition switch on.
  4. Clear the BCM DTCs.
  5. Check for BCM DTCs.

Are there any BCM current DTCs set?

--

Go to Diagnostic System Check - Body Control System

System OK